HOT POINT ARISTON 7HDZ 20 GH RU/HA
Zeptejte se. Rádi poradíme.
Marek Proche
Zákaznická podpora
Po–Čt 8:00—17:00
Pá 8:00—15:00
poradna@servis-whirlpool.cz
| Komerční kód: | 7HDZ 20 GH RU/HA |
| Kód 12NC: | 869990689240 |
| I.C. kód: | AQ689240000 |
| Značka: | HOT POINT ARISTON |
| Typ produktu: | Vestavné trouby a varné desky |
Potřebujete servis? Jsme tady pro Vás
Nabídka náhradních dílů
| Číslo | Kód | Název | Cena | ||
|---|---|---|---|---|---|
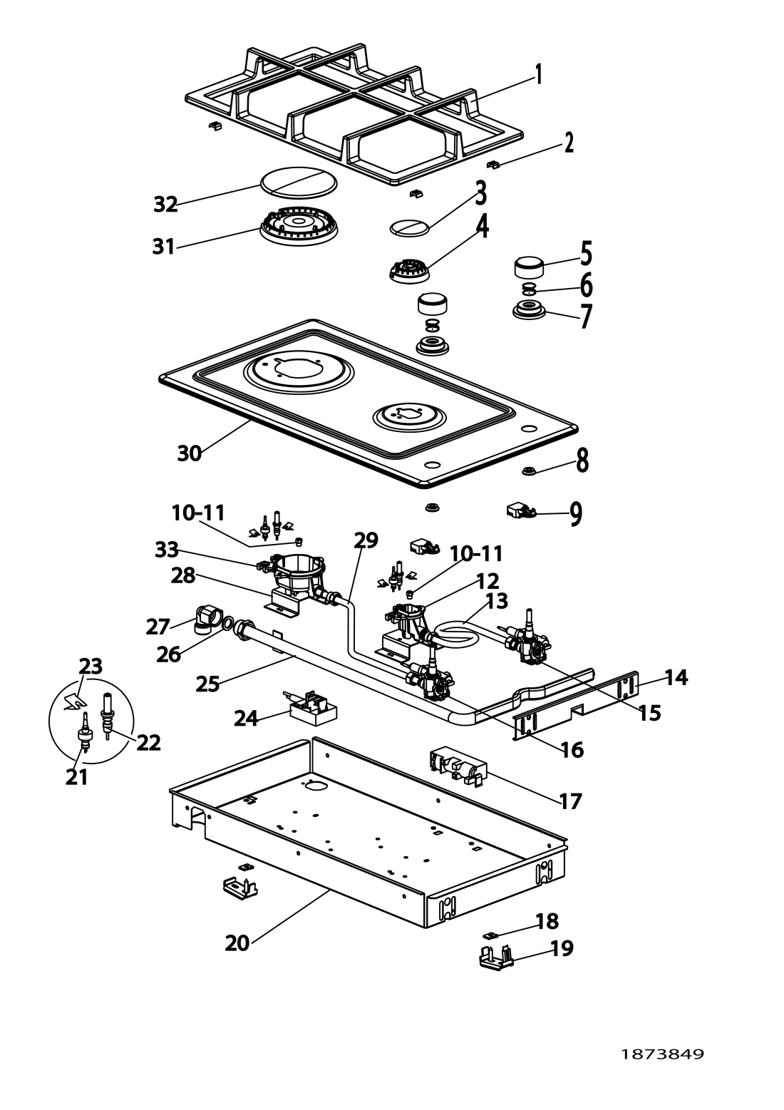
| 001 1873849 |
C00267669 | VAŘIDLOVÁ MŘÍŽKA LITINA 2 HOŘÁKY | Na dotaz | Zadat poptávku | |
| 002 1873849 |
C00267665 | RUBBER BUFFER - PAN GRID | Na dotaz | Zadat poptávku | |
| 003 1873849 |
C00267666
482000030864 |
KRYT HOŘÁKU POM. | Na dotaz | Zadat poptávku | |
| 004 1873849 |
C00267235
488000267235 |
HOŘÁK POMOCNÝ | Na dotaz | Zadat poptávku | |
| 005 1873849 |
C00267160
482000086108 |
OVLADAČ NEREZ | Na dotaz | Zadat poptávku | |
| 006 1873849 |
C00267162
482000086110 |
PRUŽINA KOTOUČE OVLADAČE | Na dotaz | Zadat poptávku | |
| 007 1873849 |
C00267164
482000086111 |
DISK PODOVLADAČ INOX | Na dotaz | Zadat poptávku | |
| 008 1873849 |
C00277038
480121102445 |
Kroužek spínače zapalování | Na dotaz | Zadat poptávku | |
| 009 1873849 |
C00279603
482000031453 |
IGNITION MICROSWITCH 2 DOMINO | Na dotaz | Zadat poptávku | |
| 010 1873849 |
C00267219
481231038825 |
TRYSKA D=50 GPL | Na dotaz | Zadat poptávku | |
| 010 1873849 |
C00267218
481231038826 |
TRYSKA D= 87 GPL | Na dotaz | Zadat poptávku | |
| 011 1873849 |
C00267215
481231038823 |
TRYSKA D= 77 GN | Na dotaz | Zadat poptávku | |
| 011 1873849 |
C00267216
481231038824 |
TRYSKA D= 129 GN | Na dotaz | Zadat poptávku | |
| 012 1873849 |
C00267233
488000267233 |
KRYT HOŘÁK POMOC. | Na dotaz | Zadat poptávku | |
| 013 1873849 |
C00267206
482000021793 |
SEMI-RAPID BURNER SUPPLY PIPE | Na dotaz | Zadat poptávku | |
| 014 1873849 |
C00113521 | TAP FIXING PLATE DOMINO | Na dotaz | Zadat poptávku | |
| 015 1873849 |
C00280269 | BURNER TAP BY-PASS 0,34 | Na dotaz | Zadat poptávku | |
| 016 1873849 |
C00279610
488000279610 |
BURNER TAP BY-PASS 0,43 | Na dotaz | Zadat poptávku | |
| 017 1873849 |
C00081715
480121102446 |
SPARK IGNITION TRANSFORMER | Na dotaz | Zadat poptávku | |
| 018 1873849 |
C00045235
481231038832 |
spona | Na dotaz | Zadat poptávku | |
| 019 1873849 |
C00113469
481240478832 |
FIXING BRACKET | Na dotaz | Zadat poptávku | |
| 020 1873849 |
C00267226 | BASE COVER TRAY | Na dotaz | Zadat poptávku | |
| 021 1873849 |
C00267240
482000091015 |
TERMOČLÁNEK DLOUHÝ 600 MM | Na dotaz | Zadat poptávku | |
| 022 1873849 |
C00267221
482000030844 |
ZAPALOVACÍ SVÍČKA VARNÉ DESKY H30 D=500 | Na dotaz | Zadat poptávku | |
| 023 1873849 |
C00267205
481244048355 |
SPRING | Na dotaz | Zadat poptávku | |
| 024 1873849 |
C00275544
488000275544 |
TERMINAL BLOCK | Na dotaz | Zadat poptávku | |
| 025 1873849 |
C00113523
482000021792 |
MAIN GAS PIPE MG32S | Na dotaz | Zadat poptávku | |
| 026 1873849 |
C00057243
482000090701 |
SEALING WASHER-GAS ELBOW/PIPE | Na dotaz | Zadat poptávku | |
| 027 1873849 |
C00057210
488000057210 |
GAS PIPE ELBOW 1/2" GAS | Na dotaz | Zadat poptávku | |
| 028 1873849 |
C00267204 | FLASK DOMINO | Na dotaz | Zadat poptávku | |
| 029 1873849 |
C00267207
482000021794 |
REAR BURNER SUPPLY PIPE DOMINO | Na dotaz | Zadat poptávku | |
| 030 1873849 |
C00267225 | SPILLAGE TRAY -2F.STAINLESS STEEL | Na dotaz | Zadat poptávku | |
| 031 1873849 |
C00267236
488000267236 |
HOŘÁK RYCHLÝ | Na dotaz | Zadat poptávku | |
| 032 1873849 |
C00267667
488000267667 |
KRYT HOŘÁKU RYCHLÉHO | Na dotaz | Zadat poptávku | |
| 033 1873849 |
C00267234 | KRYT HOŘÁK RYCHLÝ | Na dotaz | Zadat poptávku | |