WHIRLPOOL ACM 820/BA
Zeptejte se. Rádi poradíme.
Marek Proche

Marek Proche
Zákaznická podpora

227 191 733

Po–Čt 8:00—17:00
Pá 8:00—15:00

poradna@servis-whirlpool.cz

Položit dotaz

Komerční kód: ACM 820/BA
Kód 12NC/I.C. kód: 855782001000
Značka: WHIRLPOOL
Typ produktu:Vestavné trouby a varné desky
Další podobné modely:61011290000, 769991011292

Potřebujete servis? Jsme tady pro Vás

Nabídka náhradních dílů

Číslo Kód Název Cena    
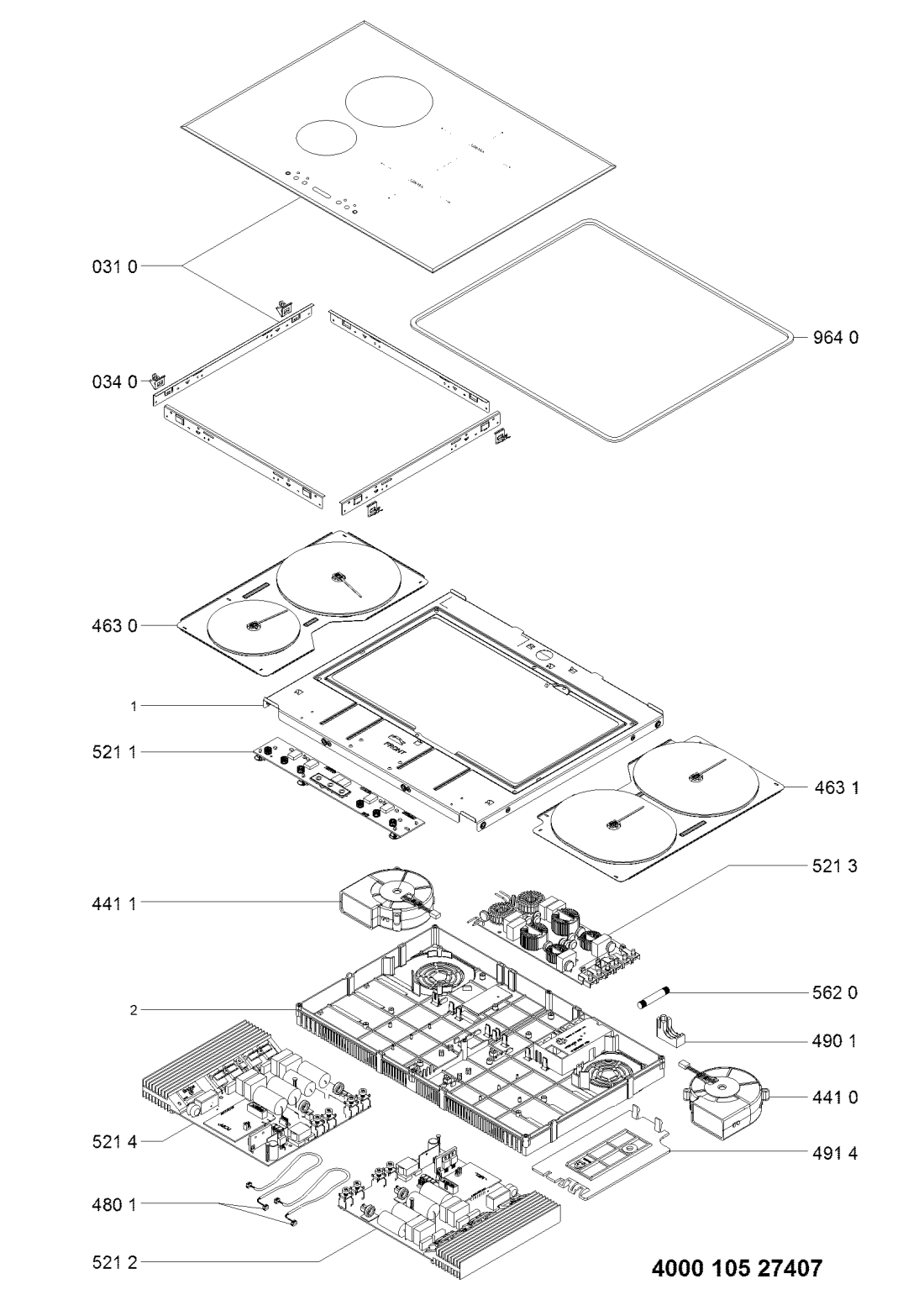
0310
WHR27794
C00440423
481010527557
Hob assembly BA Na dotaz Zadat poptávku
0340
WHR27794
C00313536
481010420949
Clamping spring Artemis (4pcs) Na dotaz Zadat poptávku
4410
WHR27794
C00313329
480121100062
Chladící ventilátor pravý indukční desky Whirlpool 2 436 Kč
€ 100.10
4411
WHR27794
C00312898
480121100063
Chladící ventilátor levý indukční desky Whirlpool 2 112 Kč
€ 86.80
4630
WHR27794
C00313346
481010404923
Heating element left/right 145-210mm Na dotaz Zadat poptávku
4631
WHR27794
C00324247
481010419236
plotna indukcni 4 451 Kč
€ 182.90
4801
WHR27794
C00311462
480121100066
Kabelový svazek elektroniky indukční desky Whirlpool 772 Kč
€ 31.70
4901
WHR27794
C00321795
480121100057
Cable holder - G7 induction Na dotaz Zadat poptávku
4914
WHR27794
C00316550
480121100056
Kryt svorkovnice 882 Kč
€ 36.30
5211
WHR27794
C00343172
481010492993
Control unit Artemis 2 Na dotaz Zadat poptávku
5212
WHR27794
C00313234
481010395258
Řídící jednotka G7 SS 7 kW indukční varné desky Whirlpool 4 664 Kč
€ 191.70
5213
WHR27794
C00313051
481061522183
Síťový filtr indukční varné desky Whirlpool 3 697 Kč
€ 152.00
5214
WHR27794
C00313133
481010395257
Jednotka G7 4 664 Kč
€ 191.70
5620
WHR27794
C00313067
480121102363
pojistka F.25A/250V 343 Kč
€ 14.10
9640
WHR27794
C00311601
481246688967
Gasket Na dotaz Zadat poptávku
Autorizované servisní centrum

Veškerý servis rodiny Whirlpool

Kamenná prodejna a sklad

Otevřená 5 dní v týdnu

Originální díly a příslušenství

Veškeré zboží přímo od výrobce

Odborný personál

Pomůžeme lajkům i odborníkům

Jednou za čas posíláme informace o speciální akcích, slevách a výprodejích. Nudné a zbytečné obchodní e-maily neposíláme.

×