WHIRLPOOL ACM 877/BA/IXL
Zeptejte se. Rádi poradíme.
Marek Proche

Marek Proche
Zákaznická podpora

227 191 733

Po–Čt 8:00—17:00
Pá 8:00—15:00

poradna@servis-whirlpool.cz

Položit dotaz

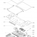
Komerční kód: ACM 877/BA/IXL
Kód 12NC/I.C. kód: 855787701000
Značka: WHIRLPOOL
Typ produktu:Vestavné trouby a varné desky
Další podobné modely:61014120000

Potřebujete servis? Jsme tady pro Vás

Nabídka náhradních dílů

Číslo Kód Název Cena    
0310
WHR27860
C00398239
481010783850
Sklo varné desky Na dotaz Zadat poptávku
0340
WHR27860
C00317231
481010751052
Plíšky k uchycení desky Na dotaz Zadat poptávku
4410
WHR27860
C00313329
480121100062
Chladící ventilátor pravý indukční desky Whirlpool 2 436 Kč
€ 100.10
4411
WHR27860
C00312898
480121100063
Chladící ventilátor levý indukční desky Whirlpool 2 112 Kč
€ 86.80
4630
WHR27860
C00319635
481010404912
Heating element 145mm 1800/1200W Na dotaz Zadat poptávku
4631
WHR27860
C00326015
481010671434
Heating element 180-180mm Oval Na dotaz Zadat poptávku
4632
WHR27860
C00324182
481010404913
Heating element 210mm 2200/3000W Na dotaz Zadat poptávku
4801
WHR27860
C00311462
480121100066
Kabelový svazek elektroniky indukční desky Whirlpool 772 Kč
€ 31.70
4900
WHR27860
C00321451
480122101931
Síťový napájecí kabel indukční varné desky Whirlpool 1 013 Kč
€ 41.60
4901
WHR27860
C00321795
480121100057
Cable holder - G7 induction Na dotaz Zadat poptávku
4914
WHR27860
C00316550
480121100056
Kryt svorkovnice 882 Kč
€ 36.30
5211
WHR27860
C00374883
481010676096
Control unit Ulysses 4B G7 Na dotaz Zadat poptávku
5212
WHR27860
C00345239
481010692849
modul G8 3 478 Kč
€ 143.00
5213
WHR27860
C00313051
481061522183
Síťový filtr indukční varné desky Whirlpool 3 697 Kč
€ 152.00
5214
WHR27860
C00380897
481010692847
Power unit G8 Minus SL Na dotaz Zadat poptávku
5620
WHR27860
C00313067
480121102363
pojistka F.25A/250V 343 Kč
€ 14.10
9640
WHR27860
C00311601
481246688967
Gasket Na dotaz Zadat poptávku
Autorizované servisní centrum

Veškerý servis rodiny Whirlpool

Kamenná prodejna a sklad

Otevřená 5 dní v týdnu

Originální díly a příslušenství

Veškeré zboží přímo od výrobce

Odborný personál

Pomůžeme lajkům i odborníkům

Jednou za čas posíláme informace o speciální akcích, slevách a výprodejích. Nudné a zbytečné obchodní e-maily neposíláme.

×