WHIRLPOOL AFG 524-C/H
 
             
                
    Zeptejte se. Rádi poradíme.
    
        
            
                
                     
              
        
        
            
    
    
             
            Marek Proche
                    
Zákaznická podpora
            
Po–Čt 8:00—17:00
                
Pá 8:00—15:00             
            
        
            
        poradna@servis-whirlpool.cz     
    
    
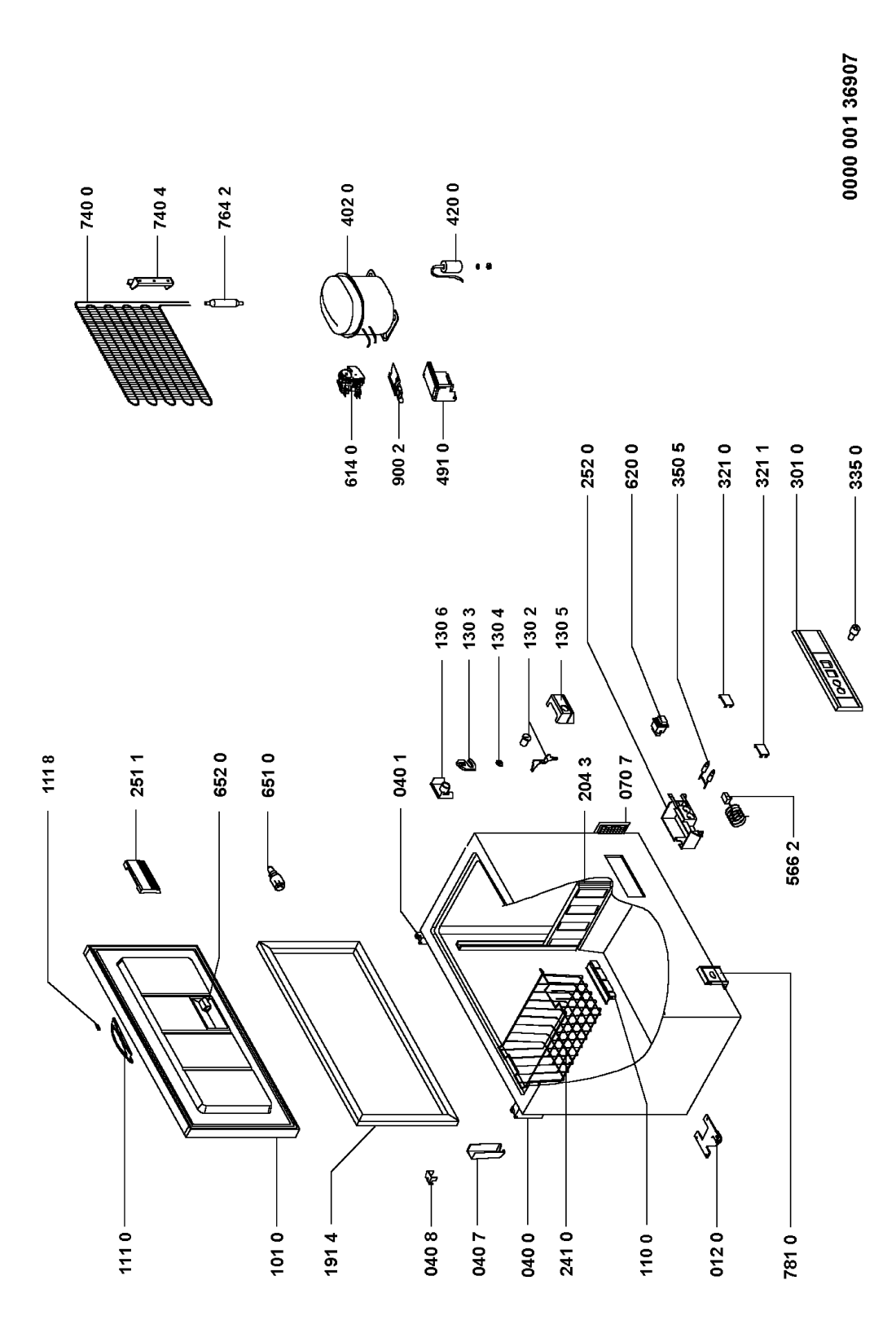
| Komerční kód: | AFG 524-C/H | 
| Kód 12NC: | 854952410000 | 
| I.C. kód: | 854952410005 | 
| Značka: | WHIRLPOOL | 
| Typ produktu: | Volně stojící mrazáky | 
| Další podobné modely: | 854952410000, 854952410004, 854952410001, 854952410002, 854952410003 | 
Potřebujete servis? Jsme tady pro Vás
Nabídka náhradních dílů
| Číslo | Kód | Název | Cena | ||
|---|---|---|---|---|---|
| 012 0 WHR79938 | C00333277 481952878036 | kolecko | Na dotaz | Zadat poptávku | |
| 040 0 WHR79938 | C00315589 481941719583 | Hinge | Na dotaz | Zadat poptávku | |
| 040 1 WHR79938 | C00316389 481241719242 | Hinge | Na dotaz | Zadat poptávku | |
| 040 7 WHR79938 | C00266543 481946258187 | Kryt závěsu | 529 Kč € 21.70 | ||
| 040 8 WHR79938 | C00313549 481946258354 | Kryt závěsu | 389 Kč € 16.00 | ||
| 070 7 WHR79938 | C00331401 481245298224 | mrizka vetraci prodej ukončen | Na dotaz | Zadat poptávku | |
| 101 0 WHR79938 | C00486586 481944269282 | DVERE -VEKO AFG527 PLAST. N | Na dotaz | Zadat poptávku | |
| 110 0 WHR79938 | C00621264 481949878155 | NAHRADENE 481246268962 | Na dotaz | Zadat poptávku | |
| 111 0 WHR79938 | C00339031 481949878464 | rukojet dveri | Na dotaz | Zadat poptávku | |
| 111 8 WHR79938 | C00333112 481946288135 | krytka rukojete | Na dotaz | Zadat poptávku | |
| 130 2 WHR79938 | C00318089 481241738022 | zamek+klic | Na dotaz | Zadat poptávku | |
| 130 3 WHR79938 | C00317298 481940118332 | hak uzamykaci | 245 Kč € 10.00 | ||
| 130 4 WHR79938 | C00317414 481953258291 | podlozka | Na dotaz | Zadat poptávku | |
| 130 5 WHR79938 | C00319207 481246048993 | kryt zamku | Na dotaz | Zadat poptávku | |
| 130 6 WHR79938 | C00335910 481940479522 | drzak | Na dotaz | Zadat poptávku | |
| 191 4 WHR79938 | C00315619 481946818196 | Těsnění do dveří truhlicového mrazáku Whirlpool, Ignis | 1 654 Kč € 67.80 | ||
| 204 3 WHR79938 | C00333040 481944278468 | pricka rozdelovaci | 178 Kč € 7.30 | ||
| 241 0 WHR79938 | C00316801 481945868204 | Koš mrazáku | Na dotaz | Zadat poptávku | |
| 251 1 WHR79938 | C00374322 481938118262 | Cover lamp | Na dotaz | Zadat poptávku | |
| 252 0 WHR79938 | C00328305 481244078989 | Casing | Na dotaz | Zadat poptávku | |
| 301 0 WHR79938 | C00313844 481945948917 | Control panel | Na dotaz | Zadat poptávku | |
| 321 0 WHR79938 | C00332900 481938118108 | stinidlo signalky | 53 Kč € 2.20 | ||
| 321 1 WHR79938 | C00332903 481938118246 | KRYT SIGNALKY ZELENÝ | Na dotaz | Zadat poptávku | |
| 335 0 WHR79938 | C00332970 481941128789 | knoflik termostatu | Na dotaz | Zadat poptávku | |
| 350 5 WHR79938 | C00498804 481913448513 | NAHRADA 481213448371 | Na dotaz | Zadat poptávku | |
| 402 0 WHR79938 | C00498951 481936038704 | nahradene 481281718829 | Na dotaz | Zadat poptávku | |
| 420 0 WHR79938 | C00326749 481212028022 | Capacitor 4mf | Na dotaz | Zadat poptávku | |
| 491 0 WHR79938 | C00267000 481229088084 | KRYT PLAST | Na dotaz | Zadat poptávku | |
| 566 2 WHR79938 | C00313891 481927128766 | termostat A04 | Na dotaz | Zadat poptávku | |
| 614 0 WHR79938 | C00327443 481228028035 | PTC-Unit | Na dotaz | Zadat poptávku | |
| 620 0 WHR79938 | C00332843 481927618332 | Switch | Na dotaz | Zadat poptávku | |
| 651 0 WHR79938 | C00563962 488000563962 | Žárovka LED 0,6W E14 | 372 Kč € 15.30 | ||
| 652 0 WHR79938 | C00266730 481225518275 | Objímka žárovky osvětlení mrazáku Whirlpool, Indesit | 143 Kč € 5.90 | ||
| 740 0 WHR79938 | C00333250 481951148629 | Condenser | Na dotaz | Zadat poptávku | |
| 740 4 WHR79938 | C00266732 481940479545 | DRZIAK CHLADICA AFG527 N | Na dotaz | Zadat poptávku | |
| 764 2 WHR79938 | C00266743 481948028144 | Filtr chladničky - patrona Náhrada C00495431 | Na dotaz | Zadat poptávku | |
| 781 0 WHR79938 | C00333111 481946288134 | kanalek vytoku | Na dotaz | Zadat poptávku | |
| 900 2 WHR79938 | C00330476 481246228261 | pruchodka | Na dotaz | Zadat poptávku | |
| 999 WHR79938 | C00709653 | Circuit/Wiring Diagram WHP | Na dotaz | Zadat poptávku | |