WHIRLPOOL AFG 8191
Zeptejte se. Rádi poradíme.
Marek Proche
Zákaznická podpora
Po–Čt 8:00—17:00
Pá 8:00—15:00
poradna@servis-whirlpool.cz
| Komerční kód: | AFG 8191 |
| Kód 12NC/I.C. kód: | 854981961000 |
| Značka: | WHIRLPOOL |
| Typ produktu: | Volně stojící mrazáky |
Potřebujete servis? Jsme tady pro Vás
Nabídka náhradních dílů
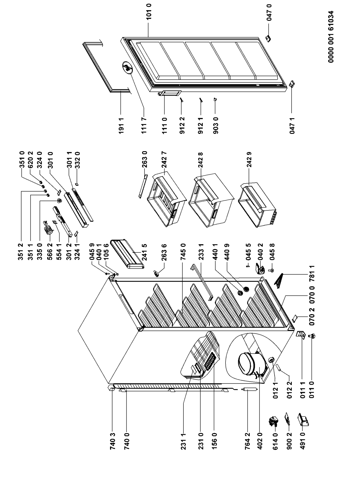
| Číslo | Kód | Název | Cena | ||
|---|---|---|---|---|---|
| 011 0 WHR25638 |
C00330462
481246218296 |
Foot | Na dotaz | Zadat poptávku | |
| 011 1 WHR25638 |
C00319501
481246248399 |
Foot support | Na dotaz | Zadat poptávku | |
| 012 1 WHR25638 |
C00330460
481246218292 |
kolecko zadni | Na dotaz | Zadat poptávku | |
| 012 2 WHR25638 |
C00333340
481953538013 |
osa kolecka lednice | 19 Kč
€ 0.80 |
||
| 040 1 WHR25638 |
C00314777
481941719619 |
zaves horni | 574 Kč
€ 23.70 |
||
| 040 2 WHR25638 |
C00314779
481941719627 |
Závěs spodní | Na dotaz | Zadat poptávku | |
| 045 5 WHR25638 |
C00317184
481253598111 |
Čep spodního závěsu dveří mrazáku Whirlpool | 61 Kč
€ 2.50 |
||
| 045 8 WHR25638 |
C00313804
481253598112 |
kolik | 70 Kč
€ 2.90 |
||
| 045 9 WHR25638 |
C00314415
481253598113 |
Pivot | Na dotaz | Zadat poptávku | |
| 047 0 WHR25638 |
C00317578
481244688142 |
Pouzdro dveří levé | Na dotaz | Zadat poptávku | |
| 047 1 WHR25638 |
C00333330
481953268862 |
drzak dveri pravy | 405 Kč
€ 16.70 |
||
| 070 0 WHR25638 |
C00314122
481244269324 |
Sokl | 1 158 Kč
€ 47.70 |
||
| 070 2 WHR25638 |
C00330270
481246049421 |
kryt | Na dotaz | Zadat poptávku | |
| 101 0 WHR25638 |
C00458238
481241610383 |
Door freezer | Na dotaz | Zadat poptávku | |
| 105 6 WHR25638 |
C00314341
481244688139 |
Bushing | Na dotaz | Zadat poptávku | |
| 111 0 WHR25638 |
C00374010
481246268881 |
rukojet dveri kov. | Na dotaz | Zadat poptávku | |
| 111 7 WHR25638 |
C00480209
481245918218 |
logo Whirlpool | Na dotaz | Zadat poptávku | |
| 156 0 WHR25638 |
C00333002
481941848116 |
NÁDOBKA NA LED | Na dotaz | Zadat poptávku | |
| 191 1 WHR25638 |
C00331581
481246818294 |
Těsnění magnetické do dveří šuplíkového mrazáku Whirlpool | 2 579 Kč
€ 106.30 |
||
| 231 0 WHR25638 |
C00333130
481946689227 |
BRACKET THERMOSTAT SENSOR CPL. | Na dotaz | Zadat poptávku | |
| 231 1 WHR25638 |
C00333126
481946688956 |
PLATE THERMOSTAT SENSOR | Na dotaz | Zadat poptávku | |
| 233 1 WHR25638 |
C00330403
481246079116 |
Přední krycí lišta výparníku mrazáku Whirlpool | 161 Kč
€ 6.60 |
||
| 241 5 WHR25638 |
C00320711
480132100176 |
Dvířka mrazícího oddělení mrazáku Whirlpool | 1 076 Kč
€ 44.30 |
||
| 242 7 WHR25638 |
C00320695
481241868457 |
kos mraznicky | Na dotaz | Zadat poptávku | |
| 242 8 WHR25638 |
C00317101
481241868455 |
Drawer | Na dotaz | Zadat poptávku | |
| 242 9 WHR25638 |
C00314544
481241868454 |
zásuvka | Na dotaz | Zadat poptávku | |
| 263 0 WHR25638 |
C00330648
481246238165 |
Lišta vodící | 393 Kč
€ 16.20 |
||
| 263 6 WHR25638 |
C00311949
481240449879 |
Kolík závěsu/čep dvířek mrazáku Whirlpool | 35 Kč
€ 1.40 |
||
| 301 0 WHR25638 |
C00461647
481245228866 |
panel ovladací | Na dotaz | Zadat poptávku | |
| 301 1 WHR25638 |
C00331298
481245228534 |
VLOZKA | Na dotaz | Zadat poptávku | |
| 301 2 WHR25638 |
C00331296
481245228441 |
panel | Na dotaz | Zadat poptávku | |
| 324 0 WHR25638 |
C00330273
481246049425 |
Insert | Na dotaz | Zadat poptávku | |
| 324 1 WHR25638 |
C00330274
481246049426 |
Insert | Na dotaz | Zadat poptávku | |
| 332 0 WHR25638 |
C00330275
481246049431 |
Button | Na dotaz | Zadat poptávku | |
| 335 0 WHR25638 |
C00329409
481241168011 |
Knoflík termostatu | Na dotaz | Zadat poptávku | |
| 351 0 WHR25638 |
C00315545
481913448298 |
signalka zelena | 404 Kč
€ 16.60 |
||
| 351 1 WHR25638 |
C00332810
481913448297 |
signalka zluta | Na dotaz | Zadat poptávku | |
| 351 2 WHR25638 |
C00332809
481913448296 |
signalka cervena | 77 Kč
€ 3.20 |
||
| 402 0 WHR25638 |
C00313368
481281718829 |
COMPRESSOR EMT46CLP 1/6HP R600 S.P. | Na dotaz | Zadat poptávku | |
| 440 1 WHR25638 |
C00328947
481240148586 |
Držák | 86 Kč
€ 3.50 |
||
| 440 9 WHR25638 |
C00331592
481246818359 |
Stopper | Na dotaz | Zadat poptávku | |
| 491 0 WHR25638 |
C00267000
481229088084 |
KRYT PLAST | Na dotaz | Zadat poptávku | |
| 554 1 WHR25638 |
C00333185
481949268723 |
pruzina | 248 Kč
€ 10.20 |
||
| 566 2 WHR25638 |
C00327554
481228238238 |
Termostat RK56 L....32U1501 chladničky Whirlpool | 1 420 Kč
€ 58.50 |
||
| 614 0 WHR25638 |
C00267002
481228038093 |
ptc-jednotka | 1 139 Kč
€ 46.90 |
||
| 620 2 WHR25638 |
C00319478
481927618256 |
spinac rychlorozmraz | Na dotaz | Zadat poptávku | |
| 740 0 WHR25638 |
C00332253
481251148436 |
Condenser | Na dotaz | Zadat poptávku | |
| 740 3 WHR25638 |
C00333329
481953268859 |
Spacer | Na dotaz | Zadat poptávku | |
| 745 0 WHR25638 |
C00332261
481251148462 |
výparník | Na dotaz | Zadat poptávku | |
| 764 2 WHR25638 |
C00266743
481948028144 |
Filtr chladničky - patrona Náhrada C00495431 |
Na dotaz | Zadat poptávku | |
| 781 1 WHR25638 |
C00329262
481240488069 |
Kanál odtokový | 534 Kč
€ 22.00 |
||
| 900 2 WHR25638 |
C00267004
481229088112 |
konektor | 85 Kč
€ 3.50 |
||
| 903 0 WHR25638 |
C00319367
481246228507 |
Záslepka | Na dotaz | Zadat poptávku | |
| 912 1 WHR25638 |
C00317062
481250218425 |
SCREW HANDLE WHITE | Na dotaz | Zadat poptávku | |
| 912 2 WHR25638 |
C00333223
481950218494 |
Screw | Na dotaz | Zadat poptávku | |
| 993 9 WHR25638 |
C00327380
481231028228 |
Accessories not shown | Na dotaz | Zadat poptávku | |