WHIRLPOOL AGB 653/DP Dishwasher square basis+DP
Zeptejte se. Rádi poradíme.
Marek Proche
Zákaznická podpora
Po–Čt 8:00—17:00
Pá 8:00—15:00
poradna@servis-whirlpool.cz
| Komerční kód: | AGB 653/DP Dishwasher square basis+DP |
| Kód 12NC/I.C. kód: | 851265315000 |
| Značka: | WHIRLPOOL |
| Typ produktu: | Profesionální domácí čištění |
Potřebujete servis? Jsme tady pro Vás
Nabídka náhradních dílů
| Číslo | Kód | Název | Cena | ||
|---|---|---|---|---|---|
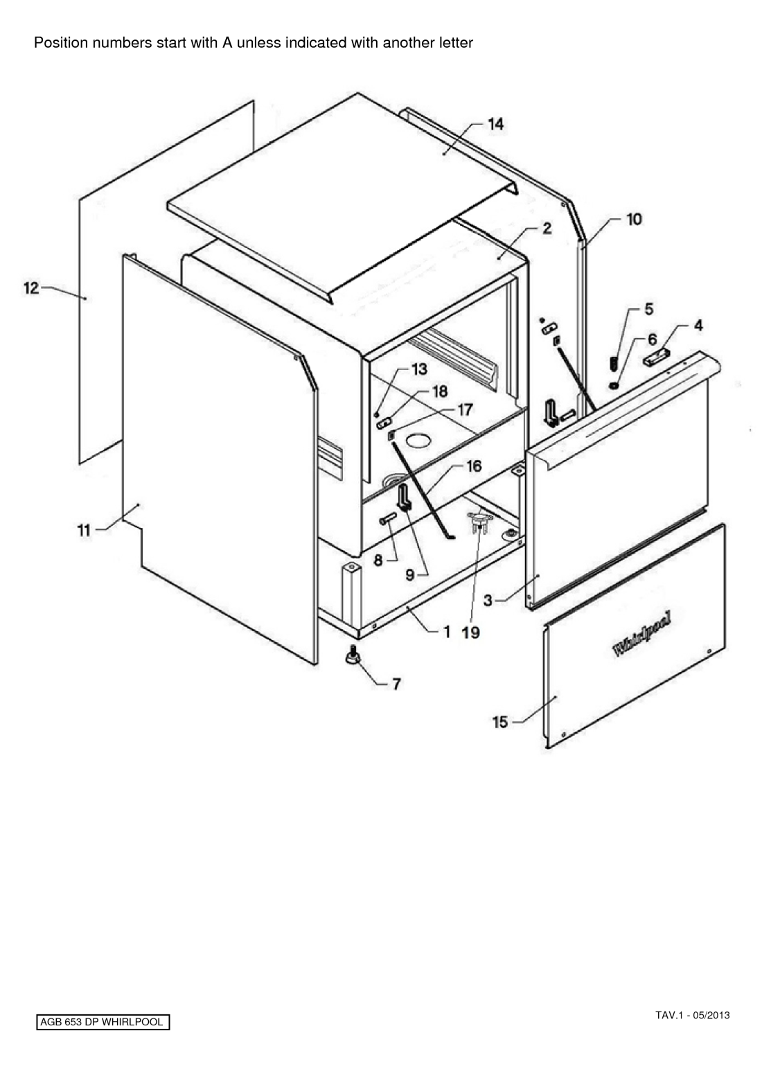
| A01 WHR19823 |
C00423470
483286011295 |
Frame kickplate | Na dotaz | Zadat poptávku | |
| A02 WHR19823 |
C00423500
483286011328 |
Tub | Na dotaz | Zadat poptávku | |
| A03 WHR19823 |
C00423265
483286011067 |
Door | Na dotaz | Zadat poptávku | |
| A04 WHR19823 |
C00338315
483286008861 |
Magnet ,cover | Na dotaz | Zadat poptávku | |
| A05 WHR19823 |
C00342109
483286008118 |
Door catch | Na dotaz | Zadat poptávku | |
| A06 WHR19823 |
C00338000
483286008119 |
Nut catch | Na dotaz | Zadat poptávku | |
| A07 WHR19823 |
C00423471
483286011296 |
Fastener Rubber leg | Na dotaz | Zadat poptávku | |
| A08 WHR19823 |
C00341442
483286008121 |
Pin hinge | Na dotaz | Zadat poptávku | |
| A09 WHR19823 |
C00339856
483286008122 |
Hinge | Na dotaz | Zadat poptávku | |
| A10 WHR19823 |
C00413092
482000012766 |
Side panel N700 SX 304 2012incl | Na dotaz | Zadat poptávku | |
| A11 WHR19823 |
C00413093
482000012767 |
Side panel N700 DX 304 2012incl | Na dotaz | Zadat poptávku | |
| A12 WHR19823 |
C00423474
483286011299 |
Panel rear | Na dotaz | Zadat poptávku | |
| A13 WHR19823 |
C00338037
483286008135 |
Nut ATB M6 | Na dotaz | Zadat poptávku | |
| A14 WHR19823 |
C00413094
482000012768 |
Panel top N700/N700B INC. 304 2010 | Na dotaz | Zadat poptávku | |
| A15 WHR19823 |
C00423475
483286011301 |
Panel front | Na dotaz | Zadat poptávku | |
| A16 WHR19823 |
C00335460
483286008131 |
tyč spojovací | Na dotaz | Zadat poptávku | |
| A17 WHR19823 |
C00337753
483286008133 |
Plate tie rod | Na dotaz | Zadat poptávku | |
| A18 WHR19823 |
C00344331
483286008134 |
Bolt | Na dotaz | Zadat poptávku | |
| A19 WHR19823 |
C00423467
483286011292 |
Thermostat | Na dotaz | Zadat poptávku | |
| B01 WHR19823 |
C00497210
483286000136 |
Water softener | Na dotaz | Zadat poptávku | |
| B02 WHR19823 |
C00423529
483286011362 |
Lid | Na dotaz | Zadat poptávku | |
| B03 WHR19823 |
C00524005
483286000134 |
Nut | Na dotaz | Zadat poptávku | |
| B04 WHR19823 |
C00524006
483286000135 |
Gasket | Na dotaz | Zadat poptávku | |
| B05 WHR19823 |
C00524004
483286000132 |
Container ,SALT | Na dotaz | Zadat poptávku | |
| B06 WHR19823 |
C00423478
483286011304 |
Boiler | Na dotaz | Zadat poptávku | |
| B07 WHR19823 |
C00335524
483286008871 |
Teermostat myčky nádobí Whirlpool | 1 213 Kč
€ 49.90 |
||
| B08 WHR19823 |
C00338536
483286008153 |
Knob | Na dotaz | Zadat poptávku | |
| B09 WHR19823 |
C00501036
483286000124 |
Topení myčky AGB | 3 238 Kč
€ 133.20 |
||
| B10 WHR19823 |
C00423469
483286011294 |
Thermostat | Na dotaz | Zadat poptávku | |
| B11 WHR19823 |
C00423477
483286011303 |
T-adapter | Na dotaz | Zadat poptávku | |
| B12 WHR19823 |
C00318788
483286008816 |
Dávkovač oplachu | 1 779 Kč
€ 73.20 |
||
| B13 WHR19823 |
C00339444
483286008155 |
TRANSPARENT HOSE 4X7 length 1 m | Na dotaz | Zadat poptávku | |
| B14 WHR19823 |
C00421486
483286003391 |
Filter, weight DET./BRILL. | Na dotaz | Zadat poptávku | |
| B15 WHR19823 |
C00413095
482000012769 |
Dispencer detergent PERIST. SEKO | Na dotaz | Zadat poptávku | |
| B16 WHR19823 |
C00497100
483286000996 |
Pipe | Na dotaz | Zadat poptávku | |
| B17 WHR19823 |
C00335614
483286008166 |
T-adapter | Na dotaz | Zadat poptávku | |
| B18 WHR19823 |
C00339400
483286008798 |
Hose ,pressostat | Na dotaz | Zadat poptávku | |
| B19 WHR19823 |
C00413096
482000012770 |
Inlet valve 2way red. | Na dotaz | Zadat poptávku | |
| B20 WHR19823 |
C00344923
482000012771 |
Hose inlet 90° 1500mm S 800 HW | Na dotaz | Zadat poptávku | |
| B21 WHR19823 |
C00413097
482000012772 |
Nut ATB 5 | Na dotaz | Zadat poptávku | |
| B22 WHR19823 |
C00413098
482000012773 |
Podložka | 889 Kč
€ 36.60 |
||
| B23 WHR19823 |
C00413099
482000012774 |
Těsnění | 1 560 Kč
€ 64.20 |
||
| B24 WHR19823 |
C00413100
482000012775 |
Fitting Detergent INOX - Inlet tank | 2 017 Kč
€ 83.00 |
||
| C01 WHR19823 |
C00500555
483286008886 |
Pipe ,outlet upper. | Na dotaz | Zadat poptávku | |
| C02 WHR19823 |
C00423493
483286011321 |
Kolík | 1 406 Kč
€ 57.80 |
||
| C03 WHR19823 |
C00413101
482000012776 |
Filter N700 PS_E50_E45 | Na dotaz | Zadat poptávku | |
| C04 WHR19823 |
C00517733
483286008881 |
Pipe | Na dotaz | Zadat poptávku | |
| C05 WHR19823 |
C00413102
482000012777 |
Pipe N750_E50_E45 | Na dotaz | Zadat poptávku | |
| C06 WHR19823 |
C00373912
483286008878 |
Čerpadlo | 6 422 Kč
€ 264.10 |
||
| C07 WHR19823 |
C00497216
483286008165 |
Hose draining | Na dotaz | Zadat poptávku | |
| C08 WHR19823 |
C00423496
483286011324 |
Water collector | Na dotaz | Zadat poptávku | |
| C09 WHR19823 |
C00517759
483286008948 |
Gasket | Na dotaz | Zadat poptávku | |
| C10 WHR19823 |
C00413103
482000012778 |
Pipe N750-E50 | Na dotaz | Zadat poptávku | |
| C11 WHR19823 |
C00339181
483286008806 |
Hub ,washing/rinse | Na dotaz | Zadat poptávku | |
| C12 WHR19823 |
C00340175
483286008807 |
Guide | Na dotaz | Zadat poptávku | |
| C13 WHR19823 |
C00500402
483286008889 |
Spacer | Na dotaz | Zadat poptávku | |
| C14 WHR19823 |
C00341423
483286008811 |
Pipe ,fitting | Na dotaz | Zadat poptávku | |
| C15 WHR19823 |
C00337242
483286008809 |
Washer | Na dotaz | Zadat poptávku | |
| C16 WHR19823 |
C00501118
483286008884 |
Stopper | Na dotaz | Zadat poptávku | |
| C17 WHR19823 |
C00517736
483286008887 |
Pin ,rinse | Na dotaz | Zadat poptávku | |
| C18 WHR19823 |
C00500314
483286008956 |
Flange | Na dotaz | Zadat poptávku | |
| C19 WHR19823 |
C00336918
483286008855 |
Reductor | Na dotaz | Zadat poptávku | |
| C20 WHR19823 |
C00373911
483286008891 |
Nátrubek myčky | 937 Kč
€ 38.50 |
||
| C22 WHR19823 |
C00406906
482000000370 |
Nut | Na dotaz | Zadat poptávku | |
| C23 WHR19823 |
C00340540
483286008162 |
Gasket | Na dotaz | Zadat poptávku | |
| C24 WHR19823 |
C00344555
483286008161 |
Airtrap-náhrada 482000020120 | Na dotaz | Zadat poptávku | |
| C25 WHR19823 |
C00495326
483286001391 |
Heating element 2000 W | Na dotaz | Zadat poptávku | |
| C26 WHR19823 |
C00517758
483286008947 |
Screw | Na dotaz | Zadat poptávku | |
| D01 WHR19823 |
C00337265
483286008832 |
Rameno mycí | 5 667 Kč
€ 233.10 |
||
| D02 WHR19823 |
C00413104
482000012779 |
Nátrubek oplachovacího ramene | 951 Kč
€ 39.10 |
||
| D03 WHR19823 |
C00413105
482000012780 |
Spray arm 4 PPL | Na dotaz | Zadat poptávku | |
| D04 WHR19823 |
C00337987
483286008323 |
Šroub ramene | 2 027 Kč
€ 83.40 |
||
| E01 WHR19823 |
C00413106
482000012781 |
Control panel N700A-N700APS W2012 | Na dotaz | Zadat poptávku | |
| E03 WHR19823 |
C00423499
483286011327 |
Presostat 35/17 | Na dotaz | Zadat poptávku | |
| E04 WHR19823 |
C00413107
482000012782 |
Panel rear N700A-N700APS W2012 | Na dotaz | Zadat poptávku | |
| E05 WHR19823 |
C00384761
483286008913 |
Terminal Board | Na dotaz | Zadat poptávku | |
| E06 WHR19823 |
C00423490
483286011317 |
Holder fuse | Na dotaz | Zadat poptávku | |
| E07 WHR19823 |
C00423489
483286011316 |
Fuse | Na dotaz | Zadat poptávku | |
| E08 WHR19823 |
C00413108
482000012783 |
Connect.block 4 pol | Na dotaz | Zadat poptávku | |
| E09 WHR19823 |
C00423483
483286011309 |
Coil,reed relay | Na dotaz | Zadat poptávku | |
| E10 WHR19823 |
C00342723
483286008836 |
stykač | Na dotaz | Zadat poptávku | |
| E11 WHR19823 |
C00423484
483286011311 |
Interf.filter | Na dotaz | Zadat poptávku | |
| E12 WHR19823 |
C00517721
483286001706 |
Cable holder | Na dotaz | Zadat poptávku | |
| E13 WHR19823 |
C00423487
483286011314 |
Connect.cable | Na dotaz | Zadat poptávku | |
| E14 WHR19823 |
C00409079
482000005018 |
Pilot lamp Ř 6 green F/F | Na dotaz | Zadat poptávku | |
| E15 WHR19823 |
C00409085
482000005024 |
Pilot lamp Ř6 orange +cable | Na dotaz | Zadat poptávku | |
| E16 WHR19823 |
C00413109
482000012784 |
Pilot lamp Ř 6 orange | Na dotaz | Zadat poptávku | |
| E17 WHR19823 |
C00409084
482000005023 |
Push button #25 | Na dotaz | Zadat poptávku | |
| E18 WHR19823 |
C00409083
482000005022 |
Support #25 | Na dotaz | Zadat poptávku | |
| E19 WHR19823 |
C00409081
482000005020 |
Switch | Na dotaz | Zadat poptávku | |
| E20 WHR19823 |
C00410817
482000007970 |
Switch pushbut. 6 way | Na dotaz | Zadat poptávku | |
| E21 WHR19823 |
C00409077
482000005016 |
Control board | Na dotaz | Zadat poptávku | |