WHIRLPOOL ARC 5725/1
Zeptejte se. Rádi poradíme.
Marek Proche
Zákaznická podpora
Po–Čt 8:00—17:00
Pá 8:00—15:00
poradna@servis-whirlpool.cz
| Komerční kód: | ARC 5725/1 |
| Kód 12NC: | 850157211720 |
| I.C. kód: | 850157211721 |
| Značka: | WHIRLPOOL |
| Typ produktu: | Volně stojící lednice s mrazákem |
| Další podobné modely: | 850157211720 |
Potřebujete servis? Jsme tady pro Vás
Nabídka náhradních dílů
| Číslo | Kód | Název | Cena | ||
|---|---|---|---|---|---|
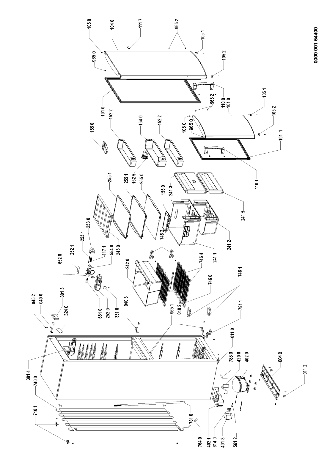
| 004 0 WHR17503 |
C00330813
481246418199 |
CROSSBAR COMPRESSOR | Na dotaz | Zadat poptávku | |
| 011 0 WHR17503 |
C00330473
481246218321 |
noha nastavitelna | Na dotaz | Zadat poptávku | |
| 011 2 WHR17503 |
C00330452
481246218254 |
noha | 67 Kč
€ 2.80 |
||
| 040 0 WHR17503 |
C00329779
481241719517 |
Závěs horní | 641 Kč
€ 26.40 |
||
| 040 2 WHR17503 |
C00329780
481241719518 |
Závěs spodní | 680 Kč
€ 28.10 |
||
| 040 3 WHR17503 |
C00319920
481241719519 |
Závěs dveří střední - chladničky Whirlpool, Ignis | 697 Kč
€ 28.80 |
||
| 045 2 WHR17503 |
C00316600
481222608025 |
cep | 227 Kč
€ 9.40 |
||
| 101 0 WHR17503 |
C00458435
481241610822 |
DVEŘE CHLADNIČKY, BÍLÁ GW | Na dotaz | Zadat poptávku | |
| 104 0 WHR17503 |
C00377648
481241610789 |
Dveře chladničky | Na dotaz | Zadat poptávku | |
| 105 0 WHR17503 |
C00314960
481253288064 |
BUSHING WHITE GW | Na dotaz | Zadat poptávku | |
| 105 1 WHR17503 |
C00332709
481253288102 |
SLEEVE DOOR AUTO-LOCKING RIGHT WHITE GW | Na dotaz | Zadat poptávku | |
| 105 2 WHR17503 |
C00332710
481253288103 |
SLEEVE DOOR AUTO-LOCKING LEFT WHITE GW | Na dotaz | Zadat poptávku | |
| 110 0 WHR17503 |
C00464638
481249848043 |
rukojeť dveří chl. | Na dotaz | Zadat poptávku | |
| 110 1 WHR17503 |
C00373756
481249848042 |
rukojeť dveří chl. | 388 Kč
€ 16.00 |
||
| 111 7 WHR17503 |
C00480209
481245918218 |
logo Whirlpool | Na dotaz | Zadat poptávku | |
| 117 1 WHR17503 |
C00312939
481249148014 |
pruzina | 208 Kč
€ 8.60 |
||
| 152 2 WHR17503 |
C00317639
481241820163 |
Door,dairy | Na dotaz | Zadat poptávku | |
| 152 5 WHR17503 |
C00329894
481241820164 |
drzak lahvi | Na dotaz | Zadat poptávku | |
| 154 0 WHR17503 |
C00320354
481241848993 |
bottle shelf | Na dotaz | Zadat poptávku | |
| 155 0 WHR17503 |
C00315576
481241828427 |
ZÁSOBNÍK NA VEJCE | Na dotaz | Zadat poptávku | |
| 156 0 WHR17503 |
C00327747
481241829902 |
miska na led | Na dotaz | Zadat poptávku | |
| 191 0 WHR17503 |
C00311635
481246668938 |
Těsnění magnetické do dveří lednice chladničky Whirlpool | 1 512 Kč
€ 62.40 |
||
| 191 1 WHR17503 |
C00319871
481246668944 |
Těsnění magnetické do dveří mrazáku chladničky Whirlpool | 1 523 Kč
€ 62.80 |
||
| 241 1 WHR17503 |
C00313515
481241868409 |
Koš mrazničky - velký, horní | 5 128 Kč
€ 211.60 |
||
| 241 2 WHR17503 |
C00315606
481241868299 |
kos mraznicky maly | Na dotaz | Zadat poptávku | |
| 241 3 WHR17503 |
C00312495
481241848937 |
Cover basket printed | Na dotaz | Zadat poptávku | |
| 241 5 WHR17503 |
C00312686
481241848733 |
Čelo koše mrazáku | Na dotaz | Zadat poptávku | |
| 242 0 WHR17503 |
C00317103
481241870067 |
zasuvka na zeleninu | Na dotaz | Zadat poptávku | |
| 245 0 WHR17503 |
C00314007
481244079295 |
Police - plastová chladničky Whirlpool | Na dotaz | Zadat poptávku | |
| 252 0 WHR17503 |
C00312480
481244079219 |
Casing | Na dotaz | Zadat poptávku | |
| 252 1 WHR17503 |
C00319193
481246048927 |
reflektor | 207 Kč
€ 8.50 |
||
| 253 0 WHR17503 |
C00311648
481246228545 |
Krytka termostatu chladničky Whirlpool | 524 Kč
€ 21.60 |
||
| 253 4 WHR17503 |
C00311795
481227618362 |
Táhlo, páčka osvětlení chladničky Whirlpool | 753 Kč
€ 31.10 |
||
| 255 0 WHR17503 |
C00317774
481245088222 |
Skleněná police nad zásuvku na zeleninu chladničky Whirlpool | 651 Kč
€ 26.90 |
||
| 255 1 WHR17503 |
C00312514
481245088214 |
Skleněná police chladničky Whirlpool | 741 Kč
€ 30.60 |
||
| 301 4 WHR17503 |
C00328158
481244029573 |
zaslepka | 73 Kč
€ 3.00 |
||
| 301 5 WHR17503 |
C00328159
481244029574 |
Cover panel GW hinge side | Na dotaz | Zadat poptávku | |
| 324 0 WHR17503 |
C00330211
481245918312 |
štítek | Na dotaz | Zadat poptávku | |
| 331 0 WHR17503 |
C00317427
480131100003 |
knoflik lednice | 319 Kč
€ 13.20 |
||
| 402 0 WHR17503 |
C00328587
481236039052 |
Compressor EMX 55 CLC | Na dotaz | Zadat poptávku | |
| 402 1 WHR17503 |
C00317573
481241818379 |
Miska odkapní | 469 Kč
€ 19.30 |
||
| 420 0 WHR17503 |
C00318160
481212028053 |
Kondenzátor 5 µF | 191 Kč
€ 7.90 |
||
| 491 3 WHR17503 |
C00256948
481229088103 |
TERMINAL BOARD COVER COMPRESSOR | Na dotaz | Zadat poptávku | |
| 554 0 WHR17503 |
C00311858
481228238084 |
Termostat S16077-K59 chladničky Whirlpool | 355 Kč
€ 14.60 |
||
| 561 2 WHR17503 |
C00256950
481229068325 |
kryt rele | Na dotaz | Zadat poptávku | |
| 614 0 WHR17503 |
C00327485
481228038136 |
MONOBLOCK TX1C2 - EMY55 | Na dotaz | Zadat poptávku | |
| 651 0 WHR17503 |
C00311277
481913488135 |
ŻAROVKA E14 T25 15W 220V | Na dotaz | Zadat poptávku | |
| 652 0 WHR17503 |
C00311531
481246698982 |
Držák termostatu | 484 Kč
€ 20.00 |
||
| 740 0 WHR17503 |
C00332236
481251148314 |
Condenser | Na dotaz | Zadat poptávku | |
| 740 1 WHR17503 |
C00330494
481246228448 |
Holder | Na dotaz | Zadat poptávku | |
| 746 0 WHR17503 |
C00464771
481251138396 |
výparník | Na dotaz | Zadat poptávku | |
| 746 1 WHR17503 |
C00319703
481246628139 |
drzak vyparniku l | Na dotaz | Zadat poptávku | |
| 746 2 WHR17503 |
C00319357
481246228447 |
drzak vyparniku p | Na dotaz | Zadat poptávku | |
| 746 4 WHR17503 |
C00319325
481246098055 |
Podpora koše mrazničky | 90 Kč
€ 3.70 |
||
| 764 0 WHR17503 |
C00266743
481948028144 |
Filtr chladničky - patrona Náhrada C00495431 |
Na dotaz | Zadat poptávku | |
| 781 0 WHR17503 |
C00326893
481217158001 |
Hadice na kondenzát | Na dotaz | Zadat poptávku | |
| 781 1 WHR17503 |
C00319432
481217158005 |
Odtokový kanál - odmražení | 381 Kč
€ 15.70 |
||
| 783 0 WHR17503 |
C00313237
481281719208 |
VALVE, 1/4 BODY+TUBE 100MM | Na dotaz | Zadat poptávku | |
| 965 0 WHR17503 |
C00327078
481222608017 |
zaslepka | Na dotaz | Zadat poptávku | |
| 965 1 WHR17503 |
C00332688
481253288029 |
zaslepka Náhrada 480132102378 |
Na dotaz | Zadat poptávku | |
| 965 2 WHR17503 |
C00316614
481222608029 |
zaslepka | Na dotaz | Zadat poptávku | |