WHIRLPOOL ARC 8120 REFRIGERATORS WP
Zeptejte se. Rádi poradíme.
Marek Proche
Zákaznická podpora
Po–Čt 8:00—17:00
Pá 8:00—15:00
poradna@servis-whirlpool.cz
| Komerční kód: | ARC 8120 REFRIGERATORS WP |
| Kód 12NC/I.C. kód: | 850181215000 |
| Značka: | WHIRLPOOL |
| Typ produktu: | Volně stojící lednice s mrazákem |
| Další podobné modely: | 850181215002 |
Potřebujete servis? Jsme tady pro Vás
Nabídka náhradních dílů
| Číslo | Kód | Název | Cena | ||
|---|---|---|---|---|---|
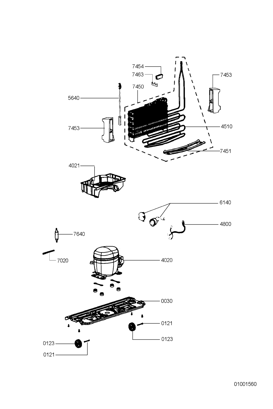
| 003 0 WHR61612 |
C00344517
481244229269 |
Base compressor | Na dotaz | Zadat poptávku | |
| 011 0 WHR61612 |
C00491914
481246218282 |
Foot WH | Na dotaz | Zadat poptávku | |
| 012 0 WHR61612 |
C00332374
481252878071 |
Roller | Na dotaz | Zadat poptávku | |
| 012 1 WHR61612 |
C00336455
481253548009 |
Shaft | Na dotaz | Zadat poptávku | |
| 012 3 WHR61612 |
C00332375
481252878072 |
Roller | Na dotaz | Zadat poptávku | |
| 040 0 WHR61612 |
C00329726
481241719286 |
Hinge upper | Na dotaz | Zadat poptávku | |
| 040 1 WHR61612 |
C00342473
481246228635 |
Cover hinge | Na dotaz | Zadat poptávku | |
| 040 2 WHR61612 |
C00329724
481241719284 |
pant | 309 Kč
€ 12.70 |
||
| 040 3 WHR61612 |
C00342338
481246228636 |
Cover WH | Na dotaz | Zadat poptávku | |
| 040 4 WHR61612 |
C00342339
481246228637 |
Cover WH | Na dotaz | Zadat poptávku | |
| 040 5 WHR61612 |
C00329720
481241719277 |
Závěs dveří střední - pravý chladničky Whirlpool | 701 Kč
€ 28.80 |
||
| 040 7 WHR61612 |
C00374088
481241719349 |
Door revers.Kit | Na dotaz | Zadat poptávku | |
| 040 8 WHR61612 |
C00317501
481241719331 |
Závěs dveří střední - levý chladničky Whirlpool | 634 Kč
€ 26.10 |
||
| 047 0 WHR61612 |
C00344062
481253288067 |
Bushing WH | Na dotaz | Zadat poptávku | |
| 047 1 WHR61612 |
C00491796
481244688157 |
Bushing | Na dotaz | Zadat poptávku | |
| 047 2 WHR61612 |
C00344086
481253288068 |
Bushing | Na dotaz | Zadat poptávku | |
| 050 0 WHR61612 |
C00337655
481244089095 |
Plinth WH | Na dotaz | Zadat poptávku | |
| 050 1 WHR61612 |
C00327931
481243518111 |
Clamp | Na dotaz | Zadat poptávku | |
| 050 2 WHR61612 |
C00342341
481241458261 |
Cover WH | Na dotaz | Zadat poptávku | |
| 086 0 WHR61612 |
C00327081
481222608024 |
Pin rail | Na dotaz | Zadat poptávku | |
| 086 2 WHR61612 |
C00327079
481222608021 |
Pin rail | Na dotaz | Zadat poptávku | |
| 101 0 WHR61612 |
C00402660
481241619812 |
Door freezer WH | Na dotaz | Zadat poptávku | |
| 102 1 WHR61612 |
C00318632
481241828881 |
Cover drawer | Na dotaz | Zadat poptávku | |
| 103 0 WHR61612 |
C00327701
481241828882 |
Front drawer | Na dotaz | Zadat poptávku | |
| 103 1 WHR61612 |
C00327702
481241828883 |
Front drawer | Na dotaz | Zadat poptávku | |
| 104 0 WHR61612 |
C00378742
481241619805 |
Door refriger. WH | Na dotaz | Zadat poptávku | |
| 104 2 WHR61612 |
C00380425
481246228762 |
Cover WH | Na dotaz | Zadat poptávku | |
| 105 0 WHR61612 |
C00329410
481241168012 |
podložka | Na dotaz | Zadat poptávku | |
| 105 1 WHR61612 |
C00342342
481253288072 |
Cover WH | Na dotaz | Zadat poptávku | |
| 105 2 WHR61612 |
C00329738
481241719354 |
Pin hinge right | Na dotaz | Zadat poptávku | |
| 105 3 WHR61612 |
C00329739
481241719355 |
Pin hinge left | Na dotaz | Zadat poptávku | |
| 110 0 WHR61612 |
C00318281
481249818348 |
Rukojeť dveří | Na dotaz | Zadat poptávku | |
| 110 1 WHR61612 |
C00318317
481249858209 |
rukojet dveri | Na dotaz | Zadat poptávku | |
| 111 7 WHR61612 |
C00341606
481245918238 |
Nameplate | Na dotaz | Zadat poptávku | |
| 152 0 WHR61612 |
C00327705
481241828887 |
Door dairy door freezer | Na dotaz | Zadat poptávku | |
| 152 3 WHR61612 |
C00327684
481241828728 |
Separator bottles | Na dotaz | Zadat poptávku | |
| 152 4 WHR61612 |
C00327683
481241828727 |
Separator | Na dotaz | Zadat poptávku | |
| 153 1 WHR61612 |
C00313527
481241848731 |
Door dairy | Na dotaz | Zadat poptávku | |
| 153 4 WHR61612 |
C00330811
481246418185 |
Hoop door dairy | Na dotaz | Zadat poptávku | |
| 154 0 WHR61612 |
C00315582
481241828817 |
Bottle shelf door | Na dotaz | Zadat poptávku | |
| 156 1 WHR61612 |
C00341160
481241828811 |
Egg trim | Na dotaz | Zadat poptávku | |
| 191 0 WHR61612 |
C00374351
481246688848 |
Gasket.fre.door | Na dotaz | Zadat poptávku | |
| 191 1 WHR61612 |
C00405092
481246688851 |
Gasket ref.door | Na dotaz | Zadat poptávku | |
| 201 2 WHR61612 |
C00338715
481202078222 |
Insulation | Na dotaz | Zadat poptávku | |
| 239 0 WHR61612 |
C00314429
481269028035 |
vyrobnik ledu | Na dotaz | Zadat poptávku | |
| 239 1 WHR61612 |
C00327685
481241828731 |
Tank | Na dotaz | Zadat poptávku | |
| 239 2 WHR61612 |
C00327073
481222438026 |
Support | Na dotaz | Zadat poptávku | |
| 239 3 WHR61612 |
C00327686
481241828733 |
Miska na led | Na dotaz | Zadat poptávku | |
| 241 0 WHR61612 |
C00327703
481241828884 |
Drawer | Na dotaz | Zadat poptávku | |
| 241 1 WHR61612 |
C00327706
481241828888 |
Drawer | Na dotaz | Zadat poptávku | |
| 241 2 WHR61612 |
C00327704
481241828885 |
Drawer upper | Na dotaz | Zadat poptávku | |
| 242 0 WHR61612 |
C00342286
481241828886 |
Crisper | Na dotaz | Zadat poptávku | |
| 242 1 WHR61612 |
C00319208
481241828812 |
celo zasuvky | Na dotaz | Zadat poptávku | |
| 242 2 WHR61612 |
C00330656
481246238247 |
Separator | Na dotaz | Zadat poptávku | |
| 244 0 WHR61612 |
C00331209
481245088326 |
Grid freezer | Na dotaz | Zadat poptávku | |
| 244 1 WHR61612 |
C00327707
481241828889 |
Box 0°C | Na dotaz | Zadat poptávku | |
| 244 4 WHR61612 |
C00331210
481245088327 |
Grid freezer upper | Na dotaz | Zadat poptávku | |
| 251 2 WHR61612 |
C00329071
481240449603 |
support lamp | Na dotaz | Zadat poptávku | |
| 251 9 WHR61612 |
C00326817
481213418037 |
Protector lamp | Na dotaz | Zadat poptávku | |
| 255 0 WHR61612 |
C00331203
481245088266 |
Glass shelf | Na dotaz | Zadat poptávku | |
| 255 1 WHR61612 |
C00331208
481245088325 |
Shelf | Na dotaz | Zadat poptávku | |
| 261 6 WHR61612 |
C00330652
481246238213 |
Rail | Na dotaz | Zadat poptávku | |
| 261 7 WHR61612 |
C00336934
481246238214 |
Kolejnice kolejnice pravá | 324 Kč
€ 13.30 |
||
| 261 8 WHR61612 |
C00336935
481246238215 |
Rail glass shelf left | Na dotaz | Zadat poptávku | |
| 263 0 WHR61612 |
C00319465
481246238216 |
kolejnice zasuvky l. | Na dotaz | Zadat poptávku | |
| 263 1 WHR61612 |
C00319467
481246238217 |
Rail right | Na dotaz | Zadat poptávku | |
| 263 2 WHR61612 |
C00319463
481246238209 |
zábradlí | Na dotaz | Zadat poptávku | |
| 263 3 WHR61612 |
C00319457
481246238206 |
kolejnice zasuvky l. | Na dotaz | Zadat poptávku | |
| 320 1 WHR61612 |
C00400450
481221479491 |
User board | Na dotaz | Zadat poptávku | |
| 334 0 WHR61612 |
C00402334
481241279207 |
Knob | Na dotaz | Zadat poptávku | |
| 402 0 WHR61612 |
C00497504
481236038919 |
NAHRADA 481236038668 | Na dotaz | Zadat poptávku | |
| 402 1 WHR61612 |
C00318946
481241818319 |
Tray | Na dotaz | Zadat poptávku | |
| 420 0 WHR61612 |
C00342800
481212108241 |
Capacitor | Na dotaz | Zadat poptávku | |
| 440 0 WHR61612 |
C00405294
481248128183 |
Air diffuser | Na dotaz | Zadat poptávku | |
| 440 1 WHR61612 |
C00403224
481244029489 |
Cover air diffuser | Na dotaz | Zadat poptávku | |
| 440 7 WHR61612 |
C00405181
481248028109 |
Cover air diffuser | Na dotaz | Zadat poptávku | |
| 441 0 WHR61612 |
C00311454
481202858345 |
Motor fan 220-240V/50-60Hz | Na dotaz | Zadat poptávku | |
| 441 1 WHR61612 |
C00314645
481240418458 |
Support motor freezer | Na dotaz | Zadat poptávku | |
| 441 2 WHR61612 |
C00315086
481246638021 |
Damper fan | Na dotaz | Zadat poptávku | |
| 441 5 WHR61612 |
C00319061
481240418482 |
Support motor fan | Na dotaz | Zadat poptávku | |
| 443 0 WHR61612 |
C00315305
481236118282 |
Fan | Na dotaz | Zadat poptávku | |
| 451 0 WHR61612 |
C00341142
481251158019 |
ELEMENT DEGIVRAGE | Na dotaz | Zadat poptávku | |
| 480 0 WHR61612 |
C00326620
481201978835 |
Cable harness compressor | Na dotaz | Zadat poptávku | |
| 526 0 WHR61612 |
C00378556
481228038088 |
Control unit | Na dotaz | Zadat poptávku | |
| 526 3 WHR61612 |
C00401351
481232178236 |
Cable harness | Na dotaz | Zadat poptávku | |
| 557 5 WHR61612 |
C00329067
481240449597 |
Support sensor | Na dotaz | Zadat poptávku | |
| 564 0 WHR61612 |
C00497303
481225228045 |
Thermal fuse | Na dotaz | Zadat poptávku | |
| 614 0 WHR61612 |
C00320869
481221838238 |
Relay + overload protector | Na dotaz | Zadat poptávku | |
| 651 0 WHR61612 |
C00326816
481213418034 |
Lamp 240V-25W | Na dotaz | Zadat poptávku | |
| 652 0 WHR61612 |
C00327124
481225518277 |
Holder lamp | Na dotaz | Zadat poptávku | |
| 691 0 WHR61612 |
C00312619
481213428075 |
senzor teploty | 1 012 Kč
€ 41.60 |
||
| 702 0 WHR61612 |
C00318198
481952643046 |
SPOJKA | 161 Kč
€ 6.60 |
||
| 740 1 WHR61612 |
C00330520
481246228625 |
Spacer cabinet | Na dotaz | Zadat poptávku | |
| 743 2 WHR61612 |
C00329069
481240449601 |
Support anti-bacterial filter | Na dotaz | Zadat poptávku | |
| 743 4 WHR61612 |
C00328138
481244029495 |
Air guide | Na dotaz | Zadat poptávku | |
| 743 6 WHR61612 |
C00342199
481245298306 |
Deflector | Na dotaz | Zadat poptávku | |
| 745 0 WHR61612 |
C00341087
481251138308 |
Evaporator set | Na dotaz | Zadat poptávku | |
| 745 1 WHR61612 |
C00335346
481244029497 |
Tray drip | Na dotaz | Zadat poptávku | |
| 745 3 WHR61612 |
C00329068
481240449598 |
Bracket | Na dotaz | Zadat poptávku | |
| 745 4 WHR61612 |
C00329015
481240438735 |
držák senzoru | Na dotaz | Zadat poptávku | |
| 745 5 WHR61612 |
C00403225
481244029491 |
Cover rear Evaporator | Na dotaz | Zadat poptávku | |
| 746 0 WHR61612 |
C00342524
481244029492 |
Cover evaporator | Na dotaz | Zadat poptávku | |
| 746 1 WHR61612 |
C00342489
481244029493 |
Cover front evaporator | Na dotaz | Zadat poptávku | |
| 746 2 WHR61612 |
C00328137
481244029494 |
Cover evaporator | Na dotaz | Zadat poptávku | |
| 746 3 WHR61612 |
C00401967
481240449599 |
Clamp | Na dotaz | Zadat poptávku | |
| 764 0 WHR61612 |
C00311590
481952648527 |
Dryer DRS15 With 3 ways valve | Na dotaz | Zadat poptávku | |
| 903 4 WHR61612 |
C00498514
481249148034 |
Clip fix. | Na dotaz | Zadat poptávku | |
| 904 2 WHR61612 |
C00332346
481252648192 |
příchytka | 107 Kč
€ 4.40 |
||
| 904 3 WHR61612 |
C00330537
481246228701 |
Cover WH | Na dotaz | Zadat poptávku | |
| 999 WHR61613 |
C00677093 | Circuit/Wiring Diagram WHP | Na dotaz | Zadat poptávku | |