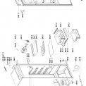
WHIRLPOOL ARZ 012/A+
Zeptejte se. Rádi poradíme.
Marek Proche
Zákaznická podpora
Po–Čt 8:00—17:00
Pá 8:00—15:00
poradna@servis-whirlpool.cz
| Komerční kód: | ARZ 012/A+ |
| Kód 12NC/I.C. kód: | 858601296300 |
| Značka: | WHIRLPOOL |
| Typ produktu: | Vestavné lednice |
| Další podobné modely: | 858601296000, 858601296001, 858601296002 |
Potřebujete servis? Jsme tady pro Vás
Nabídka náhradních dílů
| Číslo | Kód | Název | Cena | ||
|---|---|---|---|---|---|
| 0031 WHR34678 |
C00325131
481010544344 |
Lišta instalační | 671 Kč
€ 27.50 |
||
| 0401 WHR34678 |
C00325991
481010668956 |
Závěs dveří spodní levý- horní pravý vestavné chladničky Whirlpool, Indesit | 1 046 Kč
€ 42.80 |
||
| 0402 WHR34678 |
C00314340
481241719197 |
Závěs | Na dotaz | Zadat poptávku | |
| 1040 WHR34678 |
C00326294
481010704746 |
Dveře lednice | Na dotaz | Zadat poptávku | |
| 1052 WHR34678 |
C00312150
481231019131 |
Posouvač dekoru, sada pro montáž dveří vestavné chladničky Whirlpool | 239 Kč
€ 9.80 |
||
| 1520 WHR34678 |
C00324880
481010591015 |
Spodní část horní police do dveří chladničky Whirlpool | 482 Kč
€ 19.70 |
||
| 1521 WHR34678 |
C00325861
481010648456 |
Police do dveří chladničky Whirlpool | 864 Kč
€ 35.40 |
||
| 1523 WHR34678 |
C00325862
481010648457 |
Spodní police na lahve do dveří chladničky Whirlpool | 709 Kč
€ 29.00 |
||
| 1524 WHR34678 |
C00325624
481010609225 |
Držák, kovová opora police na lahve chladničky Whirlpool | 146 Kč
€ 6.00 |
||
| 1526 WHR34678 |
C00325833
481010645267 |
Separátor, oddělovací přepážka police na lahve chladničky Whirlpool | 93 Kč
€ 3.80 |
||
| 1529 WHR34678 |
C00325860
481010648455 |
Víko police | Na dotaz | Zadat poptávku | |
| 1850 WHR34678 |
C00325809
481010642999 |
Noha levá+držák | Na dotaz | Zadat poptávku | |
| 1851 WHR34678 |
C00325808
481010642997 |
Držák | 33 Kč
€ 1.40 |
||
| 1910 WHR34678 |
C00326078
481010674448 |
Těsnění magnetické do dveří chladničky Whirlpool | 1 895 Kč
€ 77.60 |
||
| 2420 WHR34678 |
C00327839
481241848849 |
Zásuvka na zeleninu spodní-bez čela | Na dotaz | Zadat poptávku | |
| 2421 WHR34678 |
C00327838
481241848848 |
Zásuvka bez čela | 2 247 Kč
€ 92.00 |
||
| 2422 WHR34678 |
C00324465
481010470895 |
Čelo zásuvky na zeleninu chladničky Whirlpool, Indesit | 1 431 Kč
€ 58.60 |
||
| 2440 WHR34678 |
C00320835
481245088461 |
krycí deska | Na dotaz | Zadat poptávku | |
| 2441 WHR34678 |
C00326426
481050307751 |
Skleněná police chladničky Whirlpool | 770 Kč
€ 31.50 |
||
| 2458 WHR34678 |
C00330133
481245838091 |
Drátěná police na lahve chladničky Whirlpool | 1 250 Kč
€ 51.20 |
||
| 2493 WHR34678 |
C00316319
480131100355 |
Krycí lišta - šedá skleněné police chladničky Whirlpool | 250 Kč
€ 10.20 |
||
| 2494 WHR34678 |
C00314992
481010495387 |
Krycí lišta - zadní skleněné police chladničky Whirlpool | 90 Kč
€ 3.70 |
||
| 2541 WHR34678 |
C00330235
481245988017 |
Magnet dveří | 1 762 Kč
€ 72.10 |
||
| 2612 WHR34678 |
C00332319
481252518037 |
Kolejnice šuplíku - pravá chladničky Whirlpool | 660 Kč
€ 27.00 |
||
| 2613 WHR34678 |
C00332320
481252518038 |
Kolejnice šuplíku - levá chladničky Whirlpool | 609 Kč
€ 24.90 |
||
| 2639 WHR34678 |
C00337179
481252888126 |
Kolečko do vedení | Na dotaz | Zadat poptávku | |
| 2640 WHR34678 |
C00332384
481252898024 |
kolecko | 81 Kč
€ 3.30 |
||
| 3011 WHR34678 |
C00446320
481010748405 |
Insert panel CENTAUR WP printed,6SenseFC | Na dotaz | Zadat poptávku | |
| 3012 WHR34678 |
C00386657
481010599833 |
Plate support f.control board | Na dotaz | Zadat poptávku | |
| 3013 WHR34678 |
C00323002
480131100329 |
kryt | 173 Kč
€ 7.10 |
||
| 3240 WHR34678 |
C00328157
481244029572 |
Záslepka | 320 Kč
€ 13.10 |
||
| 3510 WHR34678 |
C00324261
481010423337 |
LED osvětlení,1 x LED 90 lm | Na dotaz | Zadat poptávku | |
| 4020 WHR34678 |
C00324654
481010496799 |
KOMPRESOR EMC 26 CLT TL CP (K) | Na dotaz | Zadat poptávku | |
| 4021 WHR34678 |
C00319865
481010491261 |
Tray compressor | Na dotaz | Zadat poptávku | |
| 4200 WHR34678 |
C00326754
481212028039 |
KONDENZÁTOR 4 µF | Na dotaz | Zadat poptávku | |
| 4410 WHR34678 |
C00322989
480131100291 |
Napájecí modul LED osvětlení chladničky Whirlpool | 2 015 Kč
€ 82.50 |
||
| 4430 WHR34678 |
C00315742
481010595120 |
Ventilátor chladničky Whirlpool | 1 978 Kč
€ 80.90 |
||
| 4433 WHR34678 |
C00325185
481010553841 |
Cover GW fan AIR FILTER | Na dotaz | Zadat poptávku | |
| 4900 WHR34678 |
C00326419
481050285321 |
CABLE MAINS 2450MM, 10-16A, 250V, BLACK | Na dotaz | Zadat poptávku | |
| 4910 WHR34678 |
C00318976
481010553122 |
Kryt | 56 Kč
€ 2.30 |
||
| 5210 WHR34678 |
C00444904
481010677878 |
Control board CENTAUR programmed | Na dotaz | Zadat poptávku | |
| 5211 WHR34678 |
C00444107
481010642519 |
Control board CENTAUR blank | Na dotaz | Zadat poptávku | |
| 5612 WHR34678 |
C00267004
481229088112 |
konektor | 85 Kč
€ 3.50 |
||
| 6140 WHR34678 |
C00327481
481228038125 |
Monoblock | Na dotaz | Zadat poptávku | |
| 6430 WHR34678 |
C00322980
480131100236 |
THERMOMETER LISTERIA BUILT IN | Na dotaz | Zadat poptávku | |
| 6917 WHR34678 |
C00311307
481231018846 |
Senzor teploty chladničky Whirlpool - sada | 1 372 Kč
€ 56.10 |
||
| 6919 WHR34678 |
C00335170
484000001092 |
Senzor chladničky | 1 357 Kč
€ 55.50 |
||
| 7400 WHR34678 |
C00332275
481251148486 |
Condenser | Na dotaz | Zadat poptávku | |
| 7620 WHR34678 |
C00312451
481248048172 |
ANTIBAKTERIÁLNÍ FILTR | Na dotaz | Zadat poptávku | |
| 7642 WHR34678 |
C00266743
481948028144 |
Filtr chladničky - patrona Náhrada C00495431 |
Na dotaz | Zadat poptávku | |
| 7837 WHR34678 |
C00326892
481217088015 |
TUBE 60 MM | Na dotaz | Zadat poptávku | |
| 9040 WHR34678 |
C00314165
481010538497 |
mezikus polic | Na dotaz | Zadat poptávku | |
| 9041 WHR34678 |
C00323045
480131100567 |
kryt | 311 Kč
€ 12.70 |
||
| 9042 WHR34678 |
C00323046
480131100568 |
kryt | 114 Kč
€ 4.70 |
||
| 9122 WHR34678 |
C00333223
481950218494 |
Screw | Na dotaz | Zadat poptávku | |
| 9932 WHR34678 |
C00316841
481969028169 |
Čistič odtokového kanálku chladničky Whirlpool ARG 790/A+, ARG 734/A+, ARG 184701. | 180 Kč
€ 7.40 |
||
| 999 WHR34678 |
C00346536
488000346536 |
NTC/PTC Chart WHP | Na dotaz | Zadat poptávku | |
| 999 WHR34678 |
C00358874
488000358874 |
NTC sensor WHP | Na dotaz | Zadat poptávku | |