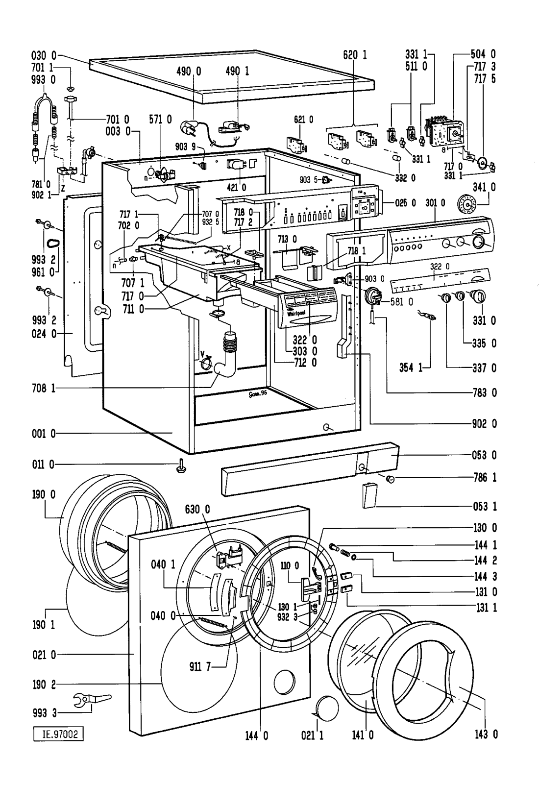
WHIRLPOOL AWM 211
Zeptejte se. Rádi poradíme.
Marek Proche
Zákaznická podpora
Po–Čt 8:00—17:00
Pá 8:00—15:00
poradna@servis-whirlpool.cz
| Komerční kód: | AWM 211 |
| Kód 12NC/I.C. kód: | 857021129000 |
| Značka: | WHIRLPOOL |
| Typ produktu: | |
| Další podobné modely: | 857021129100 |
Potřebujete servis? Jsme tady pro Vás
Nabídka náhradních dílů
| Číslo | Kód | Název | Cena | ||
|---|---|---|---|---|---|
| 001 0 WHR114470 |
C00343944
481944019716 |
skrin pracky | Na dotaz | Zadat poptávku | |
| 003 0 WHR114470 |
C00335370
481246448099 |
Traverse | Na dotaz | Zadat poptávku | |
| 011 0 WHR114470 |
C00556618
481250018072 |
Foot Variable.. | Na dotaz | Zadat poptávku | |
| 021 0 WHR114470 |
C00340691
481944019715 |
stena predni | Na dotaz | Zadat poptávku | |
| 021 1 WHR114470 |
C00340881
481244019343 |
kryt filtru | Na dotaz | Zadat poptávku | |
| 024 0 WHR114470 |
C00328103
481244018998 |
Stěna přední AWM250 | Na dotaz | Zadat poptávku | |
| 025 0 WHR114470 |
C00497925
481244019345 |
LI?TA PREDNA AWM242 *** plast. N | Na dotaz | Zadat poptávku | |
| 030 0 WHR114470 |
C00335637
481244019341 |
TABLE TOP | Na dotaz | Zadat poptávku | |
| 040 0 WHR114470 |
C00339842
481241718793 |
HINGE | Na dotaz | Zadat poptávku | |
| 040 1 WHR114470 |
C00497791
481241728009 |
PODLOZKA ZAVESU AWM 242 N | Na dotaz | Zadat poptávku | |
| 053 0 WHR114470 |
C00337726
481944019714 |
Plinth | Na dotaz | Zadat poptávku | |
| 053 1 WHR114470 |
C00498299
481245938013 |
VLOZKA SOKLA AWM248 N | Na dotaz | Zadat poptávku | |
| 061 0 WHR114470 |
C00343070
481246688458 |
zavazi horni | Na dotaz | Zadat poptávku | |
| 061 1 WHR114470 |
C00343085
481246688459 |
Counter weight front | Na dotaz | Zadat poptávku | |
| 080 0 WHR114470 |
C00336353
481246648054 |
SHOCK ABSORBER 1000-14 | Na dotaz | Zadat poptávku | |
| 084 0 WHR114470 |
C00330907
481246658001 |
drzak pruziny agreg. | Na dotaz | Zadat poptávku | |
| 110 0 WHR114470 |
C00339968
481249818139 |
Handle,door white | Na dotaz | Zadat poptávku | |
| 130 0 WHR114470 |
C00312433
481241728046 |
Lock Door | Na dotaz | Zadat poptávku | |
| 130 1 WHR114470 |
C00312243
481241728045 |
osa uzaveru dveri | 43 Kč
€ 1.80 |
||
| 131 0 WHR114470 |
C00318057
481241728047 |
desticka uzaveru dv. | 27 Kč
€ 1.10 |
||
| 131 1 WHR114470 |
C00329782
481241728048 |
Plate Doorlock LowerDoorlock Lower | Na dotaz | Zadat poptávku | |
| 141 0 WHR114470 |
C00320431
481245068219 |
Door glass | Na dotaz | Zadat poptávku | |
| 143 0 WHR114470 |
C00340323
481244019342 |
ram dveri | Na dotaz | Zadat poptávku | |
| 144 0 WHR114470 |
C00340711
481245928043 |
Frame,door glas | Na dotaz | Zadat poptávku | |
| 144 1 WHR114470 |
C00345878
481249818137 |
Knob Door safetyDoor safety | Na dotaz | Zadat poptávku | |
| 144 2 WHR114470 |
C00318221
481249258023 |
Spring Door Safety | Na dotaz | Zadat poptávku | |
| 144 3 WHR114470 |
C00313732
481229068153 |
drzak pojistky | Na dotaz | Zadat poptávku | |
| 190 0 WHR114470 |
C00313381
481246068527 |
Door bellow standard | Na dotaz | Zadat poptávku | |
| 190 1 WHR114470 |
C00336859
481953058061 |
Ring | Na dotaz | Zadat poptávku | |
| 190 2 WHR114470 |
C00318256
481953058059 |
spona TVO predni st. | Na dotaz | Zadat poptávku | |
| 200 1 WHR114470 |
C00337428
481941818313 |
nadrz predni cast | Na dotaz | Zadat poptávku | |
| 200 2 WHR114470 |
C00337441
481941818315 |
Tub, half | Na dotaz | Zadat poptávku | |
| 200 3 WHR114470 |
C00339172
481931039229 |
Hub Set | Na dotaz | Zadat poptávku | |
| 220 0 WHR114470 |
C00761095
481241818195 |
Drum | Na dotaz | Zadat poptávku | |
| 223 0 WHR114470 |
C00341177
481951528244 |
Drum lifter | Na dotaz | Zadat poptávku | |
| 271 0 WHR114470 |
C00311078
481235818056 |
Řemen PV 1250 J4 EL pračky Whirlpool | 100 Kč
€ 4.10 |
||
| 272 0 WHR114470 |
C00337067
481252858027 |
pulley DIAM.298DIAM.298 | Na dotaz | Zadat poptávku | |
| 292 0 WHR114470 |
C00340418
481253058094 |
GASKET TUB | Na dotaz | Zadat poptávku | |
| 301 0 WHR114470 |
C00761096
481945319718 |
Panel | Na dotaz | Zadat poptávku | |
| 303 0 WHR114470 |
C00761093
481949878146 |
Grip | Na dotaz | Zadat poptávku | |
| 322 0 WHR114470 |
C00490778
481945919751 |
Insert panel | Na dotaz | Zadat poptávku | |
| 331 0 WHR114470 |
C00760987
481241348235 |
Knob timer 2B | Na dotaz | Zadat poptávku | |
| 331 1 WHR114470 |
C00344646
481241318198 |
Adapter f. button | Na dotaz | Zadat poptávku | |
| 332 0 WHR114470 |
C00337033
481241028547 |
Push button | Na dotaz | Zadat poptávku | |
| 335 0 WHR114470 |
C00338527
481241348228 |
Knob | Na dotaz | Zadat poptávku | |
| 337 0 WHR114470 |
C00760990
481241348233 |
Knob Spin Speed 1200 | Na dotaz | Zadat poptávku | |
| 341 0 WHR114470 |
C00754405
481241378476 |
Index,programm WH | Na dotaz | Zadat poptávku | |
| 354 1 WHR114470 |
C00341475
481213448197 |
Pilot lamp | Na dotaz | Zadat poptávku | |
| 401 0 WHR114470 |
C00315331
481236158094 |
Motor 1000,1200 MCA52/ | Na dotaz | Zadat poptávku | |
| 421 0 WHR114470 |
C00326769
481212118142 |
Interf.filter 1,00 uF1,00 uF. | Na dotaz | Zadat poptávku | |
| 430 0 WHR114470 |
C00337062
481236018362 |
PUMP | Na dotaz | Zadat poptávku | |
| 451 0 WHR114470 |
C00761004
481225928664 |
Heating element WH 2050W/230V | Na dotaz | Zadat poptávku | |
| 490 0 WHR114470 |
C00316393
481932118136 |
Flexo kabel 2 m, konektory | Na dotaz | Zadat poptávku | |
| 490 1 WHR114470 |
C00309418
481232128367 |
Přechodka | 324 Kč
€ 13.30 |
||
| 504 0 WHR114470 |
C00335434
481228218453 |
Timer | Na dotaz | Zadat poptávku | |
| 511 0 WHR114470 |
C00336534
481241348223 |
Selector Temp./Spin | Na dotaz | Zadat poptávku | |
| 571 0 WHR114470 |
C00337287
481228128368 |
VALVE,MAGNET SINGLE | Na dotaz | Zadat poptávku | |
| 581 0 WHR114470 |
C00337555
481227128366 |
PRESSOSTAT | Na dotaz | Zadat poptávku | |
| 620 1 WHR114470 |
C00335726
481227618238 |
Switch Options | Na dotaz | Zadat poptávku | |
| 621 0 WHR114470 |
C00335720
481227618239 |
Switch Start | Na dotaz | Zadat poptávku | |
| 630 0 WHR114470 |
C00315131
481228058019 |
Door lock | Na dotaz | Zadat poptávku | |
| 701 0 WHR114470 |
C00314963
481953028848 |
hadicenapousteci | Na dotaz | Zadat poptávku | |
| 701 1 WHR114470 |
C00316490
481946669704 |
tesneni + sitko | 173 Kč
€ 7.10 |
||
| 702 0 WHR114470 |
C00339219
481253028828 |
Hose, inlet intern | Na dotaz | Zadat poptávku | |
| 707 0 WHR114470 |
C00317102
481252648031 |
Tryska násypky pračky | 104 Kč
€ 4.30 |
||
| 707 1 WHR114470 |
C00332324
481252648028 |
Tryska násypky pračky | Na dotaz | Zadat poptávku | |
| 708 1 WHR114470 |
C00313009
481253048143 |
hadice k násypce pračky Whirlpool uz nebude !!!! | Na dotaz | Zadat poptávku | |
| 711 0 WHR114470 |
C00379106
481241888026 |
Těleso násypky | 1 715 Kč
€ 70.20 |
||
| 712 0 WHR114470 |
C00555263
481241878047 |
NAHRADENE 481241879655 N | Na dotaz | Zadat poptávku | |
| 713 0 WHR114470 |
C00538524
481241888028 |
vlozka nasypky klap. | Na dotaz | Zadat poptávku | |
| 717 0 WHR114470 |
C00760972
481232128369 |
Bowden cable | Na dotaz | Zadat poptávku | |
| 717 1 WHR114470 |
C00328523
481232138013 |
Páčka trysky násypky | Na dotaz | Zadat poptávku | |
| 717 2 WHR114470 |
C00328522
481232138012 |
drzak | 26 Kč
€ 1.10 |
||
| 717 3 WHR114470 |
C00336270
481227888007 |
posouvac | Na dotaz | Zadat poptávku | |
| 717 5 WHR114470 |
C00594206
481241318199 |
Cam. | Na dotaz | Zadat poptávku | |
| 718 0 WHR114470 |
C00490231
481252648032 |
viko prepadu nasypky | Na dotaz | Zadat poptávku | |
| 718 1 WHR114470 |
C00344665
481241888024 |
Accessory 4ch | Na dotaz | Zadat poptávku | |
| 753 1 WHR114470 |
C00342745
481241868143 |
vzdusnik | Na dotaz | Zadat poptávku | |
| 754 0 WHR114470 |
C00312061
481253028826 |
Hadice nádrž-čerpadlo | Na dotaz | Zadat poptávku | |
| 754 1 WHR114470 |
C00309391
481253028832 |
Kulička hadice mezi vanou a čerpadlem pračky Whirpool | 894 Kč
€ 36.60 |
||
| 754 2 WHR114470 |
C00332413
481253028829 |
Flange eco | Na dotaz | Zadat poptávku | |
| 760 0 WHR114470 |
C00340935
481248058075 |
Filter Set Pump | Na dotaz | Zadat poptávku | |
| 760 1 WHR114470 |
C00340427
481241868138 |
Gasket Sieve / Rough | Na dotaz | Zadat poptávku | |
| 781 0 WHR114470 |
C00339372
481253028831 |
HOSE,DRAINING | Na dotaz | Zadat poptávku | |
| 783 0 WHR114470 |
C00317136
481253028827 |
Hose Pressostat | Na dotaz | Zadat poptávku | |
| 786 0 WHR114470 |
C00314984
481253028812 |
Hadice vypouštěcího čerpadla pračky Whirlpool, Bauknecht, Ignis | 584 Kč
€ 23.90 |
||
| 786 1 WHR114470 |
C00317781
481246278179 |
threaded cap | Na dotaz | Zadat poptávku | |
| 787 0 WHR114470 |
C00315511
481253028813 |
hadice odparovaci | 447 Kč
€ 18.30 |
||
| 794 5 WHR114470 |
C00340485
481253058095 |
tesneni vzdusniku | 16 Kč
€ 0.70 |
||
| 901 0 WHR114470 |
C00343335
481240118415 |
CLAMP,HOSE TUB | Na dotaz | Zadat poptávku | |
| 901 2 WHR114470 |
C00335973
481240118401 |
Strap | Na dotaz | Zadat poptávku | |
| 901 3 WHR114470 |
C00316612
481240118414 |
SPONA39,7 | 37 Kč
€ 1.50 |
||
| 902 0 WHR114470 |
C00327311
481229088049 |
Bracket | Na dotaz | Zadat poptávku | |
| 902 1 WHR114470 |
C00327119
481225518204 |
Vnější držák hadic pračky Whirlpool | Na dotaz | Zadat poptávku | |
| 903 0 WHR114470 |
C00327120
481225518205 |
Držák presostatu pračky Whirlpool | Na dotaz | Zadat poptávku | |
| 903 5 WHR114470 |
C00327310
481229088048 |
Cable clamp | Na dotaz | Zadat poptávku | |
| 903 9 WHR114470 |
C00343868
481229088046 |
Cable clamp | Na dotaz | Zadat poptávku | |
| 910 0 WHR114470 |
C00336553
481250218383 |
sroub M8*25loz.domu | 70 Kč
€ 2.90 |
||
| 910 1 WHR114470 |
C00337990
481250518368 |
Nut M10M10 | Na dotaz | Zadat poptávku | |
| 911 7 WHR114470 |
C00332781
481290308014 |
sroub M5x16 H | Na dotaz | Zadat poptávku | |
| 923 0 WHR114470 |
C00337249
481253218024 |
PODLOZKA | Na dotaz | Zadat poptávku | |
| 931 0 WHR114470 |
C00320162
481949238139 |
pruzina | Na dotaz | Zadat poptávku | |
| 932 3 WHR114470 |
C00312651
481249258022 |
Pružina uzávěru dveří | 237 Kč
€ 9.70 |
||
| 932 5 WHR114470 |
C00312356
481249238359 |
Pružina trysky násypky | 13 Kč
€ 0.50 |
||
| 941 0 WHR114470 |
C00314732
481252028004 |
Ložisko 6206 2Z C3 GJN (SKF) | 236 Kč
€ 9.70 |
||
| 941 1 WHR114470 |
C00315230
481252028066 |
Ložisko 6204 2Z C3 GJN (SKF) | 173 Kč
€ 7.10 |
||
| 941 5 WHR114470 |
C00339180
481252018067 |
Hub 1200,48L | Na dotaz | Zadat poptávku | |
| 953 0 WHR114470 |
C00313798
481253058099 |
Shaft seal 1200 | Na dotaz | Zadat poptávku | |
| 953 1 WHR114470 |
C00337964
481253058096 |
krouzek lozisk.domu | Na dotaz | Zadat poptávku | |
| 961 0 WHR114470 |
C00343009
481232148004 |
Cover | Na dotaz | Zadat poptávku | |
| 990 0 WHR114470 |
C00332868
481931039227 |
sroub do zavazi sada | Na dotaz | Zadat poptávku | |
| 990 1 WHR114470 |
C00320457
481931039228 |
Mounting kit Weight bottom | Na dotaz | Zadat poptávku | |
| 993 0 WHR114470 |
C00344289
481253048017 |
Bow | Na dotaz | Zadat poptávku | |
| 993 2 WHR114470 |
C00338394
481226818015 |
Lever,security | Na dotaz | Zadat poptávku | |
| 993 3 WHR114470 |
C00328868
481239558004 |
klic montazni | Na dotaz | Zadat poptávku | |