IGNIS AWV 615/2       WASHING MACHINES      IG
 
             
                 
                
    Zeptejte se. Rádi poradíme.
    
        
            
                
                     
              
        
        
            
    
    
             
            Marek Proche
                    
Zákaznická podpora
            
Po–Čt 8:00—17:00
                
Pá 8:00—15:00             
            
        
            
        poradna@servis-whirlpool.cz     
    
    
| Komerční kód: | AWV 615/2 WASHING MACHINES IG | 
| Kód 12NC: | 858461510720 | 
| I.C. kód: | 858461510723 | 
| Značka: | IGNIS | 
| Typ produktu: | Pračky | 
| Další podobné modely: | 858461510720, 858461510721 | 
Potřebujete servis? Jsme tady pro Vás
Nabídka náhradních dílů
| Číslo | Kód | Název | Cena | ||
|---|---|---|---|---|---|
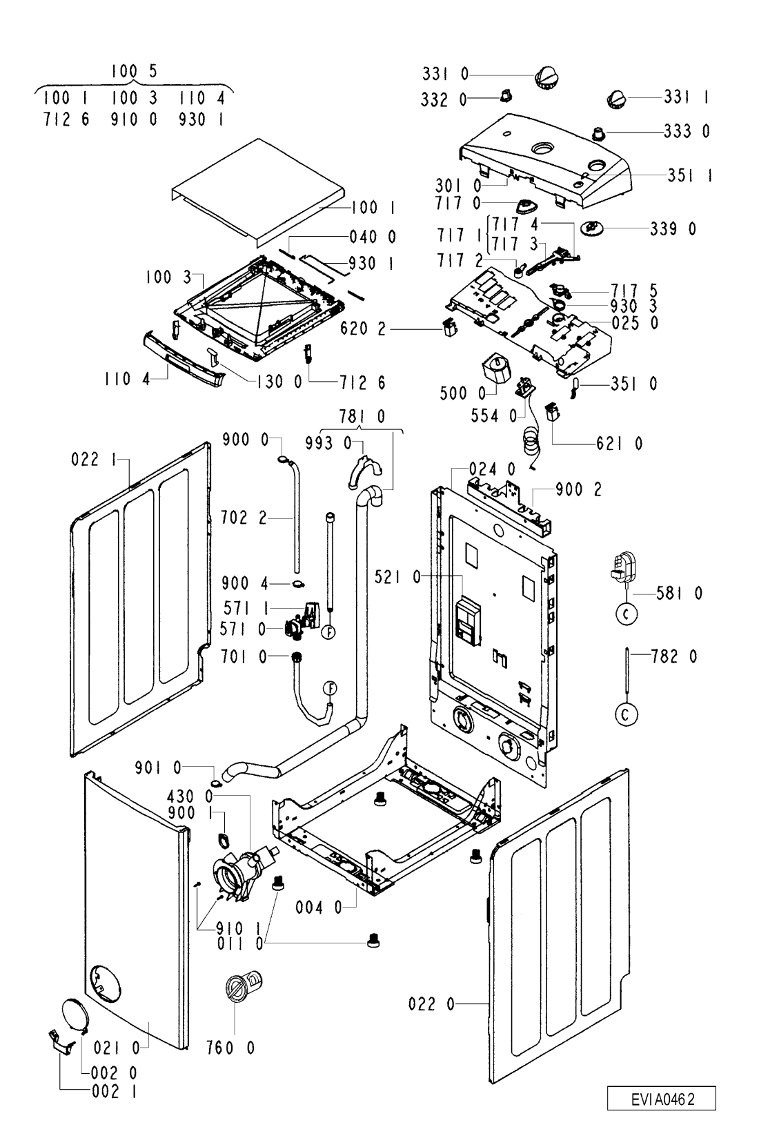
| 002 0 WHR65704 | C00385732 481245938056 | Flap flat LA/IG/RA GW | Na dotaz | Zadat poptávku | |
| 002 1 WHR65704 | C00330219 481245938058 | ZAVES PLAST | 85 Kč € 3.50 | ||
| 004 0 WHR65704 | C00328116 481244019625 | ram zakladni skrine | 836 Kč € 34.40 | ||
| 010 0 WHR65704 | C00330231 481245948175 | Door frame inner GW | Na dotaz | Zadat poptávku | |
| 010 1 WHR65704 | C00621255 481244010836 | horna doska + box +tryska | Na dotaz | Zadat poptávku | |
| 011 0 WHR65704 | C00340814 481946248472 | Foot | Na dotaz | Zadat poptávku | |
| 021 0 WHR65704 | C00385731 481244010837 | Front panel LA/IG/RA GW | Na dotaz | Zadat poptávku | |
| 022 0 WHR65704 | C00327969 481244010839 | stena bocni pravaGW | 3 153 Kč € 129.60 | ||
| 022 1 WHR65704 | C00327970 481244010841 | stena bocni leva GW | 2 665 Kč € 109.50 | ||
| 024 0 WHR65704 | C00336920 481244019631 | stena zadni | Na dotaz | Zadat poptávku | |
| 025 0 WHR65704 | C00482928 481244019633 | nosic elektrodilu | Na dotaz | Zadat poptávku | |
| 040 0 WHR65704 | C00329711 481241719155 | Čep pantu dveří vrchem plněných praček Whirlpool, Indesit AWT 2284, AWT 2050, BTW L50300 | 83 Kč € 3.40 | ||
| 061 0 WHR65704 | C00343092 481246688489 | zavazi horni zadni | Na dotaz | Zadat poptávku | |
| 061 1 WHR65704 | C00343083 481246688491 | zavazi | Na dotaz | Zadat poptávku | |
| 061 2 WHR65704 | C00330990 481246688492 | Counter weight bottom | Na dotaz | Zadat poptávku | |
| 081 4 WHR65704 | C00309362 481252918043 | Tlumič nárazů pračky Whirlpool | 136 Kč € 5.60 | ||
| 086 2 WHR65704 | C00314527 481240118412 | pojistka tlumice | 333 Kč € 13.70 | ||
| 086 3 WHR65704 | C00555632 481252918044 | nahradene 481252918052 | Na dotaz | Zadat poptávku | |
| 086 4 WHR65704 | C00312814 481252918045 | kolik tlum.pruzny | Na dotaz | Zadat poptávku | |
| 086 5 WHR65704 | C00336450 481252918046 | Shaft f. absorber | Na dotaz | Zadat poptávku | |
| 100 1 WHR65704 | C00327971 481244010842 | Kryt dveří pračky AWT | Na dotaz | Zadat poptávku | |
| 100 3 WHR65704 | C00316443 481244010843 | Lid inner GW | Na dotaz | Zadat poptávku | |
| 100 5 WHR65704 | C00377701 481244010892 | dvere pracky komp GW | 2 178 Kč € 89.50 | ||
| 110 4 WHR65704 | C00385730 481249818252 | Handle cpl. LA GW | Na dotaz | Zadat poptávku | |
| 130 0 WHR65704 | C00314425 481241719193 | Hák uzávěru dveří GW | 505 Kč € 20.80 | ||
| 191 0 WHR65704 | C00312647 481246668596 | Těsnění dveří, manžeta (TVO) pračky Whirlpool | 1 318 Kč € 54.20 | ||
| 191 1 WHR65704 | C00384619 481249298014 | Strap f. bellow; f. bellow | Na dotaz | Zadat poptávku | |
| 200 0 WHR65704 | C00337452 481241818242 | Tub | Na dotaz | Zadat poptávku | |
| 201 0 WHR65704 | C00316140 481244019644 | Bočnice nádrže s ložiskem | 2 246 Kč € 92.30 | ||
| 220 0 WHR65704 | C00557988 481241818243 | nahradene 481241818557 | Na dotaz | Zadat poptávku | |
| 223 0 WHR65704 | C00315124 481941849713 | Drum lifter | Na dotaz | Zadat poptávku | |
| 271 0 WHR65704 | C00375541 481235818167 | Řemen pračky Whirlpool 1204 H8 | 107 Kč € 4.40 | ||
| 272 0 WHR65704 | C00312977 481252888083 | Řemenice bubnu (298 mm) vrchem plněné pračky Whirlpool, Indesit | 768 Kč € 31.60 | ||
| 290 0 WHR65704 | C00312292 481253268078 | Těsnění bočnice | 563 Kč € 23.10 | ||
| 301 0 WHR65704 | C00605538 481245213322 | Control panel AWV 615/ | Na dotaz | Zadat poptávku | |
| 331 0 WHR65704 | C00488777 481241278959 | knoflik programatoru | Na dotaz | Zadat poptávku | |
| 331 1 WHR65704 | C00487344 481241278965 | Knoflík | Na dotaz | Zadat poptávku | |
| 332 0 WHR65704 | C00493366 481241029009 | Button | Na dotaz | Zadat poptávku | |
| 333 0 WHR65704 | C00493371 481241029021 | tlacitko ON/OFF | 335 Kč € 13.80 | ||
| 339 0 WHR65704 | C00493517 481241358947 | unasec termostatu | Na dotaz | Zadat poptávku | |
| 351 0 WHR65704 | C00341466 481212498001 | Pilot lampmains | Na dotaz | Zadat poptávku | |
| 351 1 WHR65704 | C00605280 481212418002 | krytka signalky awv5 | Na dotaz | Zadat poptávku | |
| 400 0 WHR65704 | C00377591 481236158146 | motor komutatorovy | 3 870 Kč € 159.00 | ||
| 421 0 WHR65704 | C00326769 481212118142 | Interf.filter 1,00 uF1,00 uF. | Na dotaz | Zadat poptávku | |
| 421 2 WHR65704 | C00329010 481240438679 | Držák | 169 Kč € 6.90 | ||
| 430 0 WHR65704 | C00557958 481236018472 | nahradene 481236018529 P | Na dotaz | Zadat poptávku | |
| 451 0 WHR65704 | C00557938 481225928703 | nahrada 4812 259 28919 | Na dotaz | Zadat poptávku | |
| 490 0 WHR65704 | C00316393 481932118136 | Flexo kabel 2 m, konektory | Na dotaz | Zadat poptávku | |
| 490 1 WHR65704 | C00309418 481232128367 | Přechodka | 324 Kč € 13.30 | ||
| 500 0 WHR65704 | C00377536 481228218856 | programator AWT | 3 637 Kč € 149.50 | ||
| 521 0 WHR65704 | C00380557 481221478455 | regulator motoru | Na dotaz | Zadat poptávku | |
| 554 0 WHR65704 | C00377552 481228248234 | Thermostat TL 0164 | Na dotaz | Zadat poptávku | |
| 571 0 WHR65704 | C00337280 481228128393 | Napouštěcí ventil pračky - jednocestný, boční vývod | Na dotaz | Zadat poptávku | |
| 571 1 WHR65704 | C00342508 481228118049 | kryt ventilu | Na dotaz | Zadat poptávku | |
| 581 0 WHR65704 | C00377502 481227128502 | presostat | Na dotaz | Zadat poptávku | |
| 620 2 WHR65704 | C00491120 481227628369 | spinac | Na dotaz | Zadat poptávku | |
| 621 0 WHR65704 | C00335728 481227618276 | Switch ON/OFF | Na dotaz | Zadat poptávku | |
| 630 0 WHR65704 | C00338990 481227138373 | Door lock hybrid | Na dotaz | Zadat poptávku | |
| 701 0 WHR65704 | C00557593 481953029034 | Pr#vodov# hadica so sitkom | Na dotaz | Zadat poptávku | |
| 702 2 WHR65704 | C00339235 481253028871 | hadice od ventilu | 122 Kč € 5.00 | ||
| 707 0 WHR65704 | C00318593 481252648122 | Box + tryska awt2050 | 234 Kč € 9.60 | ||
| 707 1 WHR65704 | C00332331 481252648049 | Spona boxu trysky | 77 Kč € 3.20 | ||
| 712 6 WHR65704 | C00315600 481241868164 | Příchytka násypka | 285 Kč € 11.70 | ||
| 712 9 WHR65704 | C00553541 481241868289 | nahradene 481241868306 | Na dotaz | Zadat poptávku | |
| 717 0 WHR65704 | C00377568 481232318179 | vacka A1/A2 | Na dotaz | Zadat poptávku | |
| 717 1 WHR65704 | C00488633 481232318183 | Packa plastova | Na dotaz | Zadat poptávku | |
| 717 2 WHR65704 | C00338411 481232318021 | paka trysky distr.vo | 283 Kč € 11.60 | ||
| 717 3 WHR65704 | C00557954 481232318181 | paka distribuce II | Na dotaz | Zadat poptávku | |
| 717 4 WHR65704 | C00557955 481232318182 | paka distribuce | Na dotaz | Zadat poptávku | |
| 717 5 WHR65704 | C00482699 481232318025 | nosic paky distr. | Na dotaz | Zadat poptávku | |
| 753 0 WHR65704 | C00320198 481241868187 | vzdusnik | 154 Kč € 6.30 | ||
| 754 0 WHR65704 | C00309507 481253028938 | Hadice čerpadlo - nádrž pračky Whirlpool, Indesit, Bauknecht, Ignis | 634 Kč € 26.10 | ||
| 754 1 WHR65704 | C00309391 481253028832 | Kulička hadice mezi vanou a čerpadlem pračky Whirpool | 894 Kč € 36.70 | ||
| 760 0 WHR65704 | C00320131 481248058089 | Filtr čerpadla AWT | 844 Kč € 34.70 | ||
| 781 0 WHR65704 | C00557375 481253028953 | hadicevytokova | Na dotaz | Zadat poptávku | |
| 782 0 WHR65704 | C00332415 481253028941 | hadice k presostatu | 107 Kč € 4.40 | ||
| 787 0 WHR65704 | C00377873 481253028942 | hadice odparovaci | 518 Kč € 21.30 | ||
| 787 1 WHR65704 | C00493709 481253028943 | krytka | Na dotaz | Zadat poptávku | |
| 794 0 WHR65704 | C00319466 481253058098 | tesneni vzdusniku Náhrada 481010395017 | Na dotaz | Zadat poptávku | |
| 900 0 WHR65704 | C00335942 481229068157 | Strap SNP 8 | Na dotaz | Zadat poptávku | |
| 900 1 WHR65704 | C00328873 481240118431 | Spona hadice cerpadl | 177 Kč € 7.30 | ||
| 900 2 WHR65704 | C00335859 481240118461 | drzak hadic | Na dotaz | Zadat poptávku | |
| 900 3 WHR65704 | C00309461 481940118529 | Spona nádrž-čerpadlo | 105 Kč € 4.30 | ||
| 900 4 WHR65704 | C00335940 481940118362 | Spona plastová SNP8 | Na dotaz | Zadat poptávku | |
| 901 0 WHR65704 | C00328877 481240118462 | Spona vytokovej hadi | Na dotaz | Zadat poptávku | |
| 910 0 WHR65704 | C00318431 481250248347 | sroub CCTFI 3,5x14 | 284 Kč € 11.70 | ||
| 910 1 WHR65704 | C00332152 481250238151 | Šroubek (4x14) vrchem plněné pračky Whirlpool AWE 50510, AWT 2284, AWT 8123 D. | 50 Kč € 2.10 | ||
| 910 3 WHR65704 | C00312644 481250218404 | Šroub řemenice pračky Whirlpool | 75 Kč € 3.10 | ||
| 910 4 WHR65704 | C00318381 481250218423 | Šroub PT 7x15 | 61 Kč € 2.50 | ||
| 910 5 WHR65704 | C00336568 481250218401 | sroub do zavazi | Na dotaz | Zadat poptávku | |
| 910 6 WHR65704 | C00345896 481250218399 | Nut Push in M 8Push in M 8 | Na dotaz | Zadat poptávku | |
| 921 0 WHR65704 | C00314517 481240018047 | Washer | Na dotaz | Zadat poptávku | |
| 930 1 WHR65704 | C00318211 481249248171 | Pružiny dveří - torzní (sada) | 277 Kč € 11.40 | ||
| 930 2 WHR65704 | C00316647 481249248162 | Pružina agregátu | 716 Kč € 29.40 | ||
| 930 3 WHR65704 | C00336091 481232318019 | pruzina dist.vody | Na dotaz | Zadat poptávku | |
| 941 0 WHR65704 | C00318643 481231018578 | Bearing Kit | Na dotaz | Zadat poptávku | |
| 953 0 WHR65704 | C00319719 481232568001 | Těsnění bubnu VA 22 Náhrada 481010777092 | Na dotaz | Zadat poptávku | |
| 962 0 WHR65704 | C00485097 481244019645 | kryt motoru | Na dotaz | Zadat poptávku | |
| 990 0 WHR65704 | C00340894 481231018504 | sroub -set do zavazi | Na dotaz | Zadat poptávku | |
| 990 2 WHR65704 | C00327328 481231018506 | Šrouby do závaží-sada | 212 Kč € 8.70 | ||
| 993 0 WHR65704 | C00316831 481953029028 | Ohyb plastový/držák vypouštěcí hadice pračky | Na dotaz | Zadat poptávku | |
| 993 1 WHR65704 | C00312135 481229018025 | Clamp heating element | Na dotaz | Zadat poptávku | |