WHIRLPOOL AWZ 220
 
             
                 
                
    Zeptejte se. Rádi poradíme.
    
        
            
                
                     
              
        
        
            
    
    
             
            Marek Proche
                    
Zákaznická podpora
            
Po–Čt 8:00—17:00
                
Pá 8:00—15:00             
            
        
            
        poradna@servis-whirlpool.cz     
    
    
| Komerční kód: | AWZ 220 | 
| Kód 12NC: | 857522015000 | 
| I.C. kód: | 857522015001 | 
| Značka: | WHIRLPOOL | 
| Typ produktu: | Sušičky | 
| Další podobné modely: | 857522015000, Q0924390000, Q0924390001, 857522080920, 857522080923, 857522080924, 857522080922, 857522080921 | 
Potřebujete servis? Jsme tady pro Vás
Nabídka náhradních dílů
| Číslo | Kód | Název | Cena | ||
|---|---|---|---|---|---|
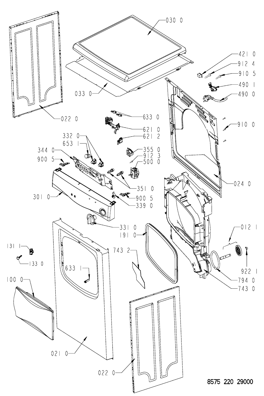
| 004 0 WHR05630 | C00314562 481244010615 | kryt ventilatoru | Na dotaz | Zadat poptávku | |
| 011 0 WHR05630 | C00312250 481250018054 | Nastavitelná noha sušičky Whirlpool AZA 799, DDLX 70112, FFT M11 8X3B BE. | 39 Kč € 1.60 | ||
| 012 0 WHR05630 | C00311093 481252878033 | kolecko bubnu | 822 Kč € 33.80 | ||
| 012 1 WHR05630 | C00311104 481252898003 | Kolečko bubnu | 891 Kč € 36.60 | ||
| 012 2 WHR05630 | C00316679 481252028068 | osa kolecka zadniho | Na dotaz | Zadat poptávku | |
| 021 0 WHR05630 | C00340667 481244019387 | PANEL | Na dotaz | Zadat poptávku | |
| 022 0 WHR05630 | C00341500 481244019445 | Panel side | Na dotaz | Zadat poptávku | |
| 024 0 WHR05630 | C00341540 481244019467 | Panel rear from 98/34 | Na dotaz | Zadat poptávku | |
| 030 0 WHR05630 | C00316164 481244019779 | Table top R0 VBL R0 VBL | Na dotaz | Zadat poptávku | |
| 033 0 WHR05630 | C00318645 481231018582 | Kit Push in cover | Na dotaz | Zadat poptávku | |
| 100 0 WHR05630 | C00338973 481241618182 | dvere susicky | Na dotaz | Zadat poptávku | |
| 131 1 WHR05630 | C00317473 481227138362 | Door lock | Na dotaz | Zadat poptávku | |
| 133 0 WHR05630 | C00319948 481241728049 | Pin Door | Na dotaz | Zadat poptávku | |
| 191 0 WHR05630 | C00314982 481246668539 | Gasket door | Na dotaz | Zadat poptávku | |
| 220 0 WHR05630 | C00341204 481241818279 | Drum | Na dotaz | Zadat poptávku | |
| 223 0 WHR05630 | C00341178 481241888027 | Drum lifter | Na dotaz | Zadat poptávku | |
| 271 0 WHR05630 | C00314936 481235818162 | Belt 1965-H7 EH81 | Na dotaz | Zadat poptávku | |
| 273 0 WHR05630 | C00311000 481235818055 | Napínací kladka sušičky prádla Whirlpool, Ignis | 863 Kč € 35.50 | ||
| 291 0 WHR05630 | C00312073 481246668563 | Těsnění bubnu přední | Na dotaz | Zadat poptávku | |
| 291 1 WHR05630 | C00340447 481246668541 | Gasket Fluff Filter | Na dotaz | Zadat poptávku | |
| 291 2 WHR05630 | C00315965 481246668562 | Gasket Drum rear | Na dotaz | Zadat poptávku | |
| 301 0 WHR05630 | C00342606 481245210371 | CONTROL PANEL | Na dotaz | Zadat poptávku | |
| 331 0 WHR05630 | C00341861 481241458103 | Knob WH AV TSWH AV TS | Na dotaz | Zadat poptávku | |
| 332 0 WHR05630 | C00320103 481227618311 | tlacitko | Na dotaz | Zadat poptávku | |
| 339 0 WHR05630 | C00318387 481241348305 | Adapter f. button | Na dotaz | Zadat poptávku | |
| 344 0 WHR05630 | C00339688 481246448116 | Holder | Na dotaz | Zadat poptávku | |
| 351 0 WHR05630 | C00341482 481213448227 | Pilot lamp | Na dotaz | Zadat poptávku | |
| 355 0 WHR05630 | C00343958 481228018023 | Buzzer | Na dotaz | Zadat poptávku | |
| 401 0 WHR05630 | C00313823 481236118361 | Motor incl. fan wheel | Na dotaz | Zadat poptávku | |
| 401 1 WHR05630 | C00315365 481240118421 | spona motoru | Na dotaz | Zadat poptávku | |
| 420 0 WHR05630 | C00311778 481212118144 | Rozběhový kondenzátor 10uF sušičky prádla Whirlpool | 204 Kč € 8.40 | ||
| 421 0 WHR05630 | C00313712 481212118161 | Interf.filter | Na dotaz | Zadat poptávku | |
| 443 0 WHR05630 | C00311873 481236118292 | Blower wheel | Na dotaz | Zadat poptávku | |
| 456 0 WHR05630 | C00311187 481225928675 | Topné těleso sušičky prádla Whirlpool | 1 765 Kč € 72.50 | ||
| 490 0 WHR05630 | C00328488 481232118063 | Cable mains UK | Na dotaz | Zadat poptávku | |
| 490 1 WHR05630 | C00313305 488000313305 | Strain relief | Na dotaz | Zadat poptávku | |
| 500 0 WHR05630 | C00315666 481228218457 | Timer EC4605.01 TRA EC4605.01 | Na dotaz | Zadat poptávku | |
| 551 3 WHR05630 | C00312421 481227128369 | termostat susicky ST | Na dotaz | Zadat poptávku | |
| 621 0 WHR05630 | C00312641 481227818003 | Switch start reset | Na dotaz | Zadat poptávku | |
| 621 2 WHR05630 | C00320043 481227618278 | Spínač sušičky prádla Whirlpool | 745 Kč € 30.60 | ||
| 633 0 WHR05630 | C00315649 481227618248 | spinac tlacitkovy | 716 Kč € 29.40 | ||
| 633 1 WHR05630 | C00316629 481227618271 | kolik | Na dotaz | Zadat poptávku | |
| 653 1 WHR05630 | C00340146 481204728001 | Guide,light WH VBL | Na dotaz | Zadat poptávku | |
| 743 0 WHR05630 | C00344604 481253048145 | navadec vzduchu | Na dotaz | Zadat poptávku | |
| 743 1 WHR05630 | C00339957 481253018011 | Heating chamber | Na dotaz | Zadat poptávku | |
| 743 2 WHR05630 | C00330911 481246668538 | tesneni | Na dotaz | Zadat poptávku | |
| 761 0 WHR05630 | C00340972 481248058077 | filtr susicky | Na dotaz | Zadat poptávku | |
| 794 0 WHR05630 | C00319697 481246628107 | Gasket | Na dotaz | Zadat poptávku | |
| 900 5 WHR05630 | C00343410 481253228915 | SVORKA | Na dotaz | Zadat poptávku | |
| 902 1 WHR05630 | C00344157 481225638002 | Bracket Roller | Na dotaz | Zadat poptávku | |
| 903 0 WHR05630 | C00332660 481253228028 | SPONA PLASTOVA | Na dotaz | Zadat poptávku | |
| 910 0 WHR05630 | C00336554 481250238057 | Screw Torx 4,2x13 | Na dotaz | Zadat poptávku | |
| 910 5 WHR05630 | C00336551 481950238265 | sroub VAB 4,5*20 | Na dotaz | Zadat poptávku | |
| 910 8 WHR05630 | C00332164 481250248348 | Screw ST 4,2x11 | Na dotaz | Zadat poptávku | |
| 912 3 WHR05630 | C00336600 481250218369 | Screw A2F M4x6 | Na dotaz | Zadat poptávku | |
| 912 4 WHR05630 | C00316665 481250248015 | Šroub 4x16 | 68 Kč € 2.80 | ||
| 922 0 WHR05630 | C00311927 481253258005 | pojistka kolecka sus | Na dotaz | Zadat poptávku | |
| 922 1 WHR05630 | C00320733 481253258007 | pojistka kolecka sus | 149 Kč € 6.10 | ||
| 962 0 WHR05630 | C00330880 481246638012 | Protector Motor | Na dotaz | Zadat poptávku | |
| 993 0 WHR05630 | C00327219 481226378014 | priruba hadice plast | Na dotaz | Zadat poptávku | |
| 993 1 WHR05630 | C00314770 481231018413 | sada pro odvětrání sušičky | Na dotaz | Zadat poptávku | |
| 999 WHR05630 | C00371789 | SERVICE MANUAL WHP | Na dotaz | Zadat poptávku | |
| 999 WHR05630 | C00371790 | SERVICE MANUAL WHP | Na dotaz | Zadat poptávku | |
| 999 WHR05630 | C00371902 | SERVICE MANUAL WHP | Na dotaz | Zadat poptávku | |