WHIRLPOOL AWZ 220/3       TUMBLE DRYER          WP
 
             
                 
                
    Zeptejte se. Rádi poradíme.
    
        
            
                
                     
              
        
        
            
    
    
             
            Marek Proche
                    
Zákaznická podpora
            
Po–Čt 8:00—17:00
                
Pá 8:00—15:00             
            
        
            
        poradna@servis-whirlpool.cz     
    
    
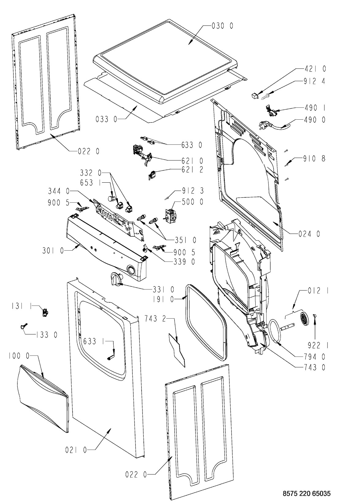
| Komerční kód: | AWZ 220/3 TUMBLE DRYER WP | 
| Kód 12NC: | 857522065030 | 
| I.C. kód: | 857522065035 | 
| Značka: | WHIRLPOOL | 
| Typ produktu: | Sušičky | 
| Další podobné modely: | 857522065034, 857522065030, 857522065033, 857522065932, 857522065930, 857522065933, 857522065931, 857522065934 | 
Potřebujete servis? Jsme tady pro Vás
Nabídka náhradních dílů
| Číslo | Kód | Název | Cena | ||
|---|---|---|---|---|---|
| 004 0 WHR75538 | C00344297 481244011038 | kryt ventilatoru | Na dotaz | Zadat poptávku | |
| 004 1 WHR75538 | C00337127 481246638078 | Protec,el.parts /bottom AV | Na dotaz | Zadat poptávku | |
| 011 0 WHR75538 | C00312250 481250018054 | Nastavitelná noha sušičky Whirlpool AZA 799, DDLX 70112, FFT M11 8X3B BE. | 39 Kč € 1.60 | ||
| 012 0 WHR75538 | C00311093 481252878033 | kolecko bubnu | 822 Kč € 33.80 | ||
| 012 1 WHR75538 | C00311104 481252898003 | Kolečko bubnu | 891 Kč € 36.60 | ||
| 012 2 WHR75538 | C00316679 481252028068 | osa kolecka zadniho | Na dotaz | Zadat poptávku | |
| 021 0 WHR75538 | C00327972 481244010867 | Front panel RO GW | Na dotaz | Zadat poptávku | |
| 022 0 WHR75538 | C00327967 481244010821 | stena bocni prava | Na dotaz | Zadat poptávku | |
| 024 0 WHR75538 | C00341542 481244010713 | Panel rear AV | Na dotaz | Zadat poptávku | |
| 030 0 WHR75538 | C00316449 481244010881 | Deska horní | Na dotaz | Zadat poptávku | |
| 033 0 WHR75538 | C00318645 481231018582 | Kit Push in cover | Na dotaz | Zadat poptávku | |
| 100 0 WHR75538 | C00341292 481241618929 | DoorR0 WH VBL GW | Na dotaz | Zadat poptávku | |
| 131 1 WHR75538 | C00313210 481227138462 | Zámek sušičky | 123 Kč € 5.10 | ||
| 133 0 WHR75538 | C00311468 481241728094 | kolik dveri | Na dotaz | Zadat poptávku | |
| 191 0 WHR75538 | C00314982 481246668539 | Gasket door | Na dotaz | Zadat poptávku | |
| 220 0 WHR75538 | C00311837 481241818177 | Buben sušičky | Na dotaz | Zadat poptávku | |
| 223 0 WHR75538 | C00316053 481241889017 | žebro bubnu sušičky | Na dotaz | Zadat poptávku | |
| 271 0 WHR75538 | C00313102 481235818186 | Řemen PV 1965 H6 EH80 sušičky prádla Whirlpool, Ignis | 150 Kč € 6.20 | ||
| 273 0 WHR75538 | C00311000 481235818055 | Napínací kladka sušičky prádla Whirlpool, Ignis | 863 Kč € 35.50 | ||
| 275 0 WHR75538 | C00345784 481249268129 | pruzina napin. kladk | Na dotaz | Zadat poptávku | |
| 291 0 WHR75538 | C00312073 481246668563 | Těsnění bubnu přední | Na dotaz | Zadat poptávku | |
| 291 2 WHR75538 | C00311349 481246668837 | Těsnění bubnu zadní | Na dotaz | Zadat poptávku | |
| 301 0 WHR75538 | C00483134 481245213525 | Control panel AWZ 220/3 | Na dotaz | Zadat poptávku | |
| 331 0 WHR75538 | C00373790 481241458208 | Knoflík časovače | Na dotaz | Zadat poptávku | |
| 332 0 WHR75538 | C00318337 481227618441 | Tlačítko ON/OFF sušičky prádla Whirlpool | 214 Kč € 8.80 | ||
| 339 0 WHR75538 | C00317982 481223318006 | unasec knofliku | 311 Kč € 12.80 | ||
| 344 0 WHR75538 | C00339688 481246448116 | Holder | Na dotaz | Zadat poptávku | |
| 351 0 WHR75538 | C00341482 481213448227 | Pilot lamp | Na dotaz | Zadat poptávku | |
| 401 0 WHR75538 | C00313194 481236118533 | Motor sušičky | 4 784 Kč € 196.60 | ||
| 401 1 WHR75538 | C00315365 481240118421 | spona motoru | Na dotaz | Zadat poptávku | |
| 420 0 WHR75538 | C00311778 481212118144 | Rozběhový kondenzátor 10uF sušičky prádla Whirlpool | 204 Kč € 8.40 | ||
| 421 0 WHR75538 | C00318174 481212118158 | Interf.filter - 68820-06 | Na dotaz | Zadat poptávku | |
| 443 0 WHR75538 | C00313112 481236118537 | Kolo ventilátoru, vrtule sušičky prádla Whirlpool | 855 Kč € 35.10 | ||
| 443 2 WHR75538 | C00311527 481229088096 | Pojistka, závlačka vrtule ventilátoru sušičky prádla Whirlpool | 149 Kč € 6.10 | ||
| 456 0 WHR75538 | C00313647 481231028307 | Topení sušičky | 1 871 Kč € 76.90 | ||
| 490 0 WHR75538 | C00316380 481232118044 | CABLE,MAINS 5M 4X1 | Na dotaz | Zadat poptávku | |
| 490 1 WHR75538 | C00335990 481232128421 | Strain relief | Na dotaz | Zadat poptávku | |
| 492 1 WHR75538 | C00343321 481240118195 | Clip | Na dotaz | Zadat poptávku | |
| 500 0 WHR75538 | C00315666 481228218457 | Timer EC4605.01 TRA EC4605.01 | Na dotaz | Zadat poptávku | |
| 551 3 WHR75538 | C00311405 481228208651 | Thermostat 1/2 | Na dotaz | Zadat poptávku | |
| 621 0 WHR75538 | C00311721 481227618309 | Switch Start/Reset | Na dotaz | Zadat poptávku | |
| 621 2 WHR75538 | C00320043 481227618278 | Spínač sušičky prádla Whirlpool | 745 Kč € 30.60 | ||
| 633 0 WHR75538 | C00315649 481227618248 | spinac tlacitkovy | 716 Kč € 29.40 | ||
| 633 1 WHR75538 | C00312237 481227618422 | Kolík | Na dotaz | Zadat poptávku | |
| 653 1 WHR75538 | C00340146 481204728001 | Guide,light WH VBL | Na dotaz | Zadat poptávku | |
| 743 0 WHR75538 | C00316709 481253048631 | navadec vzduchu | 2 260 Kč € 92.90 | ||
| 743 1 WHR75538 | C00343139 481253048151 | Conveyor | Na dotaz | Zadat poptávku | |
| 743 2 WHR75538 | C00330911 481246668538 | tesneni | Na dotaz | Zadat poptávku | |
| 761 0 WHR75538 | C00317019 481248058323 | Filtr do dveří sušičky prádla Whirlpool | 983 Kč € 40.40 | ||
| 794 0 WHR75538 | C00319697 481246628107 | Gasket | Na dotaz | Zadat poptávku | |
| 900 1 WHR75538 | C00343322 481229088053 | PLASTOVA PRICHYTKA | Na dotaz | Zadat poptávku | |
| 900 5 WHR75538 | C00343375 481253228923 | Clamp f. control panel | Na dotaz | Zadat poptávku | |
| 902 1 WHR75538 | C00344157 481225638002 | Bracket Roller | Na dotaz | Zadat poptávku | |
| 903 0 WHR75538 | C00332660 481253228028 | SPONA PLASTOVA | Na dotaz | Zadat poptávku | |
| 910 8 WHR75538 | C00332164 481250248348 | Screw ST 4,2x11 | Na dotaz | Zadat poptávku | |
| 912 3 WHR75538 | C00336600 481250218369 | Screw A2F M4x6 | Na dotaz | Zadat poptávku | |
| 912 4 WHR75538 | C00316665 481250248015 | Šroub 4x16 | 68 Kč € 2.80 | ||
| 922 0 WHR75538 | C00311927 481253258005 | pojistka kolecka sus | Na dotaz | Zadat poptávku | |
| 922 1 WHR75538 | C00320733 481253258007 | pojistka kolecka sus | 149 Kč € 6.10 | ||
| 962 0 WHR75538 | C00330880 481246638012 | Protector Motor | Na dotaz | Zadat poptávku | |
| 993 0 WHR75538 | C00327219 481226378014 | priruba hadice plast | Na dotaz | Zadat poptávku | |
| 993 1 WHR75538 | C00314770 481231018413 | sada pro odvětrání sušičky | Na dotaz | Zadat poptávku | |