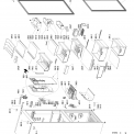
WHIRLPOOL BSNF 8152 S
Zeptejte se. Rádi poradíme.
Marek Proche
Zákaznická podpora
Po–Čt 8:00—17:00
Pá 8:00—15:00
poradna@servis-whirlpool.cz
| Komerční kód: | BSNF 8152 S |
| Kód 12NC/I.C. kód: | 850526911260 |
| Značka: | WHIRLPOOL |
| Typ produktu: | Volně stojící lednice s mrazákem |
| Další podobné modely: | 850526911261, 850526911262 |
Potřebujete servis? Jsme tady pro Vás
Nabídka náhradních dílů
| Číslo | Kód | Název | Cena | ||
|---|---|---|---|---|---|
| 0110 WHR11470 |
C00330455
481246218263 |
noha lednice | 77 Kč
€ 3.20 |
||
| 1020 WHR11470 |
C00448263
481010883466 |
DVEŘE MRAZNIČKY SILVER | Na dotaz | Zadat poptávku | |
| 1040 WHR11470 |
C00448262
481010883463 |
Door refriger. silver | Na dotaz | Zadat poptávku | |
| 1050 WHR11470 |
C00314049
481010628165 |
Pouzdro - sada závěsu dveří chladničky Whirlpool, Indesit | 284 Kč
€ 11.70 |
||
| 1051 WHR11470 |
C00325740
481010627601 |
Pouzdro - pravé, sada závěsu dveří chladničky Whirlpool | 567 Kč
€ 23.30 |
||
| 1052 WHR11470 |
C00325759
481010632826 |
Pouzdro závěsu dveří - levé, sada chladničky Whirlpool, Indesit | 560 Kč
€ 23.00 |
||
| 1100 WHR11470 |
C00339999
481010751183 |
madlo dveří chladnička/mrazák | Na dotaz | Zadat poptávku | |
| 1117 WHR11470 |
C00312872
481010465600 |
Logo náhrada C00312872 | Na dotaz | Zadat poptávku | |
| 1520 WHR11470 |
C00316010
481010545533 |
Police do dveří chladničky Whirlpool | 732 Kč
€ 30.10 |
||
| 1521 WHR11470 |
C00344308
481010756467 |
Police lahví 467 | Na dotaz | Zadat poptávku | |
| 1523 WHR11470 |
C00324887
481010592791 |
Police - malá do dveří chladničky Whirlpool | 592 Kč
€ 24.30 |
||
| 1524 WHR11470 |
C00340837
481010545542 |
viko | 405 Kč
€ 16.60 |
||
| 1525 WHR11470 |
C00325132
481010545180 |
Separátor | Na dotaz | Zadat poptávku | |
| 1526 WHR11470 |
C00339310
481010756466 |
police do dveří chladničky Whirlpool Small Items | Na dotaz | Zadat poptávku | |
| 1561 WHR11470 |
C00325403
481010575475 |
Držák vajec zkosený do police dveří chladničky Whirlpool, Indesit | 65 Kč
€ 2.70 |
||
| 1810 WHR11470 |
C00312289
480132102827 |
Tlumič | 59 Kč
€ 2.40 |
||
| 1830 WHR11470 |
C00324399
481010461412 |
Držák kompresoru | 227 Kč
€ 9.30 |
||
| 1851 WHR11470 |
C00522120
481010443535 |
Noha (zadní) chladničky Whirlpool | 272 Kč
€ 11.20 |
||
| 1880 WHR11470 |
C00339806
481010720304 |
Závěs dveří mrazničky spodní | 101 Kč
€ 4.20 |
||
| 1882 WHR11470 |
C00339770
481010731172 |
Hinge upper FJORD Náhrada C00339770 |
Na dotaz | Zadat poptávku | |
| 1883 WHR11470 |
C00339793
481010737284 |
Závěs dveří - střední chladničky Whirlpool, Indesit | 405 Kč
€ 16.60 |
||
| 1910 WHR11470 |
C00338276
481010777349 |
Těsnění magnetické | Na dotaz | Zadat poptávku | |
| 1911 WHR11470 |
C00338277
481010777352 |
Těsnění magnetické | Na dotaz | Zadat poptávku | |
| 2010 WHR11470 |
C00342368
481010670579 |
COVER REAR FREEZER | Na dotaz | Zadat poptávku | |
| 2332 WHR11470 |
C00340727
481010729094 |
Rám | 159 Kč
€ 6.50 |
||
| 2393 WHR11470 |
C00338358
481010703806 |
Lid Quick Ice PART DOES NOT EXIST | Na dotaz | Zadat poptávku | |
| 2397 WHR11470 |
C00339193
481010716596 |
Pouzdro | Na dotaz | Zadat poptávku | |
| 2398 WHR11470 |
C00339166
481010703805 |
miska na led | 1 217 Kč
€ 50.00 |
||
| 2410 WHR11470 |
C00342267
481010694099 |
Zásuvka na zeleninu MAXI BOX | Na dotaz | Zadat poptávku | |
| 2411 WHR11470 |
C00341227
481010694097 |
Koš mrazničky | Na dotaz | Zadat poptávku | |
| 2412 WHR11470 |
C00341228
481010694093 |
Spodní koš mrazáku chladničky Whirlpool, Indesit | 1 154 Kč
€ 47.40 |
||
| 2413 WHR11470 |
C00341229
481010694106 |
Zásuvka chladničky-FFC COOLER COMPARTMENT WP | Na dotaz | Zadat poptávku | |
| 2415 WHR11470 |
C00341226
481010694095 |
Střední (velký) koš mrazáku kombinované chladničky Whirlpool, Indesit BSF 8353 OX, BSNF 8 | 1 295 Kč
€ 53.20 |
||
| 2426 WHR11470 |
C00336501
481010753760 |
Separátor XXL | 341 Kč
€ 14.00 |
||
| 2427 WHR11470 |
C00448259
481010882057 |
Nádoba do prostoru chladničky | 447 Kč
€ 18.40 |
||
| 2428 WHR11470 |
C00344277
481010778822 |
Nádobka+víko | Na dotaz | Zadat poptávku | |
| 2440 WHR11470 |
C00340336
481010746926 |
Skleněná police + krycí lišta - přední chladničky Whirlpool | 770 Kč
€ 31.70 |
||
| 2441 WHR11470 |
C00340331
481010667591 |
Skleněná police (včetně ochranných lišt) chladničky Whirlpool | 647 Kč
€ 26.60 |
||
| 2442 WHR11470 |
C00340334
481010708801 |
Skleněná police chladničky Whirlpool | 770 Kč
€ 31.70 |
||
| 2445 WHR11470 |
C00344323
481010748360 |
Drátěná police na lahve chladničky Whirlpool | 821 Kč
€ 33.80 |
||
| 2448 WHR11470 |
C00340333
481010668655 |
Skleněná police do mrazáku chladničky Whirlpool, Indesit | 522 Kč
€ 21.50 |
||
| 2449 WHR11470 |
C00340332
481010667585 |
Skleněná police do mrazáku chladničky Whirlpool | 457 Kč
€ 18.80 |
||
| 2493 WHR11470 |
C00337523
481010746961 |
Krycí lišta - přední skleněné police chladničky Whirlpool, Indesit | 209 Kč
€ 8.60 |
||
| 2498 WHR11470 |
C00337524
481010716068 |
Krycí lišta - zadní skleněné police chladničky Whirlpool, Indesit | 375 Kč
€ 15.40 |
||
| 2610 WHR11470 |
C00336255
481010728747 |
Slide FFC drawer left | 232 Kč
€ 9.50 |
||
| 2611 WHR11470 |
C00336254
481010728749 |
Slide FFC drawer right | 239 Kč
€ 9.80 |
||
| 2614 WHR11470 |
C00336251
481010703802 |
SLIDE FREEZER DRAWER XXL LEFT | Na dotaz | Zadat poptávku | |
| 2615 WHR11470 |
C00336250
481010703803 |
SLIDE FREEZER DRAWER XXL RIGHT | Na dotaz | Zadat poptávku | |
| 2617 WHR11470 |
C00336253
481010703784 |
Držák | 175 Kč
€ 7.20 |
||
| 2618 WHR11470 |
C00336252
481010703785 |
držák | 175 Kč
€ 7.20 |
||
| 3011 WHR11470 |
C00338758
481010752413 |
Insert panel printed WP | Na dotaz | Zadat poptávku | |
| 3014 WHR11470 |
C00343113
481010747036 |
Záslepka | 22 Kč
€ 0.90 |
||
| 3015 WHR11470 |
C00343111
481010747031 |
Záslepka závěsu pravá | 58 Kč
€ 2.40 |
||
| 4020 WHR11470 |
C00324657
481010496805 |
KOMPRESOR EMC 70 CLT TL CP (K) | Na dotaz | Zadat poptávku | |
| 4021 WHR11470 |
C00380767
481010762775 |
Miska na kondenzát | Na dotaz | Zadat poptávku | |
| 4022 WHR11470 |
C00318606
480132101608 |
ventil | Na dotaz | Zadat poptávku | |
| 4023 WHR11470 |
C00336454
481252448009 |
ZÁVLAČKA PRUŽNÁ | Na dotaz | Zadat poptávku | |
| 4024 WHR11470 |
C00336352
481052348411 |
SHOCK ABSORBER COMPRESSOR | Na dotaz | Zadat poptávku | |
| 4200 WHR11470 |
C00318160
481212028053 |
Kondenzátor 5 µF | 191 Kč
€ 7.90 |
||
| 4400 WHR11470 |
C00341066
481010757324 |
Ventilator chladničky | 1 606 Kč
€ 66.00 |
||
| 4410 WHR11470 |
C00341065
481010751022 |
Fan assy UF60 NF | Na dotaz | Zadat poptávku | |
| 4900 WHR11470 |
C00326405
481050090860 |
NAPÁJECÍ KABEL 'SE ZÁSTRČKOU 2000MM | Na dotaz | Zadat poptávku | |
| 4910 WHR11470 |
C00323692
480132102717 |
TERMINAL COVER EVAPORATOR INARCA | Na dotaz | Zadat poptávku | |
| 4912 WHR11470 |
C00342553
481010759914 |
FAN COVER SUPREMENOFROST | Na dotaz | Zadat poptávku | |
| 4913 WHR11470 |
C00318976
481010553122 |
Kryt | 56 Kč
€ 2.30 |
||
| 5210 WHR11470 |
C00386977
481010796801 |
Elektronický termostat chladničky Whirlpool | 2 656 Kč
€ 109.20 |
||
| 5612 WHR11470 |
C00256950
481229068325 |
kryt rele | Na dotaz | Zadat poptávku | |
| 5620 WHR11470 |
C00325031
481010527402 |
Termostat s bimetalovou pojistkou chladničky Whirlpool | 824 Kč
€ 33.90 |
||
| 6140 WHR11470 |
C00320910
481228068376 |
Monoblock - startovací relé TX1C3 chladničky Whirlpool, Indesit | 959 Kč
€ 39.40 |
||
| 6914 WHR11470 |
C00342361
481010736347 |
Kryt senzoru Fresh Control chladničky Whirlpool | 104 Kč
€ 4.30 |
||
| 6915 WHR11470 |
C00323525
480132101611 |
kryt senzoru | 96 Kč
€ 3.90 |
||
| 6917 WHR11470 |
C00314452
481231019153 |
senzor | 864 Kč
€ 35.50 |
||
| 6919 WHR11470 |
C00343343
481010731107 |
CLAMP SENSOR | Na dotaz | Zadat poptávku | |
| 7400 WHR11470 |
C00343518
481010750009 |
KONDENZÁTOR POT W585MM X H1248MM | Na dotaz | Zadat poptávku | |
| 7430 WHR11470 |
C00342441
481010670518 |
Kryt ventilatoru | 1 636 Kč
€ 67.30 |
||
| 7435 WHR11470 |
C00338830
481010766417 |
INSERT MULTIFLOW PRINTED WP | Na dotaz | Zadat poptávku | |
| 7450 WHR11470 |
C00382986
481010770688 |
Evaporator kit NF+longer heater+fan+fuse | Na dotaz | Zadat poptávku | |
| 7451 WHR11470 |
C00341088
481010765310 |
EVAPORATOR ROLL BOND FRIDGE | Na dotaz | Zadat poptávku | |
| 7620 WHR11470 |
C00340950
481010760334 |
Filter Antibacterial till 10 week 2017 | Na dotaz | Zadat poptávku | |
| 7640 WHR11470 |
C00266743
481948028144 |
Filtr chladničky - patrona Náhrada C00495431 |
Na dotaz | Zadat poptávku | |
| 7810 WHR11470 |
C00323524
480132101595 |
CONDENSATE DRAIN TUBE 385 mm | Na dotaz | Zadat poptávku | |
| 7830 WHR11470 |
C00313237
481281719208 |
VALVE, 1/4 BODY+TUBE 100MM | Na dotaz | Zadat poptávku | |
| 9040 WHR11470 |
C00337614
481010740480 |
PLUG RIGHT GREY LG | Na dotaz | Zadat poptávku | |
| 9041 WHR11470 |
C00337618
481010740483 |
Kryt dveří levý-náhrada C00337618 | Na dotaz | Zadat poptávku | |
| 9044 WHR11470 |
C00337615
481010733967 |
PLUG LEFT/RIGHT GREY LG | Na dotaz | Zadat poptávku | |
| 9048 WHR11470 |
C00342541
481010747990 |
COVER CONNECTOR GREY LG | Na dotaz | Zadat poptávku | |
| 9049 WHR11470 |
C00342463
481010746882 |
COVER HINGE UPPER GREY LG | Na dotaz | Zadat poptávku | |
| 9410 WHR11470 |
C00314165
481010538497 |
mezikus polic | Na dotaz | Zadat poptávku | |
| 9505 WHR11470 |
C00338256
481010772170 |
MASTIC BUTYL BLACK | Na dotaz | Zadat poptávku | |
| 9651 WHR11470 |
C00324951
481010600779 |
Záslepky volně stojící chladničky Whirlpool, Indesit | 203 Kč
€ 8.30 |
||
| 9655 WHR11470 |
C00325741
481010628173 |
zaslepky | 167 Kč
€ 6.90 |
||
| 999 WHR11470 |
C00346536
488000346536 |
NTC/PTC Chart WHP | Na dotaz | Zadat poptávku | |
| 999 WHR11470 |
C00523136 | Circuit/Wiring Diagram WHP | Na dotaz | Zadat poptávku | |