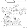
WHIRLPOOL BSNF 8451 OX AQUA
Zeptejte se. Rádi poradíme.
Marek Proche
Zákaznická podpora
Po–Čt 8:00—17:00
Pá 8:00—15:00
poradna@servis-whirlpool.cz
| Komerční kód: | BSNF 8451 OX AQUA |
| Kód 12NC: | 850526915820 |
| I.C. kód: | 850526915823 |
| Značka: | WHIRLPOOL |
| Typ produktu: | Volně stojící lednice s mrazákem |
| Další podobné modely: | 750526911822, 850526911822, 750526915823, 850526911820, 850526911821, 850526915822 |
Potřebujete servis? Jsme tady pro Vás
Nabídka náhradních dílů
| Číslo | Kód | Název | Cena | ||
|---|---|---|---|---|---|
| 0110 WHR06333 |
C00330455
481246218263 |
noha lednice | 77 Kč
€ 3.20 |
||
| 0121 WHR06333 |
C00332373
481252878062 |
kolecko lednice | 311 Kč
€ 12.80 |
||
| 0122 WHR06333 |
C00332726
481253578074 |
osa kolecka lednice | Na dotaz | Zadat poptávku | |
| 1020 WHR06333 |
C00448103
481010848124 |
DVEŘE MRAZNIČKY, INOX OX ALU | Na dotaz | Zadat poptávku | |
| 1040 WHR06333 |
C00496451
481010848118 |
DVEŘE CHLADNIČKY, INOX OX ALU | Na dotaz | Zadat poptávku | |
| 1050 WHR06333 |
C00314049
481010628165 |
Pouzdro - sada závěsu dveří chladničky Whirlpool, Indesit | 284 Kč
€ 11.70 |
||
| 1051 WHR06333 |
C00325740
481010627601 |
Pouzdro - pravé, sada závěsu dveří chladničky Whirlpool | 567 Kč
€ 23.30 |
||
| 1052 WHR06333 |
C00325759
481010632826 |
Pouzdro závěsu dveří - levé, sada chladničky Whirlpool, Indesit | 560 Kč
€ 23.00 |
||
| 1117 WHR06333 |
C00312872
481010465600 |
Logo náhrada C00312872 | Na dotaz | Zadat poptávku | |
| 1520 WHR06333 |
C00316010
481010545533 |
Police do dveří chladničky Whirlpool | 732 Kč
€ 30.10 |
||
| 1521 WHR06333 |
C00387607
481010770037 |
DOOR DAIRY AQUA | Na dotaz | Zadat poptávku | |
| 1524 WHR06333 |
C00340837
481010545542 |
viko | 405 Kč
€ 16.60 |
||
| 1561 WHR06333 |
C00325403
481010575475 |
Držák vajec zkosený do police dveří chladničky Whirlpool, Indesit | 65 Kč
€ 2.70 |
||
| 1810 WHR06333 |
C00312289
480132102827 |
Tlumič | 59 Kč
€ 2.40 |
||
| 1830 WHR06333 |
C00324529
481010472773 |
TRAVERZA KOMPRESORU 590X126 MM CELEK | Na dotaz | Zadat poptávku | |
| 1880 WHR06333 |
C00339806
481010720304 |
Závěs dveří mrazničky spodní | 101 Kč
€ 4.20 |
||
| 1882 WHR06333 |
C00339770
481010731172 |
Hinge upper FJORD Náhrada C00339770 |
Na dotaz | Zadat poptávku | |
| 1883 WHR06333 |
C00339793
481010737284 |
Závěs dveří - střední chladničky Whirlpool, Indesit | 405 Kč
€ 16.60 |
||
| 1910 WHR06333 |
C00338276
481010777349 |
Těsnění magnetické | Na dotaz | Zadat poptávku | |
| 1911 WHR06333 |
C00338277
481010777352 |
Těsnění magnetické | Na dotaz | Zadat poptávku | |
| 2010 WHR06333 |
C00342368
481010670579 |
COVER REAR FREEZER | Na dotaz | Zadat poptávku | |
| 2332 WHR06333 |
C00340727
481010729094 |
Rám | 159 Kč
€ 6.50 |
||
| 2397 WHR06333 |
C00339193
481010716596 |
Pouzdro | Na dotaz | Zadat poptávku | |
| 2398 WHR06333 |
C00333002
481941848116 |
NÁDOBKA NA LED | Na dotaz | Zadat poptávku | |
| 2398 WHR06333 |
C00339166
481010703805 |
miska na led | 1 217 Kč
€ 50.00 |
||
| 2410 WHR06333 |
C00342267
481010694099 |
Zásuvka na zeleninu MAXI BOX | Na dotaz | Zadat poptávku | |
| 2411 WHR06333 |
C00341227
481010694097 |
Koš mrazničky | Na dotaz | Zadat poptávku | |
| 2411 WHR06333 |
C00386976
481010694098 |
zásuvka mrazáku | 1 188 Kč
€ 48.80 |
||
| 2412 WHR06333 |
C00341228
481010694093 |
Spodní koš mrazáku chladničky Whirlpool, Indesit | 1 154 Kč
€ 47.40 |
||
| 2413 WHR06333 |
C00341229
481010694106 |
Zásuvka chladničky-FFC COOLER COMPARTMENT WP | Na dotaz | Zadat poptávku | |
| 2415 WHR06333 |
C00341226
481010694095 |
Střední (velký) koš mrazáku kombinované chladničky Whirlpool, Indesit BSF 8353 OX, BSNF 8 | 1 116 Kč
€ 45.90 |
||
| 2426 WHR06333 |
C00336501
481010753760 |
Separátor XXL | 341 Kč
€ 14.00 |
||
| 2427 WHR06333 |
C00448259
481010882057 |
Nádoba do prostoru chladničky | 447 Kč
€ 18.40 |
||
| 2427 WHR06333 |
C00521305
481011127593 |
SEPARATOR CRISPER NEW SHAPE | Na dotaz | Zadat poptávku | |
| 2428 WHR06333 |
C00344277
481010778822 |
Nádobka+víko | Na dotaz | Zadat poptávku | |
| 2440 WHR06333 |
C00340336
481010746926 |
Skleněná police + krycí lišta - přední chladničky Whirlpool | 770 Kč
€ 31.60 |
||
| 2441 WHR06333 |
C00340331
481010667591 |
Skleněná police (včetně ochranných lišt) chladničky Whirlpool | 647 Kč
€ 26.60 |
||
| 2442 WHR06333 |
C00340334
481010708801 |
Skleněná police chladničky Whirlpool | 770 Kč
€ 31.60 |
||
| 2445 WHR06333 |
C00344323
481010748360 |
Drátěná police na lahve chladničky Whirlpool | 821 Kč
€ 33.70 |
||
| 2448 WHR06333 |
C00340333
481010668655 |
Skleněná police do mrazáku chladničky Whirlpool, Indesit | 521 Kč
€ 21.40 |
||
| 2449 WHR06333 |
C00340332
481010667585 |
Skleněná police do mrazáku chladničky Whirlpool | 457 Kč
€ 18.80 |
||
| 2493 WHR06333 |
C00337523
481010746961 |
Krycí lišta - přední skleněné police chladničky Whirlpool, Indesit | 209 Kč
€ 8.60 |
||
| 2498 WHR06333 |
C00337524
481010716068 |
Krycí lišta - zadní skleněné police chladničky Whirlpool, Indesit | 375 Kč
€ 15.40 |
||
| 2610 WHR06333 |
C00336255
481010728747 |
Slide FFC drawer left | 232 Kč
€ 9.50 |
||
| 2611 WHR06333 |
C00336254
481010728749 |
Slide FFC drawer right | 239 Kč
€ 9.80 |
||
| 2614 WHR06333 |
C00336251
481010703802 |
SLIDE FREEZER DRAWER XXL LEFT | Na dotaz | Zadat poptávku | |
| 2615 WHR06333 |
C00336250
481010703803 |
SLIDE FREEZER DRAWER XXL RIGHT | Na dotaz | Zadat poptávku | |
| 2617 WHR06333 |
C00336253
481010703784 |
Držák | 175 Kč
€ 7.20 |
||
| 2618 WHR06333 |
C00336252
481010703785 |
držák | 175 Kč
€ 7.20 |
||
| 3010 WHR06333 |
C00382981
481010757941 |
Front panel grey/LG | Na dotaz | Zadat poptávku | |
| 3014 WHR06333 |
C00316198
481244029587 |
kryt | Na dotaz | Zadat poptávku | |
| 3560 WHR06333 |
C00446825
481010770015 |
User board AQUA + panel | Na dotaz | Zadat poptávku | |
| 3561 WHR06333 |
C00446462
481010752414 |
Insert panel AQUA | Na dotaz | Zadat poptávku | |
| 4020 WHR06333 |
C00386902
481010818201 |
Kompresor T1114YBL TL CP 220-240V/50HZ chladničky Whirlpool | 2 680 Kč
€ 110.10 |
||
| 4021 WHR06333 |
C00731470
488000731470 |
Miska na kondenzát | 503 Kč
€ 20.70 |
||
| 4021 WHR06333 |
C00335350
481010661382 |
Miska na kondenzat | 519 Kč
€ 21.30 |
||
| 4022 WHR06333 |
C00318606
480132101608 |
ventil | Na dotaz | Zadat poptávku | |
| 4023 WHR06333 |
C00336454
481252448009 |
ZÁVLAČKA PRUŽNÁ | Na dotaz | Zadat poptávku | |
| 4024 WHR06333 |
C00336352
481052348411 |
SHOCK ABSORBER COMPRESSOR | Na dotaz | Zadat poptávku | |
| 4400 WHR06333 |
C00341066
481010757324 |
Ventilator chladničky | 1 606 Kč
€ 66.00 |
||
| 4410 WHR06333 |
C00495493
481010843935 |
Ventilátor výparníku chladničky Whirlpool | 2 218 Kč
€ 91.10 |
||
| 4900 WHR06333 |
C00326485
481052327174 |
MAINS CABLE 1700MM 10-16A/250V UK BLACK | Na dotaz | Zadat poptávku | |
| 4910 WHR06333 |
C00323692
480132102717 |
TERMINAL COVER EVAPORATOR INARCA | Na dotaz | Zadat poptávku | |
| 4912 WHR06333 |
C00342553
481010759914 |
FAN COVER SUPREMENOFROST | Na dotaz | Zadat poptávku | |
| 4913 WHR06333 |
C00342544
481010703338 |
COVER CONNECTION BLOCK FOR COMPRESSOR | Na dotaz | Zadat poptávku | |
| 5210 WHR06333 |
C00446199
481010742625 |
CONTROL BOARD CENTAUR PROGRAMMED | Na dotaz | Zadat poptávku | |
| 5211 WHR06333 |
C00385570
481010753424 |
Řídící jednotka Centaur chladničky Whirlpool | 2 957 Kč
€ 121.50 |
||
| 5612 WHR06333 |
C00343864
481010703339 |
CORD RELIEF (BDG/JAXIPERA) | Na dotaz | Zadat poptávku | |
| 5620 WHR06333 |
C00386181
482000092808 |
TERMOPROTECTOR + TERMOFUSIBLE CONJUNTO | Na dotaz | Zadat poptávku | |
| 6140 WHR06333 |
C00289247
481212328001 |
Monoblock | 345 Kč
€ 14.20 |
||
| 6520 WHR06333 |
C00386557
481010781192 |
LED osvětlení chladničky Whirlpool, Indesit | 1 053 Kč
€ 43.30 |
||
| 6914 WHR06333 |
C00342361
481010736347 |
Kryt senzoru Fresh Control chladničky Whirlpool | 104 Kč
€ 4.30 |
||
| 6915 WHR06333 |
C00323525
480132101611 |
kryt senzoru | 96 Kč
€ 3.90 |
||
| 6917 WHR06333 |
C00314452
481231019153 |
senzor | 864 Kč
€ 35.50 |
||
| 6919 WHR06333 |
C00343343
481010731107 |
CLAMP SENSOR | Na dotaz | Zadat poptávku | |
| 7400 WHR06333 |
C00343518
481010750009 |
KONDENZÁTOR POT W585MM X H1248MM | Na dotaz | Zadat poptávku | |
| 7430 WHR06333 |
C00342441
481010670518 |
Kryt ventilatoru | 1 636 Kč
€ 67.20 |
||
| 7435 WHR06333 |
C00338830
481010766417 |
INSERT MULTIFLOW PRINTED WP | Na dotaz | Zadat poptávku | |
| 7450 WHR06333 |
C00504076
481010892654 |
VÝPARNÍK ÚPLNÝ NF | Na dotaz | Zadat poptávku | |
| 7451 WHR06333 |
C00341088
481010765310 |
EVAPORATOR ROLL BOND FRIDGE | Na dotaz | Zadat poptávku | |
| 7500 WHR06333 |
C00387610
481010770031 |
WATER TANK | Na dotaz | Zadat poptávku | |
| 7510 WHR06333 |
C00387611
481010777989 |
TRAY DRIP GREY/JG | Na dotaz | Zadat poptávku | |
| 7620 WHR06333 |
C00340950
481010760334 |
Filter Antibacterial till 10 week 2017 | Na dotaz | Zadat poptávku | |
| 7640 WHR06333 |
C00266743
481948028144 |
Filtr chladničky - patrona Náhrada C00495431 |
Na dotaz | Zadat poptávku | |
| 7810 WHR06333 |
C00323524
480132101595 |
CONDENSATE DRAIN TUBE 385 mm | Na dotaz | Zadat poptávku | |
| 7818 WHR06333 |
C00387612
481010764471 |
Filtr na vodu kombinované chladničky Whirlpool | 1 390 Kč
€ 57.10 |
||
| 7819 WHR06333 |
C00387613
481010770043 |
Filtr na vodu náhrada Náhrada C00506012 |
Na dotaz | Zadat poptávku | |
| 7830 WHR06333 |
C00313237
481281719208 |
VALVE, 1/4 BODY+TUBE 100MM | Na dotaz | Zadat poptávku | |
| 9040 WHR06333 |
C00337614
481010740480 |
PLUG RIGHT GREY LG | Na dotaz | Zadat poptávku | |
| 9041 WHR06333 |
C00337618
481010740483 |
Kryt dveří levý-náhrada C00337618 | Na dotaz | Zadat poptávku | |
| 9044 WHR06333 |
C00337615
481010733967 |
PLUG LEFT/RIGHT GREY LG | Na dotaz | Zadat poptávku | |
| 9045 WHR06333 |
C00387614
481010796377 |
CAP VALVE | Na dotaz | Zadat poptávku | |
| 9046 WHR06333 |
C00503796
481010845979 |
WATER TANK GASKET | Na dotaz | Zadat poptávku | |
| 9047 WHR06333 |
C00387616
481010796378 |
VALVE | Na dotaz | Zadat poptávku | |
| 9048 WHR06333 |
C00342541
481010747990 |
COVER CONNECTOR GREY LG | Na dotaz | Zadat poptávku | |
| 9049 WHR06333 |
C00342463
481010746882 |
COVER HINGE UPPER GREY LG | Na dotaz | Zadat poptávku | |
| 9300 WHR06333 |
C00380658
481050300991 |
SPRING | Na dotaz | Zadat poptávku | |
| 9410 WHR06333 |
C00314165
481010538497 |
mezikus polic | Na dotaz | Zadat poptávku | |
| 9502 WHR06333 |
C00387617
481010796373 |
RING RUBBER | Na dotaz | Zadat poptávku | |
| 9505 WHR06333 |
C00338256
481010772170 |
MASTIC BUTYL BLACK | Na dotaz | Zadat poptávku | |
| 9651 WHR06333 |
C00324951
481010600779 |
Záslepky volně stojící chladničky Whirlpool, Indesit | 203 Kč
€ 8.30 |
||
| 9655 WHR06333 |
C00325741
481010628173 |
zaslepky | 167 Kč
€ 6.90 |
||
| 9930 WHR06333 |
C00387618
481010770009 |
WATER SWITCH AQUA | Na dotaz | Zadat poptávku | |
| 9931 WHR06333 |
C00387619
481010770011 |
CHILD-PROOFLOCK AQUA | Na dotaz | Zadat poptávku | |
| 999 WHR06333 |
C00346536
488000346536 |
NTC/PTC Chart WHP | Na dotaz | Zadat poptávku | |