WHIRLPOOL BSNF 9123 OXH
Zeptejte se. Rádi poradíme.
Marek Proche
Zákaznická podpora
Po–Čt 8:00—17:00
Pá 8:00—15:00
poradna@servis-whirlpool.cz
| Komerční kód: | BSNF 9123 OXH |
| Kód 12NC: | 859991534810 |
| I.C. kód: | 859991534811 |
| Značka: | WHIRLPOOL |
| Typ produktu: | Volně stojící lednice s mrazákem |
| Další podobné modely: | 759991534810 |
Potřebujete servis? Jsme tady pro Vás
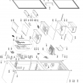
Nabídka náhradních dílů
| Číslo | Kód | Název | Cena | ||
|---|---|---|---|---|---|
| 0110 WHR38714 |
C00330455
481246218263 |
noha lednice | 77 Kč
€ 3.20 |
||
| 1020 WHR38714 |
C00386518
481010782933 |
DVEŘE MRAZNIČKY, OPTIC INOX | Na dotaz | Zadat poptávku | |
| 1040 WHR38714 |
C00447152
481010782927 |
Door refriger. OX | Na dotaz | Zadat poptávku | |
| 1050 WHR38714 |
C00314049
481010628165 |
Pouzdro - sada závěsu dveří chladničky Whirlpool, Indesit | 284 Kč
€ 11.70 |
||
| 1051 WHR38714 |
C00317176
481253288104 |
Pouzdro - pravé závěsu dveří chladničky Whirlpool Náhrada 481010627601 |
Na dotaz | Zadat poptávku | |
| 1052 WHR38714 |
C00320239
481253288105 |
SLEEVE LEFT GREY | Na dotaz | Zadat poptávku | |
| 1100 WHR38714 |
C00386521
481010733865 |
HANDLE ASSY INOX/SB, 350 MM | Na dotaz | Zadat poptávku | |
| 1117 WHR38714 |
C00312872
481010465600 |
Logo náhrada C00312872 | Na dotaz | Zadat poptávku | |
| 1521 WHR38714 |
C00325052
481010532566 |
Spodní police na lahve do dveří chladničky Whirlpool | 1 203 Kč
€ 49.40 |
||
| 1522 WHR38714 |
C00325062
481010534522 |
Police do dveří (nízká) chladničky Whirlpool | 309 Kč
€ 12.70 |
||
| 1525 WHR38714 |
C00325132
481010545180 |
Separátor | Na dotaz | Zadat poptávku | |
| 1529 WHR38714 |
C00325235
481010560739 |
Držák, kovová opora police na lahve chladničky Whirlpool | 402 Kč
€ 16.50 |
||
| 1560 WHR38714 |
C00287849
481941878977 |
miska na led | 180 Kč
€ 7.40 |
||
| 1561 WHR38714 |
C00325403
481010575475 |
Držák vajec zkosený do police dveří chladničky Whirlpool, Indesit | 65 Kč
€ 2.70 |
||
| 1810 WHR38714 |
C00312289
480132102827 |
Tlumič | 59 Kč
€ 2.40 |
||
| 1830 WHR38714 |
C00324399
481010461412 |
Držák kompresoru | 227 Kč
€ 9.30 |
||
| 1851 WHR38714 |
C00522120
481010443535 |
Noha (zadní) chladničky Whirlpool | 272 Kč
€ 11.20 |
||
| 1880 WHR38714 |
C00339806
481010720304 |
Závěs dveří mrazničky spodní | 101 Kč
€ 4.20 |
||
| 1882 WHR38714 |
C00339770
481010731172 |
Hinge upper FJORD Náhrada C00339770 |
Na dotaz | Zadat poptávku | |
| 1883 WHR38714 |
C00339793
481010737284 |
Závěs dveří - střední chladničky Whirlpool, Indesit | 405 Kč
€ 16.60 |
||
| 1910 WHR38714 |
C00386536
481010777348 |
Těsnění magnetické Náhrada C00526612 |
Na dotaz | Zadat poptávku | |
| 1911 WHR38714 |
C00338277
481010777352 |
Těsnění magnetické | Na dotaz | Zadat poptávku | |
| 2010 WHR38714 |
C00342368
481010670579 |
COVER REAR FREEZER | Na dotaz | Zadat poptávku | |
| 2410 WHR38714 |
C00342267
481010694099 |
Zásuvka na zeleninu MAXI BOX | Na dotaz | Zadat poptávku | |
| 2411 WHR38714 |
C00386976
481010694098 |
zásuvka mrazáku | 1 188 Kč
€ 48.80 |
||
| 2412 WHR38714 |
C00341228
481010694093 |
Spodní koš mrazáku chladničky Whirlpool, Indesit | 1 154 Kč
€ 47.40 |
||
| 2415 WHR38714 |
C00341226
481010694095 |
Střední (velký) koš mrazáku kombinované chladničky Whirlpool, Indesit BSF 8353 OX, BSNF 8 | 1 116 Kč
€ 45.90 |
||
| 2440 WHR38714 |
C00380764
481010667592 |
Skleněná police chladničky Whirlpool | 770 Kč
€ 31.60 |
||
| 2441 WHR38714 |
C00340331
481010667591 |
Skleněná police (včetně ochranných lišt) chladničky Whirlpool | 647 Kč
€ 26.60 |
||
| 2448 WHR38714 |
C00340333
481010668655 |
Skleněná police do mrazáku chladničky Whirlpool, Indesit | 521 Kč
€ 21.40 |
||
| 2449 WHR38714 |
C00340332
481010667585 |
Skleněná police do mrazáku chladničky Whirlpool | 457 Kč
€ 18.80 |
||
| 2493 WHR38714 |
C00337523
481010746961 |
Krycí lišta - přední skleněné police chladničky Whirlpool, Indesit | 209 Kč
€ 8.60 |
||
| 2498 WHR38714 |
C00337524
481010716068 |
Krycí lišta - zadní skleněné police chladničky Whirlpool, Indesit | 375 Kč
€ 15.40 |
||
| 2614 WHR38714 |
C00380765
481010770370 |
Slide freezer drawer narrow | 41 Kč
€ 1.70 |
||
| 2615 WHR38714 |
C00380766
481010770373 |
Slide freezer drawer wide | 45 Kč
€ 1.80 |
||
| 3011 WHR38714 |
C00338758
481010752413 |
Insert panel printed WP | Na dotaz | Zadat poptávku | |
| 3014 WHR38714 |
C00343113
481010747036 |
Záslepka | 22 Kč
€ 0.90 |
||
| 3015 WHR38714 |
C00343111
481010747031 |
Záslepka závěsu pravá | 58 Kč
€ 2.40 |
||
| 4020 WHR38714 |
C00386552
481010795904 |
KOMPRESOR VESD7C TL CP (IT) | Na dotaz | Zadat poptávku | |
| 4021 WHR38714 |
C00382979
481010754653 |
Tray drip compressor VES | Na dotaz | Zadat poptávku | |
| 4022 WHR38714 |
C00318606
480132101608 |
ventil | Na dotaz | Zadat poptávku | |
| 4023 WHR38714 |
C00336454
481252448009 |
ZÁVLAČKA PRUŽNÁ | Na dotaz | Zadat poptávku | |
| 4024 WHR38714 |
C00336352
481052348411 |
SHOCK ABSORBER COMPRESSOR | Na dotaz | Zadat poptávku | |
| 4029 WHR38714 |
C00386553
481010757321 |
SBĚRAČ KONDENZÁTU | Na dotaz | Zadat poptávku | |
| 4211 WHR38714 |
C00382974
481010752880 |
Electronic box VESD7C & VESC7C OB FC | Na dotaz | Zadat poptávku | |
| 4400 WHR38714 |
C00341066
481010757324 |
Ventilator chladničky | 1 606 Kč
€ 66.00 |
||
| 4410 WHR38714 |
C00495493
481010843935 |
Ventilátor výparníku chladničky Whirlpool | 2 218 Kč
€ 91.10 |
||
| 4900 WHR38714 |
C00326405
481050090860 |
NAPÁJECÍ KABEL 'SE ZÁSTRČKOU 2000MM | Na dotaz | Zadat poptávku | |
| 4910 WHR38714 |
C00323692
480132102717 |
TERMINAL COVER EVAPORATOR INARCA | Na dotaz | Zadat poptávku | |
| 4912 WHR38714 |
C00342553
481010759914 |
FAN COVER SUPREMENOFROST | Na dotaz | Zadat poptávku | |
| 5210 WHR38714 |
C00508859
481010882320 |
THERMOSTAT ELECTRONIC ET2 ENHANCED | Na dotaz | Zadat poptávku | |
| 5620 WHR38714 |
C00325031
481010527402 |
Termostat s bimetalovou pojistkou chladničky Whirlpool | 824 Kč
€ 33.90 |
||
| 5710 WHR38714 |
C00510593
481011045291 |
SOLENOIDOVÝ VENTIL BITRON TYPE 520 | Na dotaz | Zadat poptávku | |
| 6914 WHR38714 |
C00342361
481010736347 |
Kryt senzoru Fresh Control chladničky Whirlpool | 104 Kč
€ 4.30 |
||
| 6917 WHR38714 |
C00314452
481231019153 |
senzor | 864 Kč
€ 35.50 |
||
| 6919 WHR38714 |
C00343343
481010731107 |
CLAMP SENSOR | Na dotaz | Zadat poptávku | |
| 7400 WHR38714 |
C00385531
481010750010 |
KONDENZÁTOR POT W585MM X H1400MM | Na dotaz | Zadat poptávku | |
| 7430 WHR38714 |
C00386993
481010728685 |
Cover multiflow | Na dotaz | Zadat poptávku | |
| 7435 WHR38714 |
C00338830
481010766417 |
INSERT MULTIFLOW PRINTED WP | Na dotaz | Zadat poptávku | |
| 7450 WHR38714 |
C00508862
481010909856 |
Evaporator kit NF+heater+fan+bimetal | Na dotaz | Zadat poptávku | |
| 7451 WHR38714 |
C00382982
481010763562 |
Evaporator roll bond fridge | Na dotaz | Zadat poptávku | |
| 7640 WHR38714 |
C00387029
481010814479 |
FILTRDEHYDRÁTOR | Na dotaz | Zadat poptávku | |
| 7810 WHR38714 |
C00323524
480132101595 |
CONDENSATE DRAIN TUBE 385 mm | Na dotaz | Zadat poptávku | |
| 7830 WHR38714 |
C00313237
481281719208 |
VALVE, 1/4 BODY+TUBE 100MM | Na dotaz | Zadat poptávku | |
| 7831 WHR38714 |
C00382976
481010753509 |
PIPE PRECONDENSER WITH PVC SLEEVE | Na dotaz | Zadat poptávku | |
| 9040 WHR38714 |
C00337614
481010740480 |
PLUG RIGHT GREY LG | Na dotaz | Zadat poptávku | |
| 9041 WHR38714 |
C00337618
481010740483 |
Kryt dveří levý-náhrada C00337618 | Na dotaz | Zadat poptávku | |
| 9044 WHR38714 |
C00337615
481010733967 |
PLUG LEFT/RIGHT GREY LG | Na dotaz | Zadat poptávku | |
| 9048 WHR38714 |
C00342541
481010747990 |
COVER CONNECTOR GREY LG | Na dotaz | Zadat poptávku | |
| 9049 WHR38714 |
C00342463
481010746882 |
COVER HINGE UPPER GREY LG | Na dotaz | Zadat poptávku | |
| 9100 WHR38714 |
C00386561
481010777206 |
SCREW FOR HANDLE 3.9 X 11 | Na dotaz | Zadat poptávku | |
| 9505 WHR38714 |
C00338256
481010772170 |
MASTIC BUTYL BLACK | Na dotaz | Zadat poptávku | |
| 9651 WHR38714 |
C00324951
481010600779 |
Záslepky volně stojící chladničky Whirlpool, Indesit | 203 Kč
€ 8.30 |
||
| 9652 WHR38714 |
C00386562
481010783369 |
STOPPER GREY/LG | Na dotaz | Zadat poptávku | |
| 9655 WHR38714 |
C00325741
481010628173 |
zaslepky | 167 Kč
€ 6.90 |
||
| 999 WHR38714 |
C00346536
488000346536 |
NTC/PTC Chart WHP | Na dotaz | Zadat poptávku | |
| 999 WHR38714 |
C00523136 | Circuit/Wiring Diagram WHP | Na dotaz | Zadat poptávku | |