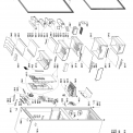
WHIRLPOOL BSNF 9352 OX
Zeptejte se. Rádi poradíme.
Marek Proche
Zákaznická podpora
Po–Čt 8:00—17:00
Pá 8:00—15:00
poradna@servis-whirlpool.cz
| Komerční kód: | BSNF 9352 OX |
| Kód 12NC/I.C. kód: | 850527111320 |
| Značka: | WHIRLPOOL |
| Typ produktu: | Volně stojící lednice s mrazákem |
| Další podobné modely: | 750527111321, 850527111321 |
Potřebujete servis? Jsme tady pro Vás
Nabídka náhradních dílů
| Číslo | Kód | Název | Cena | ||
|---|---|---|---|---|---|
| 0110 WHR18303 |
C00330455
481246218263 |
noha lednice | 77 Kč
€ 3.20 |
||
| 1020 WHR18303 |
C00495496
481010848121 |
DVEŘE MRAZNIČKY INOX/OX ALU | Na dotaz | Zadat poptávku | |
| 1040 WHR18303 |
C00504183
481010848129 |
DVEŘE CHLADNIČKY, INOX OX ALU | Na dotaz | Zadat poptávku | |
| 1050 WHR18303 |
C00314049
481010628165 |
Pouzdro - sada závěsu dveří chladničky Whirlpool, Indesit | 284 Kč
€ 11.60 |
||
| 1051 WHR18303 |
C00325740
481010627601 |
Pouzdro - pravé, sada závěsu dveří chladničky Whirlpool | 569 Kč
€ 23.30 |
||
| 1052 WHR18303 |
C00325759
481010632826 |
Pouzdro závěsu dveří - levé, sada chladničky Whirlpool, Indesit | 560 Kč
€ 22.90 |
||
| 1117 WHR18303 |
C00312872
481010465600 |
Logo náhrada C00312872 | Na dotaz | Zadat poptávku | |
| 1520 WHR18303 |
C00316010
481010545533 |
Police do dveří chladničky Whirlpool | 732 Kč
€ 30.00 |
||
| 1521 WHR18303 |
C00379190
481010534523 |
Spodní police na lahve do dveří chladničky Whirlpool Náhrada C00385776 |
Na dotaz | Zadat poptávku | |
| 1522,1526 WHR18303 |
C00325062
481010534522 |
Police do dveří (nízká) chladničky Whirlpool | 309 Kč
€ 12.60 |
||
| 1523 WHR18303 |
C00509770
481010794802 |
Police do dveří chladničky Whirlpool | 587 Kč
€ 24.00 |
||
| 1524 WHR18303 |
C00340837
481010545542 |
viko | 405 Kč
€ 16.60 |
||
| 1525 WHR18303 |
C00325132
481010545180 |
Separátor | Na dotaz | Zadat poptávku | |
| 1526 WHR18303 |
C00382983
481010764212 |
Police do dveří chladničky Whirlpool | 417 Kč
€ 17.10 |
||
| 1561 WHR18303 |
C00325403
481010575475 |
Držák vajec zkosený do police dveří chladničky Whirlpool, Indesit | 65 Kč
€ 2.70 |
||
| 1810 WHR18303 |
C00312289
480132102827 |
Tlumič | 59 Kč
€ 2.40 |
||
| 1830 WHR18303 |
C00324399
481010461412 |
Držák kompresoru | 227 Kč
€ 9.30 |
||
| 1851 WHR18303 |
C00324342
482000092532 |
Foot rear | Na dotaz | Zadat poptávku | |
| 1880 WHR18303 |
C00339806
481010720304 |
Závěs dveří mrazničky spodní | 116 Kč
€ 4.70 |
||
| 1882 WHR18303 |
C00339770
481010731172 |
Hinge upper FJORD Náhrada C00339770 |
Na dotaz | Zadat poptávku | |
| 1883 WHR18303 |
C00339793
481010737284 |
Závěs dveří - střední chladničky Whirlpool, Indesit | 405 Kč
€ 16.60 |
||
| 1910 WHR18303 |
C00386536
481010777348 |
Těsnění magnetické Náhrada C00526612 |
Na dotaz | Zadat poptávku | |
| 1911 WHR18303 |
C00338277
481010777352 |
Těsnění magnetické | Na dotaz | Zadat poptávku | |
| 2010 WHR18303 |
C00342368
481010670579 |
COVER REAR FREEZER | Na dotaz | Zadat poptávku | |
| 2332 WHR18303 |
C00340727
481010729094 |
Rám | 159 Kč
€ 6.50 |
||
| 2397 WHR18303 |
C00339193
481010716596 |
Pouzdro | Na dotaz | Zadat poptávku | |
| 2398 WHR18303 |
C00339166
481010703805 |
miska na led | 1 217 Kč
€ 49.80 |
||
| 2410 WHR18303 |
C00342267
481010694099 |
Zásuvka na zeleninu MAXI BOX | Na dotaz | Zadat poptávku | |
| 2411 WHR18303 |
C00341227
481010694097 |
Koš mrazničky | Na dotaz | Zadat poptávku | |
| 2412 WHR18303 |
C00341228
481010694093 |
Spodní koš mrazáku chladničky Whirlpool, Indesit | 1 155 Kč
€ 47.30 |
||
| 2413 WHR18303 |
C00341229
481010694106 |
Zásuvka chladničky-FFC COOLER COMPARTMENT WP | Na dotaz | Zadat poptávku | |
| 2415 WHR18303 |
C00341226
481010694095 |
Střední (velký) koš mrazáku kombinované chladničky Whirlpool, Indesit BSF 8353 OX, BSNF 8 | 1 116 Kč
€ 45.70 |
||
| 2426 WHR18303 |
C00336501
481010753760 |
Separátor XXL | 341 Kč
€ 14.00 |
||
| 2427 WHR18303 |
C00448259
481010882057 |
Nádoba do prostoru chladničky | 447 Kč
€ 18.30 |
||
| 2427 WHR18303 |
C00521305
481011127593 |
SEPARATOR CRISPER NEW SHAPE | Na dotaz | Zadat poptávku | |
| 2440 WHR18303 |
C00340336
481010746926 |
Skleněná police + krycí lišta - přední chladničky Whirlpool | 770 Kč
€ 31.50 |
||
| 2441 WHR18303 |
C00340331
481010667591 |
Skleněná police (včetně ochranných lišt) chladničky Whirlpool | 647 Kč
€ 26.50 |
||
| 2442 WHR18303 |
C00340334
481010708801 |
Skleněná police chladničky Whirlpool | Na dotaz | Zadat poptávku | |
| 2445 WHR18303 |
C00344323
481010748360 |
Drátěná police na lahve chladničky Whirlpool | 944 Kč
€ 38.60 |
||
| 2448 WHR18303 |
C00340333
481010668655 |
Skleněná police do mrazáku chladničky Whirlpool, Indesit | 522 Kč
€ 21.40 |
||
| 2449 WHR18303 |
C00340332
481010667585 |
Skleněná police do mrazáku chladničky Whirlpool | 457 Kč
€ 18.70 |
||
| 2493 WHR18303 |
C00337523
481010746961 |
Krycí lišta - přední skleněné police chladničky Whirlpool, Indesit | 209 Kč
€ 8.60 |
||
| 2498 WHR18303 |
C00337524
481010716068 |
Krycí lišta - zadní skleněné police chladničky Whirlpool, Indesit | 375 Kč
€ 15.30 |
||
| 2610 WHR18303 |
C00336255
481010728747 |
Slide FFC drawer left | 232 Kč
€ 9.50 |
||
| 2611 WHR18303 |
C00336254
481010728749 |
Slide FFC drawer right | 239 Kč
€ 9.80 |
||
| 2614 WHR18303 |
C00336251
481010703802 |
SLIDE FREEZER DRAWER XXL LEFT | Na dotaz | Zadat poptávku | |
| 2615 WHR18303 |
C00336250
481010703803 |
SLIDE FREEZER DRAWER XXL RIGHT | Na dotaz | Zadat poptávku | |
| 2617 WHR18303 |
C00336253
481010703784 |
Držák | 175 Kč
€ 7.20 |
||
| 2618 WHR18303 |
C00336252
481010703785 |
držák | 175 Kč
€ 7.20 |
||
| 3010 WHR18303 |
C00508872
481011085511 |
CONTROL PANEL GREY LG | Na dotaz | Zadat poptávku | |
| 3011 WHR18303 |
C00508868
481011082139 |
Insert panel printed | Na dotaz | Zadat poptávku | |
| 3014 WHR18303 |
C00343113
481010747036 |
Záslepka | 22 Kč
€ 0.90 |
||
| 3015 WHR18303 |
C00343111
481010747031 |
Záslepka závěsu pravá | 58 Kč
€ 2.40 |
||
| 4020 WHR18303 |
C00324657
481010496805 |
KOMPRESOR EMC 70 CLT TL CP (K) | Na dotaz | Zadat poptávku | |
| 4021 WHR18303 |
C00380767
481010762775 |
Miska na kondenzát | Na dotaz | Zadat poptávku | |
| 4022 WHR18303 |
C00386179
482000092810 |
Ventil | 80 Kč
€ 3.30 |
||
| 4023 WHR18303 |
C00336454
481252448009 |
ZÁVLAČKA PRUŽNÁ | Na dotaz | Zadat poptávku | |
| 4024 WHR18303 |
C00336352
481052348411 |
SHOCK ABSORBER COMPRESSOR | Na dotaz | Zadat poptávku | |
| 4200 WHR18303 |
C00318160
481212028053 |
Kondenzátor 5 µF | 191 Kč
€ 7.80 |
||
| 4400 WHR18303 |
C00341066
481010757324 |
Ventilator chladničky | 1 606 Kč
€ 65.70 |
||
| 4410 WHR18303 |
C00495493
481010843935 |
Ventilátor výparníku chladničky Whirlpool | 2 218 Kč
€ 90.80 |
||
| 4900 WHR18303 |
C00323592
480132101855 |
kabelaz | 655 Kč
€ 26.80 |
||
| 4910 WHR18303 |
C00323692
480132102717 |
TERMINAL COVER EVAPORATOR INARCA | Na dotaz | Zadat poptávku | |
| 4912 WHR18303 |
C00342553
481010759914 |
FAN COVER SUPREMENOFROST | Na dotaz | Zadat poptávku | |
| 4913 WHR18303 |
C00318976
481010553122 |
Kryt | 56 Kč
€ 2.30 |
||
| 5210 WHR18303 |
C00508870
481011084164 |
CONTROL BOARD CENTAUR PROGRAMMED | Na dotaz | Zadat poptávku | |
| 5211 WHR18303 |
C00508867
481011047310 |
CONTROL BOARD CENTAUR BLANK | Na dotaz | Zadat poptávku | |
| 5612 WHR18303 |
C00256950
481229068325 |
kryt rele | Na dotaz | Zadat poptávku | |
| 5620 WHR18303 |
C00386181
482000092808 |
TERMOPROTECTOR + TERMOFUSIBLE CONJUNTO | Na dotaz | Zadat poptávku | |
| 5710 WHR18303 |
C00324378
481010455651 |
Trojcestný elektroventil chladiva chladničky Whirlpool | 1 958 Kč
€ 80.10 |
||
| 6140 WHR18303 |
C00320910
481228068376 |
Monoblock - startovací relé TX1C3 chladničky Whirlpool, Indesit | 959 Kč
€ 39.20 |
||
| 6520 WHR18303 |
C00386557
481010781192 |
LED osvětlení chladničky Whirlpool, Indesit | 1 053 Kč
€ 43.10 |
||
| 6914 WHR18303 |
C00342361
481010736347 |
Kryt senzoru Fresh Control chladničky Whirlpool | 104 Kč
€ 4.30 |
||
| 6915 WHR18303 |
C00323525
480132101611 |
kryt senzoru | 96 Kč
€ 3.90 |
||
| 6917 WHR18303 |
C00314452
481231019153 |
senzor | 948 Kč
€ 38.80 |
||
| 6919 WHR18303 |
C00343343
481010731107 |
CLAMP SENSOR | Na dotaz | Zadat poptávku | |
| 7400 WHR18303 |
C00382984
481010765976 |
KONDENZÁTOR WOT | Na dotaz | Zadat poptávku | |
| 7401 WHR18303 |
C00326202
481010682980 |
HOLDER FOR TUBE CONDENSER | Na dotaz | Zadat poptávku | |
| 7430 WHR18303 |
C00386993
481010728685 |
Cover multiflow | Na dotaz | Zadat poptávku | |
| 7435 WHR18303 |
C00338830
481010766417 |
INSERT MULTIFLOW PRINTED WP | Na dotaz | Zadat poptávku | |
| 7450 WHR18303 |
C00504076
481010892654 |
VÝPARNÍK ÚPLNÝ NF | Na dotaz | Zadat poptávku | |
| 7451 WHR18303 |
C00382982
481010763562 |
Evaporator roll bond fridge | Na dotaz | Zadat poptávku | |
| 7640 WHR18303 |
C00387029
481010814479 |
FILTRDEHYDRÁTOR | Na dotaz | Zadat poptávku | |
| 7810 WHR18303 |
C00323524
480132101595 |
CONDENSATE DRAIN TUBE 385 mm | Na dotaz | Zadat poptávku | |
| 7830 WHR18303 |
C00313237
481281719208 |
VALVE, 1/4 BODY+TUBE 100MM | Na dotaz | Zadat poptávku | |
| 9040 WHR18303 |
C00337614
481010740480 |
Záslepka | 53 Kč
€ 2.20 |
||
| 9041 WHR18303 |
C00337618
481010740483 |
Kryt dveří levý-náhrada C00337618 | Na dotaz | Zadat poptávku | |
| 9044 WHR18303 |
C00337615
481010733967 |
PLUG LEFT/RIGHT GREY LG | Na dotaz | Zadat poptávku | |
| 9048 WHR18303 |
C00342541
481010747990 |
COVER CONNECTOR GREY LG | Na dotaz | Zadat poptávku | |
| 9049 WHR18303 |
C00342463
481010746882 |
COVER HINGE UPPER GREY LG | Na dotaz | Zadat poptávku | |
| 9410 WHR18303 |
C00386107
482000092777 |
Spojovací mezikus krytu horní police dveří chladničky Whirlpool | 69 Kč
€ 2.80 |
||
| 9505 WHR18303 |
C00338256
481010772170 |
MASTIC BUTYL BLACK | Na dotaz | Zadat poptávku | |
| 9651 WHR18303 |
C00324951
481010600779 |
Záslepky volně stojící chladničky Whirlpool, Indesit | 203 Kč
€ 8.30 |
||
| 9655 WHR18303 |
C00325741
481010628173 |
zaslepky | 167 Kč
€ 6.80 |
||
| 999 WHR18303 |
C00346536
488000346536 |
NTC/PTC Chart WHP | Na dotaz | Zadat poptávku | |
| 999 WHR18303 |
C00523179 | Circuit/Wiring Diagram WHP | Na dotaz | Zadat poptávku | |