IKEA CFS NP4 S
Zeptejte se. Rádi poradíme.
Marek Proche
Zákaznická podpora
Po–Čt 8:00—17:00
Pá 8:00—15:00
poradna@servis-whirlpool.cz
| Komerční kód: | CFS NP4 S |
| Kód 12NC: | 850704061000 |
| I.C. kód: | 850704061001 |
| Značka: | IKEA |
| Typ produktu: | Volně stojící mrazáky |
| Další podobné modely: | 850704061000 |
Potřebujete servis? Jsme tady pro Vás
Nabídka náhradních dílů
| Číslo | Kód | Název | Cena | ||
|---|---|---|---|---|---|
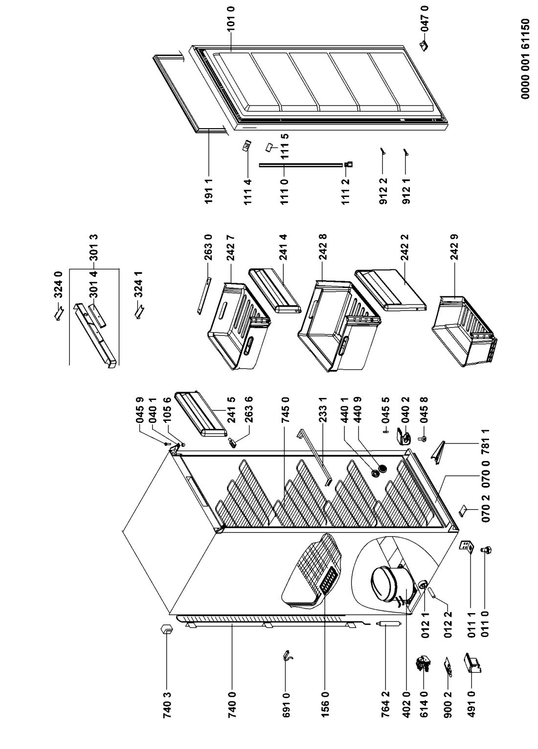
| 011 0 WHR55588 |
C00330462
481246218296 |
Foot | Na dotaz | Zadat poptávku | |
| 011 1 WHR55588 |
C00319501
481246248399 |
Foot support | Na dotaz | Zadat poptávku | |
| 012 1 WHR55588 |
C00330460
481246218292 |
kolecko zadni | Na dotaz | Zadat poptávku | |
| 012 2 WHR55588 |
C00333340
481953538013 |
osa kolecka lednice | 19 Kč
€ 0.80 |
||
| 040 1 WHR55588 |
C00314777
481941719619 |
zaves horni | 574 Kč
€ 23.60 |
||
| 040 2 WHR55588 |
C00314779
481941719627 |
Závěs spodní | Na dotaz | Zadat poptávku | |
| 045 5 WHR55588 |
C00317184
481253598111 |
Čep spodního závěsu dveří mrazáku Whirlpool | 61 Kč
€ 2.50 |
||
| 045 8 WHR55588 |
C00313804
481253598112 |
kolik | 70 Kč
€ 2.90 |
||
| 045 9 WHR55588 |
C00314415
481253598113 |
Pivot | Na dotaz | Zadat poptávku | |
| 047 0 WHR55588 |
C00331105
481244688146 |
Bushing silver | Na dotaz | Zadat poptávku | |
| 070 0 WHR55588 |
C00331065
481244229358 |
sokl | Na dotaz | Zadat poptávku | |
| 070 2 WHR55588 |
C00330357
481246049895 |
kryt | Na dotaz | Zadat poptávku | |
| 101 0 WHR55588 |
C00431942
480132100605 |
Door freezer | Na dotaz | Zadat poptávku | |
| 105 6 WHR55588 |
C00314341
481244688139 |
Bushing | Na dotaz | Zadat poptávku | |
| 111 0 WHR55588 |
C00431512
480131100094 |
Door handle kit | Na dotaz | Zadat poptávku | |
| 111 2 WHR55588 |
C00431516
480131100098 |
Stopper door handle | Na dotaz | Zadat poptávku | |
| 111 4 WHR55588 |
C00431517
480131100099 |
Support handle inner | Na dotaz | Zadat poptávku | |
| 111 5 WHR55588 |
C00431515
480131100097 |
Support | Na dotaz | Zadat poptávku | |
| 156 0 WHR55588 |
C00333002
481941848116 |
NÁDOBKA NA LED | Na dotaz | Zadat poptávku | |
| 191 1 WHR55588 |
C00431941
480132100604 |
Magnetic seal | Na dotaz | Zadat poptávku | |
| 233 1 WHR55588 |
C00330403
481246079116 |
Přední krycí lišta výparníku mrazáku Whirlpool | 161 Kč
€ 6.60 |
||
| 241 4 WHR55588 |
C00459501
481244069347 |
Insert Drawer | Na dotaz | Zadat poptávku | |
| 241 5 WHR55588 |
C00459517
481244069399 |
Flap printed | Na dotaz | Zadat poptávku | |
| 242 2 WHR55588 |
C00463976
481246049666 |
Insert | Na dotaz | Zadat poptávku | |
| 242 7 WHR55588 |
C00327830
481241848726 |
Drawer | Na dotaz | Zadat poptávku | |
| 242 8 WHR55588 |
C00318662
481241828894 |
Zásuvka mrazáku | 2 843 Kč
€ 117.00 |
||
| 242 9 WHR55588 |
C00327828
481241848678 |
Drawer | Na dotaz | Zadat poptávku | |
| 263 0 WHR55588 |
C00330648
481246238165 |
Lišta vodící | 393 Kč
€ 16.20 |
||
| 263 6 WHR55588 |
C00311949
481240449879 |
Kolík závěsu/čep dvířek mrazáku Whirlpool | 35 Kč
€ 1.40 |
||
| 301 3 WHR55588 |
C00432109
480132100974 |
Front panel +electronic +light switch | Na dotaz | Zadat poptávku | |
| 301 4 WHR55588 |
C00431943
480132100606 |
Insert f. control panel | Na dotaz | Zadat poptávku | |
| 324 0 WHR55588 |
C00330359
481246049897 |
vložka | Na dotaz | Zadat poptávku | |
| 324 1 WHR55588 |
C00330358
481246049896 |
vložka | Na dotaz | Zadat poptávku | |
| 402 0 WHR55588 |
C00313368
481281718829 |
COMPRESSOR EMT46CLP 1/6HP R600 S.P. | Na dotaz | Zadat poptávku | |
| 440 1 WHR55588 |
C00328947
481240148586 |
Držák | 86 Kč
€ 3.50 |
||
| 440 9 WHR55588 |
C00331592
481246818359 |
Stopper | Na dotaz | Zadat poptávku | |
| 491 0 WHR55588 |
C00267000
481229088084 |
KRYT PLAST | Na dotaz | Zadat poptávku | |
| 614 0 WHR55588 |
C00267002
481228038093 |
ptc-jednotka | 1 139 Kč
€ 46.90 |
||
| 691 0 WHR55588 |
C00326918
481221058082 |
Sensor | 1 504 Kč
€ 61.90 |
||
| 740 0 WHR55588 |
C00332253
481251148436 |
Condenser | Na dotaz | Zadat poptávku | |
| 740 3 WHR55588 |
C00333329
481953268859 |
Spacer | Na dotaz | Zadat poptávku | |
| 745 0 WHR55588 |
C00332261
481251148462 |
výparník | Na dotaz | Zadat poptávku | |
| 764 2 WHR55588 |
C00266743
481948028144 |
Filtr chladničky - patrona Náhrada C00495431 |
Na dotaz | Zadat poptávku | |
| 781 1 WHR55588 |
C00329262
481240488069 |
Kanál odtokový | 535 Kč
€ 22.00 |
||
| 900 2 WHR55588 |
C00267004
481229088112 |
konektor | 85 Kč
€ 3.50 |
||
| 912 1 WHR55588 |
C00332151
481250228014 |
šroub | 35 Kč
€ 1.40 |
||
| 912 2 WHR55588 |
C00333223
481950218494 |
Screw | Na dotaz | Zadat poptávku | |
| 993 9 WHR55588 |
C00344661
481231018986 |
Montážní sada na přehození dveří | Na dotaz | Zadat poptávku | |