ARISTON D 310 MST (IX)
Zeptejte se. Rádi poradíme.
Marek Proche
Zákaznická podpora
Po–Čt 8:00—17:00
Pá 8:00—15:00
poradna@servis-whirlpool.cz
| Komerční kód: | D 310 MST (IX) |
| Kód 12NC: | 869990245450 |
| I.C. kód: | 70245450000 |
| Značka: | ARISTON |
| Typ produktu: | Vestavné trouby a varné desky |
Potřebujete servis? Jsme tady pro Vás
Nabídka náhradních dílů
| Číslo | Kód | Název | Cena | ||
|---|---|---|---|---|---|
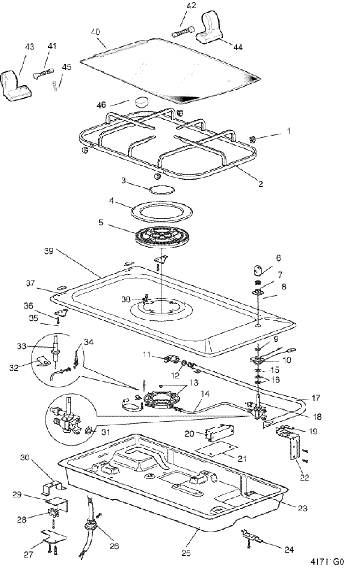
| 000 41711g0 |
C00081685 | USER INSTRUCTION BOOK-I-DE-ES-FR-NL-P-GB | Na dotaz | Zadat poptávku | |
| 001 41711g0 |
C00076405
482000027374 |
RUBBER BUFFER - PAN GRID | Na dotaz | Zadat poptávku | |
| 002 41711g0 |
C00081712 | BURNER GRID (1 BURNER) - BLACK | Na dotaz | Zadat poptávku | |
| 003 41711g0 |
C00053175
482000026843 |
Kryt hořáku | 481 Kč
€ 19.70 |
||
| 004 41711g0 |
C00053174
482000026842 |
KRYT USMĚRŇ. PLAMENE TR.KORUNA CERNA | Na dotaz | Zadat poptávku | |
| 005 41711g0 |
C00053173
482000026841 |
HOŘÁK TROJITÁ KORUNA | Na dotaz | Zadat poptávku | |
| 006 41711g0 |
C00008505
482000025919 |
GAS KNOB PLATE 12X8X2 | Na dotaz | Zadat poptávku | |
| 006 41711g0 |
C00053219
482000026852 |
OVLADAČ PLYN/EL.P60/90FR.ČERNÝ | Na dotaz | Zadat poptávku | |
| 007 41711g0 |
C00039156
482000026373 |
PRUŽINA KOTOUČE OVLADAČE VAR.DESEK 68 | Na dotaz | Zadat poptávku | |
| 008 41711g0 |
C00053220
482000026853 |
DISK OVLADAČ P90/60FR.ČERNÝ | Na dotaz | Zadat poptávku | |
| 009 41711g0 |
C00081741
481246688977 |
COMPRESSION RING | Na dotaz | Zadat poptávku | |
| 010 41711g0 |
C00081731
488000081731 |
MICROSWITCH 1F. | Na dotaz | Zadat poptávku | |
| 011 41711g0 |
C00057210
488000057210 |
GAS PIPE ELBOW 1/2" GAS | Na dotaz | Zadat poptávku | |
| 012 41711g0 |
C00057243
482000090701 |
SEALING WASHER-GAS ELBOW/PIPE | Na dotaz | Zadat poptávku | |
| 013 41711g0 |
C00053254
482000026856 |
KRYT HOŘÁK TROJITÁ KORUNA | Na dotaz | Zadat poptávku | |
| 013 41711g0 |
C00053176
482000026844 |
Tryska G30 - propan butan (LPG) - TRIPLE BURNER/WOK | 97 Kč
€ 4.00 |
||
| 014 41711g0 |
C00081759 | CONNECTION PIPE | Na dotaz | Zadat poptávku | |
| 015 41711g0 |
C00045232
482000074206 |
SURROUND - IGNITION BUTTON 10X14X1 | Na dotaz | Zadat poptávku | |
| 016 41711g0 |
C00081740
481227328231 |
SPACER | Na dotaz | Zadat poptávku | |
| 017 41711g0 |
C00081742 | PIPE - TAP | Na dotaz | Zadat poptávku | |
| 018 41711g0 |
C00081743
488000081743 |
BURNER TAP BY-PASS 60/100 | Na dotaz | Zadat poptávku | |
| 019 41711g0 |
C00081766 | BARRIER | Na dotaz | Zadat poptávku | |
| 020 41711g0 |
C00081715
480121102446 |
SPARK IGNITION TRANSFORMER | Na dotaz | Zadat poptávku | |
| 021 41711g0 |
C00081739 | INSULATOR | Na dotaz | Zadat poptávku | |
| 022 41711g0 |
C00081732
481244039426 |
BRACKET - SUPPLY GAS PIPE | Na dotaz | Zadat poptávku | |
| 023 41711g0 |
C00045235
481231038832 |
spona | Na dotaz | Zadat poptávku | |
| 024 41711g0 |
C00057251
488000057251 |
Deskové svorky | Na dotaz | Zadat poptávku | |
| 025 41711g0 |
C00081718 | BASE COVER TRAY | Na dotaz | Zadat poptávku | |
| 026 41711g0 |
C00045245 | CABLE CLAMP - MAINS CABLE (BLACK) | Na dotaz | Zadat poptávku | |
| 027 41711g0 |
C00076427 | TERMINAL BOARD COVER | Na dotaz | Zadat poptávku | |
| 028 41711g0 |
C00045248 | TERMINAL BLOCK (2 POLE) | Na dotaz | Zadat poptávku | |
| 029 41711g0 |
C00076428 | FIXING BASE TERMINAL BOARD ELECTRO | Na dotaz | Zadat poptávku | |
| 030 41711g0 |
C00076429 | TERMINAL BOARD SUPPORT | Na dotaz | Zadat poptávku | |
| 031 41711g0 |
C00045282
482000063139 |
GASKET FOR NOZZLE WITH VALVE | Na dotaz | Zadat poptávku | |
| 032 41711g0 |
C00052934
482000026827 |
PRUŽINA ZAPAL.SVÍČKY HOŘÁKU 'SABAF' | Na dotaz | Zadat poptávku | |
| 033 41711g0 |
C00053244
482000026855 |
ZAPALOVACÍ SVÍČKA TROJITÁ KORUNA | Na dotaz | Zadat poptávku | |
| 034 41711g0 |
C00061955
482000054903 |
TERMOČLÁNEK HOŘÁKU TROJITÁ KORUNA, BAJONETOVÁ SPOJKA 'SABA | Na dotaz | Zadat poptávku | |
| 035 41711g0 |
C00081726
482000058145 |
TAPTITE SCREW | Na dotaz | Zadat poptávku | |
| 036 41711g0 |
C00081724
482000058144 |
SUPPORT BRACKET - GLASS COVER | Na dotaz | Zadat poptávku | |
| 037 41711g0 |
C00081713
482000054155 |
BLANKING PLUG - LID HINGE HOLE | Na dotaz | Zadat poptávku | |
| 038 41711g0 |
C00081738 | IMPELLOR THERMOCOUPLE | Na dotaz | Zadat poptávku | |
| 039 41711g0 |
C00081693
482000058143 |
SPILLAGE TRAY - STAINLESS STEEL | Na dotaz | Zadat poptávku | |
| 040 41711g0 |
C00081129 | GLASS LID (NOT UK) CD 3(MR)T | Na dotaz | Zadat poptávku | |
| 041 41711g0 |
C00081133
488000081133 |
COVER LEFT HINGE | Na dotaz | Zadat poptávku | |
| 042 41711g0 |
C00081132 | COVER RIGHT HINGE | Na dotaz | Zadat poptávku | |
| 043 41711g0 |
C00081131 | COVER LEFT SUPPORT TC | Na dotaz | Zadat poptávku | |
| 044 41711g0 |
C00081130 | COVER RIGHT SUPPORT TC | Na dotaz | Zadat poptávku | |
| 045 41711g0 |
C00081298 | TAPTITE SCREW M4X12 F.RON.T.E.ZNTRP | Na dotaz | Zadat poptávku | |
| 046 41711g0 |
C00053196
482000026846 |
RUBBER BUFFER - GLASS LID FRONT | Na dotaz | Zadat poptávku | |
| 099 41711g0 |
C00045250 | CLAMPING PLATE - HOB/WORKTOP | Na dotaz | Zadat poptávku | |