ARISTON DZ B (IX)
Zeptejte se. Rádi poradíme.
Marek Proche
Zákaznická podpora
Po–Čt 8:00—17:00
Pá 8:00—15:00
poradna@servis-whirlpool.cz
| Komerční kód: | DZ B (IX) |
| Kód 12NC: | 869990529340 |
| I.C. kód: | AQ529340000 |
| Značka: | ARISTON |
| Typ produktu: | Vestavné trouby a varné desky |
Potřebujete servis? Jsme tady pro Vás
Nabídka náhradních dílů
| Číslo | Kód | Název | Cena | ||
|---|---|---|---|---|---|
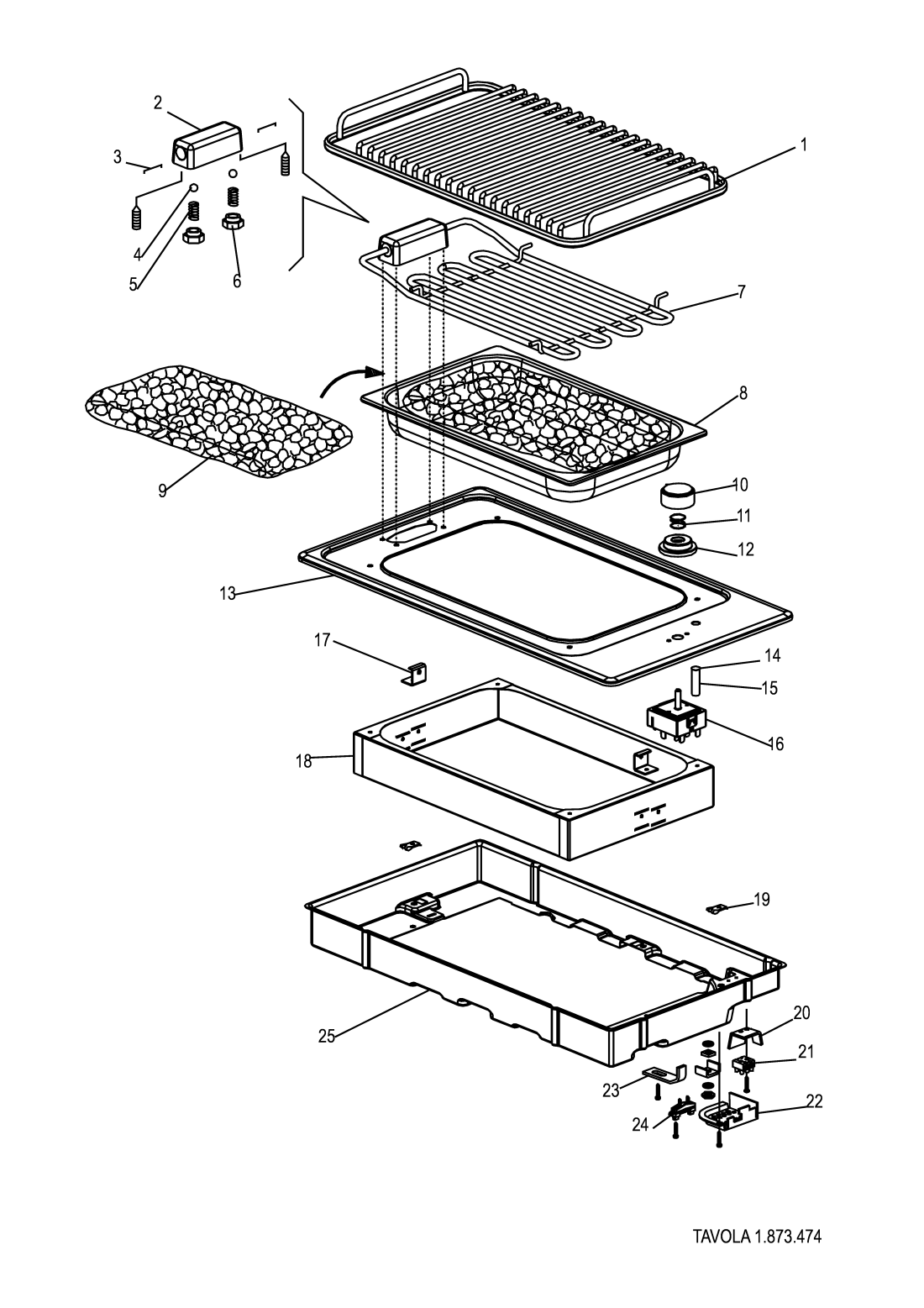
| 001 1.873.474 |
C00045356 | BARBECUE GRID | Na dotaz | Zadat poptávku | |
| 002 1.873.474 |
C00045337 | SUPPORT - HEATING ELEMENT | Na dotaz | Zadat poptávku | |
| 003 1.873.474 |
C00045347 | "U" WIRE SPRING - HINGE | Na dotaz | Zadat poptávku | |
| 004 1.873.474 |
C00045341 | BALL - ELEMENT HINGE (HCR 58-65) | Na dotaz | Zadat poptávku | |
| 005 1.873.474 |
C00045339 | COIL SPRING - ELEMENT HINGE | Na dotaz | Zadat poptávku | |
| 006 1.873.474 |
C00045338 | SPRING CAP(HEX)-ELEMENT HINGE | Na dotaz | Zadat poptávku | |
| 007 1.873.474 |
C00045359
482000026557 |
HEATING ELEMENT BARBEQUE 2400W | Na dotaz | Zadat poptávku | |
| 008 1.873.474 |
C00045355 | TRAY - LAVA ROCK | Na dotaz | Zadat poptávku | |
| 009 1.873.474 |
C00127308
482000081068 |
POUZDRO VUKANICKÁ HORNINA | Na dotaz | Zadat poptávku | |
| 010 1.873.474 |
C00267160
482000086108 |
OVLADAČ NEREZ | Na dotaz | Zadat poptávku | |
| 011 1.873.474 |
C00267162
482000086110 |
PRUŽINA KOTOUČE OVLADAČE | Na dotaz | Zadat poptávku | |
| 012 1.873.474 |
C00267164
482000086111 |
DISK PODOVLADAČ INOX | Na dotaz | Zadat poptávku | |
| 013 1.873.474 |
C00270562 | TOP PLATE - STAINLESS | Na dotaz | Zadat poptávku | |
| 014 1.873.474 |
C00081749
482000055909 |
PILOT LAMP LENS | Na dotaz | Zadat poptávku | |
| 015 1.873.474 |
C00045345
482000074217 |
INDICATOR LIGHT - RED | Na dotaz | Zadat poptávku | |
| 016 1.873.474 |
C00267658
481227328232 |
REGULÁTOR ENERGIE 230V | Na dotaz | Zadat poptávku | |
| 017 1.873.474 |
C00045335 | BOTTOM SUPPORT - CASING | Na dotaz | Zadat poptávku | |
| 018 1.873.474 |
C00045354 | OUTER CASING - LAVA ROCK TRAY | Na dotaz | Zadat poptávku | |
| 019 1.873.474 |
C00045235
481231038832 |
spona | Na dotaz | Zadat poptávku | |
| 020 1.873.474 |
C00045332 | INSULATION PLATE - TERMINAL BLOCK | Na dotaz | Zadat poptávku | |
| 021 1.873.474 |
C00045324
481229068289 |
TERMINAL BLOCK | Na dotaz | Zadat poptávku | |
| 022 1.873.474 |
C00045357
482000074219 |
COVER - TERMINAL BLOCK | Na dotaz | Zadat poptávku | |
| 023 1.873.474 |
C00081752
482000076745 |
PLATE CLAMP HOBS | Na dotaz | Zadat poptávku | |
| 024 1.873.474 |
C00045323 | CABLE CLAMP | Na dotaz | Zadat poptávku | |
| 025 1.873.474 |
C00045353 | BASE COVER TRAY | Na dotaz | Zadat poptávku | |