BAUKNECHT ETPI 5640 IN CERAMIC HOBS BK
Zeptejte se. Rádi poradíme.
Marek Proche

Marek Proche
Zákaznická podpora

227 191 733

Po–Čt 8:00—17:00
Pá 8:00—15:00

poradna@servis-whirlpool.cz

Položit dotaz

Komerční kód: ETPI 5640 IN CERAMIC HOBS BK
Kód 12NC/I.C. kód: 857482715000
Značka: BAUKNECHT
Typ produktu:Vestavné trouby a varné desky
Další podobné modely:857482701000, 857482701001, 857482715001

Potřebujete servis? Jsme tady pro Vás

Nabídka náhradních dílů

Číslo Kód Název Cena    
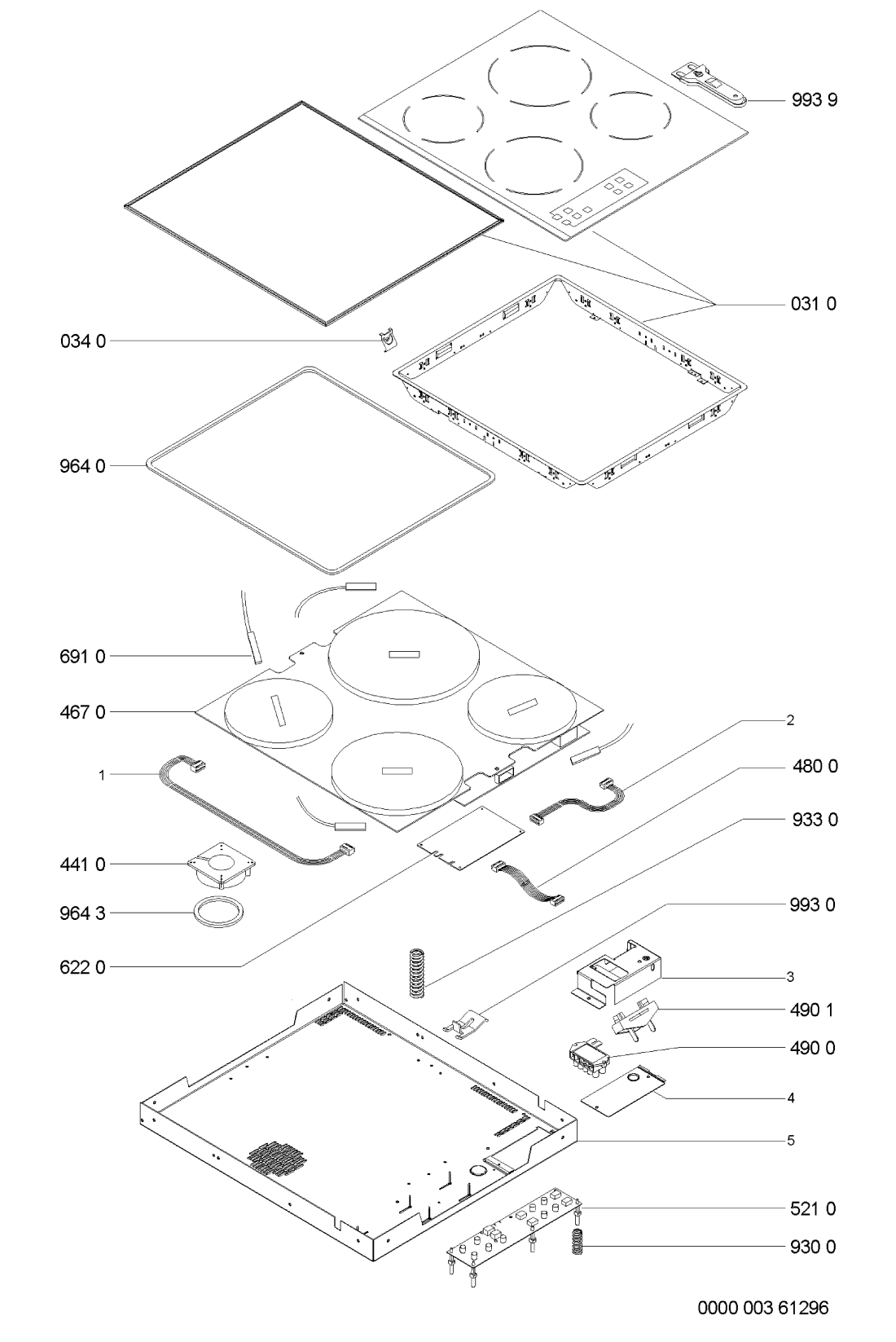
031 0
WHR70144
C00489200
481244039217
Hob glass ceramic Na dotaz Zadat poptávku
034 0
WHR70144
C00332865
481931038947
prichytka sklokeram-sada 1 021 Kč
€ 41.90
441 0
WHR70144
C00344340
481236118363
VENTILATOR Na dotaz Zadat poptávku
467 0
WHR70144
C00341732
481221458076
Module induction - G3 - 75.08003.038 Na dotaz Zadat poptávku
480 0
WHR70144
C00343861
481232058126
Cable flat, contr.b.->flat, contr.b.- Na dotaz Zadat poptávku
490 0
WHR70144
C00335579
481229068254
Terminal block 5-way Na dotaz Zadat poptávku
490 1
WHR70144
C00327588
481229068255
CABLE CLAMP Na dotaz Zadat poptávku
521 0
WHR70144
C00318100
481221478782
jednotka kontrolni Na dotaz Zadat poptávku
622 0
WHR70144
C00337590
481221478841
jednotka napajeci Na dotaz Zadat poptávku
691 0
WHR70144
C00336524
481231048161
senzor Na dotaz Zadat poptávku
930 0
WHR70144
C00336132
481249298025
Spring Na dotaz Zadat poptávku
933 0
WHR70144
C00336133
481249298024
Spring Na dotaz Zadat poptávku
964 0
WHR70144
C00333067
481946089172
tesneni varne desky 568 Kč
€ 23.30
964 3
WHR70144
C00331546
481246688989
těsnění Na dotaz Zadat poptávku
993 0
WHR70144
C00317505
481940478697
prichytka sklokeram 262 Kč
€ 10.80
993 1
WHR70144
C00339168
481231038956
vodice servisni Na dotaz Zadat poptávku
993 9
WHR70144
C00333357
481969048044
Škrabka na sklokeramické desky Na dotaz Zadat poptávku
994 0
WHR70144
C00332907
481939588003
Šablona AKM Na dotaz Zadat poptávku
Autorizované servisní centrum

Veškerý servis rodiny Whirlpool

Kamenná prodejna a sklad

Otevřená 5 dní v týdnu

Originální díly a příslušenství

Veškeré zboží přímo od výrobce

Odborný personál

Pomůžeme lajkům i odborníkům

Jednou za čas posíláme informace o speciální akcích, slevách a výprodejích. Nudné a zbytečné obchodní e-maily neposíláme.

×