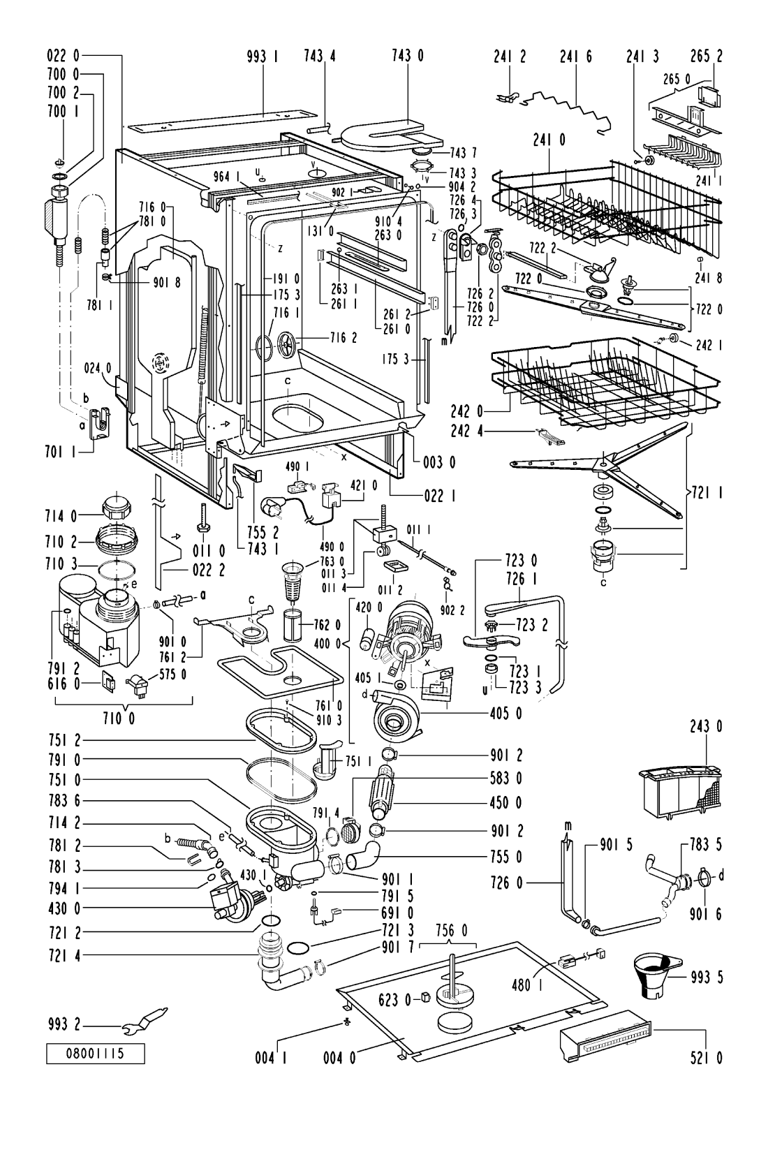
BAUKNECHT GSI 4743/3 WS
 
             
                 
                
    Zeptejte se. Rádi poradíme.
    
        
            
                
                     
              
        
        
            
    
    
             
            Marek Proche
                    
Zákaznická podpora
            
Po–Čt 8:00—17:00
                
Pá 8:00—15:00             
            
        
            
        poradna@servis-whirlpool.cz     
    
    
| Komerční kód: | GSI 4743/3 WS | 
| Kód 12NC/I.C. kód: | 854674301410 | 
| Značka: | BAUKNECHT | 
| Typ produktu: | Myčky | 
Potřebujete servis? Jsme tady pro Vás
Nabídka náhradních dílů
| Číslo | Kód | Název | Cena | ||
|---|---|---|---|---|---|
| 003 0 WHR97184 | C00335371 481244019382 | Traverse | Na dotaz | Zadat poptávku | |
| 004 0 WHR97184 | C00328100 481244018952 | Drip tray assy | Na dotaz | Zadat poptávku | |
| 004 1 WHR97184 | C00317898 481240118402 | drzak | Na dotaz | Zadat poptávku | |
| 011 0 WHR97184 | C00318437 481250518369 | Foot long | Na dotaz | Zadat poptávku | |
| 011 1 WHR97184 | C00318701 481252898004 | Tyčka nastavení | 205 Kč € 8.40 | ||
| 011 2 WHR97184 | C00315501 481252878032 | Kluzák zadní středové nohy | 339 Kč € 13.90 | ||
| 011 3 WHR97184 | C00311494 481253598054 | Gear | Na dotaz | Zadat poptávku | |
| 011 4 WHR97184 | C00315507 481252898001 | kolecko nohy | 470 Kč € 19.30 | ||
| 022 0 WHR97184 | C00336326 481244019398 | stena bocni leva | Na dotaz | Zadat poptávku | |
| 022 1 WHR97184 | C00336308 481244019397 | stena bocni prava | Na dotaz | Zadat poptávku | |
| 022 2 WHR97184 | C00336213 481244018953 | Spacer | Na dotaz | Zadat poptávku | |
| 024 0 WHR97184 | C00341518 481244019463 | Panel, rear | Na dotaz | Zadat poptávku | |
| 040 1 WHR97184 | C00312272 481241718774 | Závěs dveří levý | 568 Kč € 23.30 | ||
| 040 2 WHR97184 | C00312358 481241718773 | zaves dveri pravy | 568 Kč € 23.30 | ||
| 044 0 WHR97184 | C00311639 481249238362 | Pružina Dveří | 1 001 Kč € 41.10 | ||
| 044 1 WHR97184 | C00529797 481249238365 | Spring f.push button f.push button | Na dotaz | Zadat poptávku | |
| 047 0 WHR97184 | C00312008 481240448591 | Brake f.door | Na dotaz | Zadat poptávku | |
| 047 1 WHR97184 | C00311343 481240118397 | Band,brake | Na dotaz | Zadat poptávku | |
| 047 2 WHR97184 | C00311951 481240468023 | hak brzdne pasky | 154 Kč € 6.30 | ||
| 053 0 WHR97184 | C00337665 481944019906 | Plinth service kit NoThermod. | Na dotaz | Zadat poptávku | |
| 103 0 WHR97184 | C00338986 481244018986 | Door outer | Na dotaz | Zadat poptávku | |
| 103 0 WHR97184 | C00497934 481244019478 | dvere mycky vnejsi | Na dotaz | Zadat poptávku | |
| 105 0 WHR97184 | C00311337 481240448611 | Držák dveří dekoru | 368 Kč € 15.10 | ||
| 105 2 WHR97184 | C00498573 481250568004 | PR?CHYTKA KOV N | Na dotaz | Zadat poptávku | |
| 120 0 WHR97184 | C00328106 481244019456 | vnitrek dveri mycky | Na dotaz | Zadat poptávku | |
| 120 1 WHR97184 | C00328101 481244018969 | lista | Na dotaz | Zadat poptávku | |
| 130 0 WHR97184 | C00335456 481241758361 | Tilt lock cpl. wh | Na dotaz | Zadat poptávku | |
| 131 0 WHR97184 | C00314010 481240118416 | pojistka zamku | 1 376 Kč € 56.50 | ||
| 175 3 WHR97184 | C00344437 481246668572 | Batten | Na dotaz | Zadat poptávku | |
| 175 3 WHR97184 | C00344416 481246668532 | Batten whwh | Na dotaz | Zadat poptávku | |
| 191 0 WHR97184 | C00311041 481246668564 | Těsnění dveří myčky - obvodové | 654 Kč € 26.90 | ||
| 192 0 WHR97184 | C00311260 481246668467 | Těsnění dveří - spodní myčky nádobí Whirlpool | 666 Kč € 27.40 | ||
| 241 0 WHR97184 | C00498269 481245818267 | Basket upper inclined upper inclined | Na dotaz | Zadat poptávku | |
| 241 1 WHR97184 | C00319073 481245818324 | Holder cups right whcups right wh | Na dotaz | Zadat poptávku | |
| 241 2 WHR97184 | C00316719 481253578036 | Bearing wh | Na dotaz | Zadat poptávku | |
| 241 3 WHR97184 | C00315034 481252888068 | Set of 4 Basket Wheels | Na dotaz | Zadat poptávku | |
| 241 6 WHR97184 | C00498271 481245818333 | drzak hrnicku | Na dotaz | Zadat poptávku | |
| 241 8 WHR97184 | C00314554 481246668553 | Spacer cap set | Na dotaz | Zadat poptávku | |
| 242 0 WHR97184 | C00344471 481245818919 | Basket lower cpl. | Na dotaz | Zadat poptávku | |
| 242 1 WHR97184 | C00314772 481252888069 | Wheel,basket lower wh | Na dotaz | Zadat poptávku | |
| 242 4 WHR97184 | C00340899 481246648059 | Fixation wh | Na dotaz | Zadat poptávku | |
| 243 0 WHR97184 | C00315811 481245818272 | Basket cutlery cutlery | Na dotaz | Zadat poptávku | |
| 261 0 WHR97184 | C00336926 481946238271 | Rail telescope, inner | Na dotaz | Zadat poptávku | |
| 261 1 WHR97184 | C00316779 481940448819 | Cap rail | Na dotaz | Zadat poptávku | |
| 261 2 WHR97184 | C00312762 481246278995 | Cap rail ahead | Na dotaz | Zadat poptávku | |
| 263 0 WHR97184 | C00311960 481952018013 | Ball cage cpl. | Na dotaz | Zadat poptávku | |
| 263 1 WHR97184 | C00332297 481252048001 | Ball Niro 8 D | Na dotaz | Zadat poptávku | |
| 265 0 WHR97184 | C00555146 481240448642 | Basket adjustm. cpl... | Na dotaz | Zadat poptávku | |
| 265 2 WHR97184 | C00588543 481240448641 | Grip basket adjustment. | Na dotaz | Zadat poptávku | |
| 301 0 WHR97184 | C00548553 481245379483 | PANEL KONTROLNY | Na dotaz | Zadat poptávku | |
| 303 1 WHR97184 | C00490026 481246038071 | Plate handle WH | Na dotaz | Zadat poptávku | |
| 305 0 WHR97184 | C00495957 481244019373 | Batten WH | Na dotaz | Zadat poptávku | |
| 305 1 WHR97184 | C00333202 481950218241 | Screw synthetic | Na dotaz | Zadat poptávku | |
| 305 2 WHR97184 | C00333238 481950518191 | matice | Na dotaz | Zadat poptávku | |
| 305 3 WHR97184 | C00316134 481244019475 | Batten adjustable 5mm adjustable 5mm | Na dotaz | Zadat poptávku | |
| 305 4 WHR97184 | C00316128 481244019349 | lista nastav.10mm WH | Na dotaz | Zadat poptávku | |
| 305 5 WHR97184 | C00489154 481244019371 | Batten adjustable 7,5mm WH | Na dotaz | Zadat poptávku | |
| 322 0 WHR97184 | C00740858 481245370307 | Insert panel WH | Na dotaz | Zadat poptávku | |
| 332 0 WHR97184 | C00620397 481241028524 | Push button cap WH. | Na dotaz | Zadat poptávku | |
| 332 1 WHR97184 | C00491587 481241028525 | Push button cap WH | Na dotaz | Zadat poptávku | |
| 332 2 WHR97184 | C00588547 481241028526 | Push button cap WH. | Na dotaz | Zadat poptávku | |
| 332 3 WHR97184 | C00527605 481241028566 | Push button cap ON/OFF cap ON/OFF WH | Na dotaz | Zadat poptávku | |
| 350 0 WHR97184 | C00554958 481227658077 | MODUL KONTR. N | Na dotaz | Zadat poptávku | |
| 400 0 WHR97184 | C00497532 481236158126 | CERPADLO CIRKULACNE KOMPLET LOP. P | Na dotaz | Zadat poptávku | |
| 405 0 WHR97184 | C00497495 481236018371 | TELESO CIRK.CERPADLA PLAST P | Na dotaz | Zadat poptávku | |
| 405 1 WHR97184 | C00333259 481951528158 | podlozka | 358 Kč € 14.70 | ||
| 420 0 WHR97184 | C00326768 481212118132 | Capacitor | Na dotaz | Zadat poptávku | |
| 421 0 WHR97184 | C00313712 481212118161 | Interf.filter | Na dotaz | Zadat poptávku | |
| 430 0 WHR97184 | C00497493 481236018357 | V#TOKOV? CERPADLO ADG9540 lop. N | Na dotaz | Zadat poptávku | |
| 430 1 WHR97184 | C00498457 481246668506 | KRUZOK TESNIACI | Na dotaz | Zadat poptávku | |
| 450 0 WHR97184 | C00311759 481225928684 | Heating element 2040W 220V - 303554 | Na dotaz | Zadat poptávku | |
| 480 0 WHR97184 | C00493175 481232128385 | Cable harness set set | Na dotaz | Zadat poptávku | |
| 480 1 WHR97184 | C00343881 481232128371 | vodic spojovaci | 347 Kč € 14.30 | ||
| 480 2 WHR97184 | C00493174 481232128383 | VODIČ 6 POLOVY | Na dotaz | Zadat poptávku | |
| 480 3 WHR97184 | C00311946 481240118418 | Protector f.wiring | Na dotaz | Zadat poptávku | |
| 490 0 WHR97184 | C00316393 481932118136 | Flexo kabel 2 m, konektory | Na dotaz | Zadat poptávku | |
| 490 1 WHR97184 | C00309418 481232128367 | Přechodka | 324 Kč € 13.30 | ||
| 521 0 WHR97184 | C00554871 481221478264 | CONTROL BOARD.. | Na dotaz | Zadat poptávku | |
| 531 0 WHR97184 | C00497327 481227318055 | SPINAC DAVKOVANIA SOLI N | Na dotaz | Zadat poptávku | |
| 531 1 WHR97184 | C00497328 481227318056 | GOMBIK NASTAVOVACI PLAST. N | Na dotaz | Zadat poptávku | |
| 575 0 WHR97184 | C00327511 481228128361 | Regen.valve | Na dotaz | Zadat poptávku | |
| 583 0 WHR97184 | C00317341 481227128355 | Switch diaphragm | Na dotaz | Zadat poptávku | |
| 616 0 WHR97184 | C00327505 481228118047 | Contact reed salt | Na dotaz | Zadat poptávku | |
| 616 1 WHR97184 | C00327262 481227158161 | Contact reed rinsing agent | Na dotaz | Zadat poptávku | |
| 620 0 WHR97184 | C00482467 481221838048 | User board (UB) | Na dotaz | Zadat poptávku | |
| 621 0 WHR97184 | C00621334 481227618237 | Power switch ON/OFF | Na dotaz | Zadat poptávku | |
| 623 0 WHR97184 | C00338099 481227138356 | Microswitch | Na dotaz | Zadat poptávku | |
| 633 0 WHR97184 | C00327238 481227138355 | Microswitch door | Na dotaz | Zadat poptávku | |
| 680 0 WHR97184 | C00312283 481241868155 | Combidosage | Na dotaz | Zadat poptávku | |
| 680 1 WHR97184 | C00314550 481246668495 | Těsnění násypky | 547 Kč € 22.50 | ||
| 681 1 WHR97184 | C00313952 481246668497 | Gasket SK 5244.04.04 | Na dotaz | Zadat poptávku | |
| 681 2 WHR97184 | C00316126 481244018975 | klapka | 527 Kč € 21.70 | ||
| 682 0 WHR97184 | C00319741 481246668496 | tesneni nasypky | 126 Kč € 5.20 | ||
| 691 0 WHR97184 | C00315181 481228268012 | Feeler NTC NTC | Na dotaz | Zadat poptávku | |
| 700 0 WHR97184 | C00337227 481253028804 | Wasserstopp-Zulaufschlauch XSSG4000 | Na dotaz | Zadat poptávku | |
| 700 0 WHR97184 | C00339223 481253028848 | Hose, inlet aqua stop 2m | Na dotaz | Zadat poptávku | |
| 700 1 WHR97184 | C00336304 481248048019 | Sieve | Na dotaz | Zadat poptávku | |
| 700 2 WHR97184 | C00340431 481252058002 | Gasket set | Na dotaz | Zadat poptávku | |
| 701 1 WHR97184 | C00327323 481231018153 | Držák hadic | 666 Kč € 27.40 | ||
| 710 0 WHR97184 | C00319374 481241868128 | Monoblock | Na dotaz | Zadat poptávku | |
| 710 2 WHR97184 | C00319772 481931038536 | matice upevnovaci-náhrada 481231038896 | Na dotaz | Zadat poptávku | |
| 710 3 WHR97184 | C00315128 481946669562 | Gasket set | Na dotaz | Zadat poptávku | |
| 714 0 WHR97184 | C00319565 481246278993 | Threaded cap | Na dotaz | Zadat poptávku | |
| 714 2 WHR97184 | C00343888 481244018963 | hadice | 65 Kč € 2.70 | ||
| 716 0 WHR97184 | C00311895 481241868147 | 4812 418 68368 POSUDA | Na dotaz | Zadat poptávku | |
| 716 1 WHR97184 | C00315959 481246668475 | Gasket | Na dotaz | Zadat poptávku | |
| 716 2 WHR97184 | C00311305 481246278994 | mrizka bloku upravy vody | 302 Kč € 12.40 | ||
| 721 1 WHR97184 | C00553392 481236068062 | Spray arm lower cpl... | Na dotaz | Zadat poptávku | |
| 721 2 WHR97184 | C00498455 481246668491 | TESNENIE ADL331 GUM./PLOCHE | Na dotaz | Zadat poptávku | |
| 721 3 WHR97184 | C00498459 481246668558 | TESNENIE 76X2,5 N | Na dotaz | Zadat poptávku | |
| 721 4 WHR97184 | C00340890 481244019455 | Flange | Na dotaz | Zadat poptávku | |
| 722 0 WHR97184 | C00312287 481236068044 | Rameno mycí horní myčky nádobí Whirlpool | 1 123 Kč € 46.10 | ||
| 722 2 WHR97184 | C00339170 481236068057 | Hub upper inclined cpl | Na dotaz | Zadat poptávku | |
| 723 0 WHR97184 | C00328637 481236068049 | Spray arm ceiling | Na dotaz | Zadat poptávku | |
| 723 1 WHR97184 | C00340578 481246668483 | GASKET | Na dotaz | Zadat poptávku | |
| 723 2 WHR97184 | C00343265 481240448597 | Clip,fix spray arm | Na dotaz | Zadat poptávku | |
| 723 3 WHR97184 | C00336549 481250518362 | Screwed joint | Na dotaz | Zadat poptávku | |
| 726 0 WHR97184 | C00498612 481253028786 | PRIVOD K STREDNEMU R | Na dotaz | Zadat poptávku | |
| 726 1 WHR97184 | C00337409 481253028787 | trubice privodova | 807 Kč € 33.20 | ||
| 726 2 WHR97184 | C00498571 481250518358 | MATICA TRYSKY ADL331 PLAST. N | Na dotaz | Zadat poptávku | |
| 726 3 WHR97184 | C00340575 481246668512 | tesneni naboje | Na dotaz | Zadat poptávku | |
| 726 4 WHR97184 | C00319575 481246279633 | spojka stred ramene | Na dotaz | Zadat poptávku | |
| 743 0 WHR97184 | C00318471 481251148171 | jednotka kondenzacni | 447 Kč € 18.40 | ||
| 743 1 WHR97184 | C00314290 481253028102 | Hadička | 82 Kč € 3.40 | ||
| 743 3 WHR97184 | C00318435 481250518364 | matice | Na dotaz | Zadat poptávku | |
| 743 4 WHR97184 | C00332410 481253028807 | hadice | Na dotaz | Zadat poptávku | |
| 743 7 WHR97184 | C00319749 481246668514 | tesneni | 407 Kč € 16.70 | ||
| 751 0 WHR97184 | C00497803 481241818205 | zasobnik vody | Na dotaz | Zadat poptávku | |
| 751 1 WHR97184 | C00337194 481241818203 | usmernovac vody | Na dotaz | Zadat poptávku | |
| 751 2 WHR97184 | C00340993 481244019454 | FASTENER FRAME | Na dotaz | Zadat poptávku | |
| 755 0 WHR97184 | C00498616 481253028849 | koleno - hadice | Na dotaz | Zadat poptávku | |
| 755 2 WHR97184 | C00332503 481253048148 | Přepadový kanál levý | 206 Kč € 8.50 | ||
| 756 0 WHR97184 | C00340827 481236058099 | Floater | Na dotaz | Zadat poptávku | |
| 761 0 WHR97184 | C00498506 481248058082 | SITKO JEMNE | Na dotaz | Zadat poptávku | |
| 761 2 WHR97184 | C00342357 481241818204 | Cover sieve | Na dotaz | Zadat poptávku | |
| 762 0 WHR97184 | C00338179 481248058084 | Filtr myčky - jemný | 585 Kč € 24.00 | ||
| 763 0 WHR97184 | C00336300 481248058083 | Filtr myčky - hrubý | 87 Kč € 3.60 | ||
| 781 0 WHR97184 | C00314840 481253028737 | hadice vytok. mycky | 529 Kč € 21.70 | ||
| 781 1 WHR97184 | C00336274 481953028286 | Sleeve hose | Na dotaz | Zadat poptávku | |
| 781 2 WHR97184 | C00343290 481949268405 | Clip f.non-return valv - 6234.45485 | Na dotaz | Zadat poptávku | |
| 781 3 WHR97184 | C00340834 481228128364 | klapka zpetna | Na dotaz | Zadat poptávku | |
| 783 5 WHR97184 | C00342135 481253078028 | ROZDELOVAC ADP9 | 453 Kč € 18.60 | ||
| 783 6 WHR97184 | C00332409 481253028796 | Hose 10x3x180+10 | Na dotaz | Zadat poptávku | |
| 791 0 WHR97184 | C00498664 481253268067 | TESNENIE ADP941 GUM. PLOCH N | Na dotaz | Zadat poptávku | |
| 791 2 WHR97184 | C00312677 481253058093 | Gasket SK 5199 01 4 | Na dotaz | Zadat poptávku | |
| 791 4 WHR97184 | C00319745 481246668503 | Těsnění ADP941 | 426 Kč € 17.50 | ||
| 791 5 WHR97184 | C00330909 481246668504 | tesneni | 333 Kč € 13.70 | ||
| 794 1 WHR97184 | C00337981 481953058032 | tesnici O krouzek | 370 Kč € 15.20 | ||
| 901 0 WHR97184 | C00317847 482240110492 | spona12-20/9A | 112 Kč € 4.60 | ||
| 901 1 WHR97184 | C00317950 481240118424 | spona050,0 | Na dotaz | Zadat poptávku | |
| 901 2 WHR97184 | C00311047 481240118157 | spona 33-55 | 117 Kč € 4.80 | ||
| 901 5 WHR97184 | C00314613 481240148573 | spona028,6 | Na dotaz | Zadat poptávku | |
| 901 6 WHR97184 | C00335967 481240148574 | Strap 038,1 | Na dotaz | Zadat poptávku | |
| 901 7 WHR97184 | C00497550 481240118427 | spona031,6 | Na dotaz | Zadat poptávku | |
| 901 8 WHR97184 | C00328871 481240118075 | spona20-32/9 | Na dotaz | Zadat poptávku | |
| 902 1 WHR97184 | C00491959 481246678361 | uhelnik upevnovaci | Na dotaz | Zadat poptávku | |
| 902 2 WHR97184 | C00329172 481240478241 | Držák | 318 Kč € 13.10 | ||
| 904 2 WHR97184 | C00342559 481246279657 | Cover BK 3,5x5 | Na dotaz | Zadat poptávku | |
| 904 2 WHR97184 | C00342337 481246279635 | krytka | Na dotaz | Zadat poptávku | |
| 910 1 WHR97184 | C00311881 481250218394 | Šroub | 74 Kč € 3.00 | ||
| 910 2 WHR97184 | C00316659 481250218363 | Šroub | 191 Kč € 7.80 | ||
| 910 3 WHR97184 | C00345781 481250218389 | sroub 5x20-TORX | 76 Kč € 3.10 | ||
| 910 4 WHR97184 | C00336642 481250218386 | Screw 3,5x8-TORX T15 | Na dotaz | Zadat poptávku | |
| 910 5 WHR97184 | C00345782 481250218393 | Screw 3,5x9-1 Tx15 | Na dotaz | Zadat poptávku | |
| 910 7 WHR97184 | C00314887 481250218397 | Screw INOX A2 M 5x14 TX20 | Na dotaz | Zadat poptávku | |
| 964 1 WHR97184 | C00330914 481246668573 | Těsnění horní skříně vestavné myčky Whirlpool | 396 Kč € 16.30 | ||
| 964 1 WHR97184 | C00498458 481246668511 | Gasket housing upper housing upper | Na dotaz | Zadat poptávku | |
| 993 1 WHR97184 | C00340819 481246678362 | Foil protection | Na dotaz | Zadat poptávku | |
| 993 2 WHR97184 | C00336235 481240448609 | Socket wrench foot | Na dotaz | Zadat poptávku | |
| 993 5 WHR97184 | C00335151 482253280216 | SALT FUNNEL | Na dotaz | Zadat poptávku | |