HOT POINT ARISTON HKID 640 C
Zeptejte se. Rádi poradíme.
Marek Proche

Marek Proche
Zákaznická podpora

227 191 733

Po–Čt 8:00—17:00
Pá 8:00—15:00

poradna@servis-whirlpool.cz

Položit dotaz

Komerční kód: HKID 640 C
Kód 12NC: 869991531660
I.C. kód: 769991531661
Značka: HOT POINT ARISTON
Typ produktu:Vestavné trouby a varné desky
Další podobné modely:25933770000

Potřebujete servis? Jsme tady pro Vás

Nabídka náhradních dílů

Číslo Kód Název Cena    
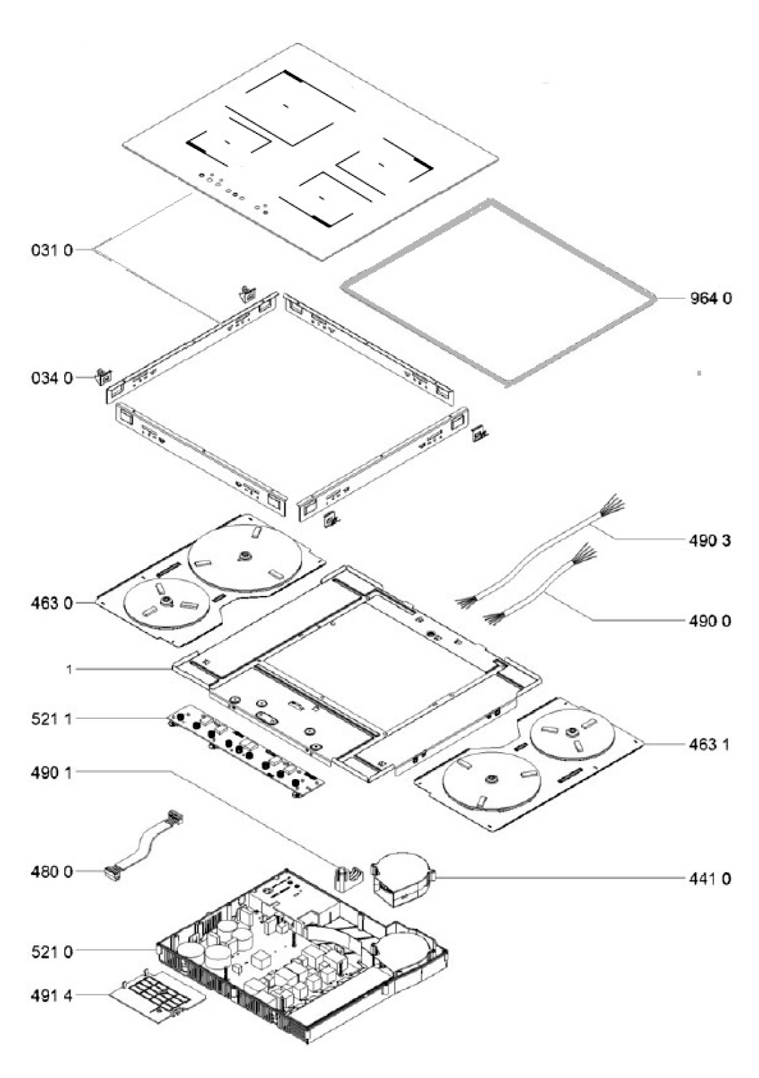
031 0
10618998E
C00384783
488000384783
PRACOVNÍ PLOCHA IVID 641 B C Na dotaz Zadat poptávku
034 0
10618998E
C00480455
488000480455
BALENÍ HÁČKY UPEVŇ. TOP VARNÉ DESKY60/90 Na dotaz Zadat poptávku
0340
10618998E
C00520870
488000520870
ŠROUB SLCH3Z T4.2X9.5 Na dotaz Zadat poptávku
441 0
10618998E
C00379898
481010761138
Air cooling fan G0 Na dotaz Zadat poptávku
463 0
10618998E
C00312205
481010549107
Plotna 145-210mm 2 345 Kč
€ 96.20
463 1
10618998E
C00383439
481010668281
Heating element 180-180mm 2100/1800W Na dotaz Zadat poptávku
480 0
10618998E
C00315407
481010491046
Kabelový svazek indukční varné desky Whirlpool 255 Kč
€ 10.50
490 0
10618998E
C00316228
481010691655
MAINS CABLE G0 1,5M Na dotaz Zadat poptávku
490 1
10618998E
C00324782
481010517027
Svorkovnice 1 542 Kč
€ 63.30
491 4
10618998E
C00315700
481010473482
kryt svorkovnice 141 Kč
€ 5.80
521 0
10618998E
C00311171
481010595434
Modul GO Na dotaz Zadat poptávku
521 0
10618998E
C00383401
481010814091
Kryt elektroniky indukční varné desky Whirlpool, Indesit 1 207 Kč
€ 49.50
521 1
10618998E
C00382428
488000382428
CONTROL BOARD 4B (G0 INDESIT VERS.) Na dotaz Zadat poptávku
964 0
10618998E
C00316995
481246688969
Těsnění varné desky Whirlpool , Whirlpool Ikea 61 Kč
€ 2.50
Autorizované servisní centrum

Veškerý servis rodiny Whirlpool

Kamenná prodejna a sklad

Otevřená 5 dní v týdnu

Originální díly a příslušenství

Veškeré zboží přímo od výrobce

Odborný personál

Pomůžeme lajkům i odborníkům

Jednou za čas posíláme informace o speciální akcích, slevách a výprodejích. Nudné a zbytečné obchodní e-maily neposíláme.

×