IKEA 40049759 HOB 410 S INTEGRETABLE HOBS IK
Zeptejte se. Rádi poradíme.
Marek Proche
Zákaznická podpora
Po–Čt 8:00—17:00
Pá 8:00—15:00
poradna@servis-whirlpool.cz
| Komerční kód: | 40049759 HOB 410 S INTEGRETABLE HOBS IK |
| Kód 12NC/I.C. kód: | 852758315000 |
| Značka: | IKEA |
| Typ produktu: | Vestavné trouby a varné desky |
| Další podobné modely: | 852758315010 |
Potřebujete servis? Jsme tady pro Vás
Nabídka náhradních dílů
| Číslo | Kód | Název | Cena | ||
|---|---|---|---|---|---|
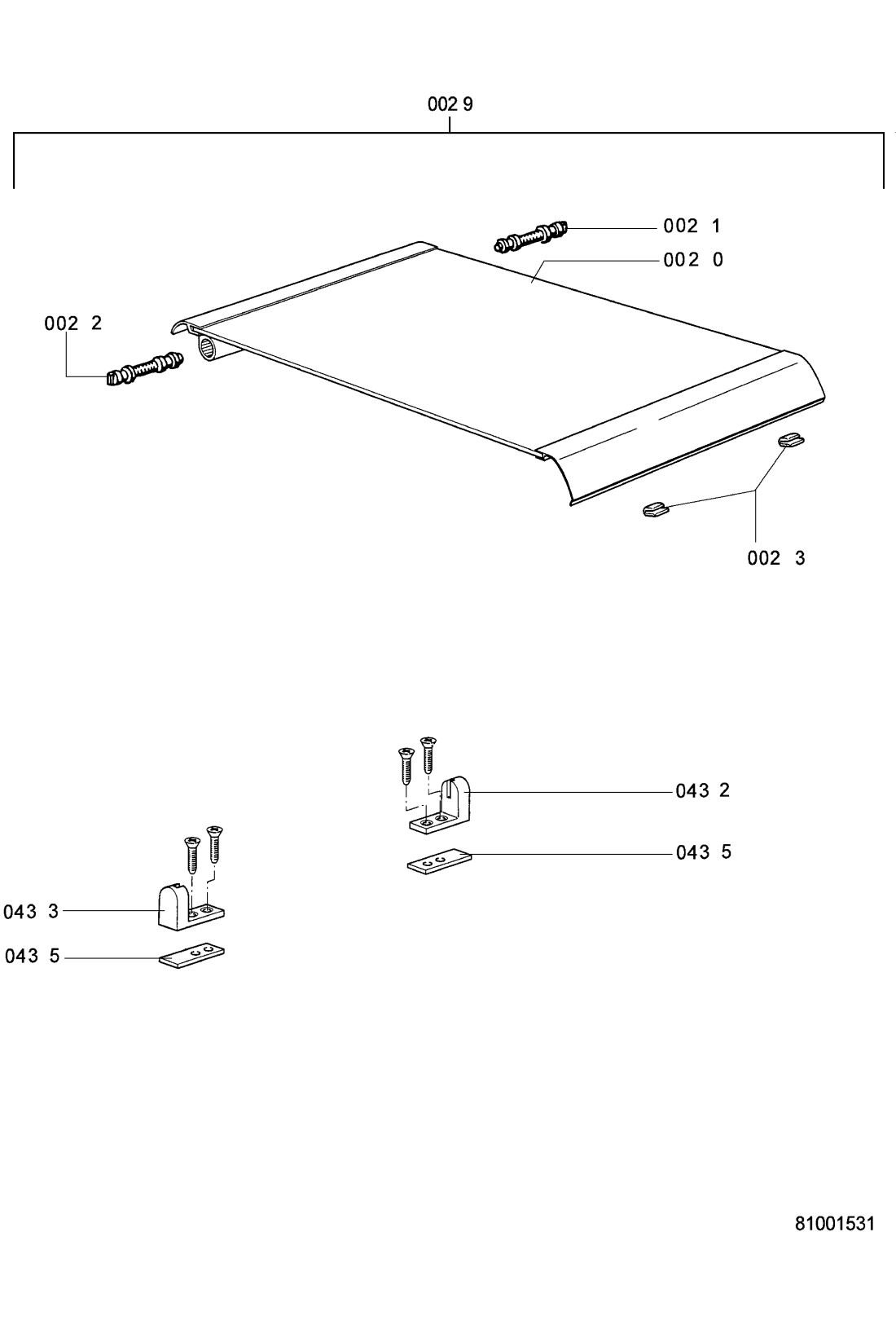
| 001 0 WHR89886 |
C00489325
481244268927 |
Hob | Na dotaz | Zadat poptávku | |
| 002 0 WHR89886 |
C00484571
481208128006 |
Lid glass | Na dotaz | Zadat poptávku | |
| 002 1 WHR89886 |
C00488928
481241718886 |
Hinge right glass lid | Na dotaz | Zadat poptávku | |
| 002 2 WHR89886 |
C00488929
481241718887 |
Hinge left glass lid | Na dotaz | Zadat poptávku | |
| 002 3 WHR89886 |
C00555208
481241719097 |
Damper.. | Na dotaz | Zadat poptávku | |
| 002 9 WHR89886 |
C00555004
481231018819 |
Hob.. | Na dotaz | Zadat poptávku | |
| 025 0 WHR89886 |
C00555005
481231018821 |
Hob.. | Na dotaz | Zadat poptávku | |
| 031 0 WHR89886 |
C00528282
481245058657 |
Hob glass with frame | Na dotaz | Zadat poptávku | |
| 034 0 WHR89886 |
C00582658
481240448663 |
Fastener | Na dotaz | Zadat poptávku | |
| 043 2 WHR89886 |
C00582683
481241718884 |
Hinge right. | Na dotaz | Zadat poptávku | |
| 043 3 WHR89886 |
C00488927
481241718885 |
Hinge left | Na dotaz | Zadat poptávku | |
| 043 5 WHR89886 |
C00484475
481946689386 |
Plate | Na dotaz | Zadat poptávku | |
| 331 0 WHR89886 |
C00582878
481941129591 |
GOMBIK (AKZ) | Na dotaz | Zadat poptávku | |
| 351 0 WHR89886 |
C00582787
481913448479 |
Žárovka signální | Na dotaz | Zadat poptávku | |
| 351 1 WHR89886 |
C00481318
481913448454 |
signalka | 448 Kč
€ 18.40 |
||
| 354 0 WHR89886 |
C00481280
481246098004 |
Cover | Na dotaz | Zadat poptávku | |
| 354 1 WHR89886 |
C00484660
481228018022 |
Cover | Na dotaz | Zadat poptávku | |
| 464 0 WHR89886 |
C00604108
481925998544 |
Cooking plate dia .145mm 1200W. | Na dotaz | Zadat poptávku | |
| 464 1 WHR89886 |
C00488525
481225998264 |
VARNA PLATNA 180MM 1700W | Na dotaz | Zadat poptávku | |
| 490 0 WHR89886 |
C00494484
481932118329 |
Cable,mains | Na dotaz | Zadat poptávku | |
| 491 0 WHR89886 |
C00493042
481229088061 |
svorkovnice | Na dotaz | Zadat poptávku | |
| 522 0 WHR89886 |
C00317945
481927328455 |
Spínač vačkový | 1 257 Kč
€ 51.50 |
||
| 522 8 WHR89886 |
C00486847
481946818296 |
Gasket | Na dotaz | Zadat poptávku | |
| 900 1 WHR89886 |
C00582657
481240438535 |
DRZIAK | Na dotaz | Zadat poptávku | |
| 910 0 WHR89886 |
C00336753
481950219456 |
SCREW | Na dotaz | Zadat poptávku | |
| 910 2 WHR89886 |
C00582586
481222008008 |
šroub | Na dotaz | Zadat poptávku | |
| 914 0 WHR89886 |
C00583002
481950651002 |
Nut | Na dotaz | Zadat poptávku | |
| 921 0 WHR89886 |
C00583013
481953268804 |
Spacer | Na dotaz | Zadat poptávku | |
| 933 0 WHR89886 |
C00582988
481949268693 |
Spring | Na dotaz | Zadat poptávku | |
| 964 0 WHR89886 |
C00500903
481246818009 |
tesneni varne desky | 362 Kč
€ 14.80 |
||