HOT POINT ARISTON IKIS 841 F F
Zeptejte se. Rádi poradíme.
Marek Proche

Marek Proche
Zákaznická podpora

227 191 733

Po–Čt 8:00—17:00
Pá 8:00—15:00

poradna@servis-whirlpool.cz

Položit dotaz

Komerční kód: IKIS 841 F F
Kód 12NC/I.C. kód: 859420201020
Značka: HOT POINT ARISTON
Typ produktu:Vestavné trouby a varné desky
Další podobné modely:61010810000

Potřebujete servis? Jsme tady pro Vás

Nabídka náhradních dílů

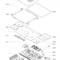
Číslo Kód Název Cena    
0310
WHR08606
C00380930
481010808556
PRACOVNÍ PLOCHA IKIS 841 F F Na dotaz Zadat poptávku
0340
WHR08606
C00317231
481010751052
Plíšky k uchycení desky Na dotaz Zadat poptávku
4410
WHR08606
C00313329
480121100062
Chladící ventilátor pravý indukční desky Whirlpool 2 436 Kč
€ 100.00
4411
WHR08606
C00312898
480121100063
Chladící ventilátor levý indukční desky Whirlpool 2 112 Kč
€ 86.70
4630
WHR08606
C00319635
481010404912
Heating element 145mm 1800/1200W Na dotaz Zadat poptávku
4631
WHR08606
C00326015
481010671434
Heating element 180-180mm Oval Na dotaz Zadat poptávku
4632
WHR08606
C00324182
481010404913
Heating element 210mm 2200/3000W Na dotaz Zadat poptávku
4801
WHR08606
C00311462
480121100066
Kabelový svazek elektroniky indukční desky Whirlpool 772 Kč
€ 31.70
4900
WHR08606
C00321451
480122101931
Síťový napájecí kabel indukční varné desky Whirlpool 1 013 Kč
€ 41.60
4901
WHR08606
C00321795
480121100057
Cable holder - G7 induction Na dotaz Zadat poptávku
4914
WHR08606
C00316550
480121100056
Kryt svorkovnice 882 Kč
€ 36.20
5211
WHR08606
C00325998
481010669403
Control unit Artemis 2014 4B Slider Na dotaz Zadat poptávku
5212
WHR08606
C00345239
481010692849
modul G8 3 478 Kč
€ 142.70
5213
WHR08606
C00313051
481061522183
Síťový filtr indukční varné desky Whirlpool 3 697 Kč
€ 151.70
5214
WHR08606
C00380897
481010692847
Power unit G8 Minus SL Na dotaz Zadat poptávku
5620
WHR08606
C00313067
480121102363
pojistka F.25A/250V 343 Kč
€ 14.10
9640
WHR08606
C00311601
481246688967
Gasket Na dotaz Zadat poptávku
Autorizované servisní centrum

Veškerý servis rodiny Whirlpool

Kamenná prodejna a sklad

Otevřená 5 dní v týdnu

Originální díly a příslušenství

Veškeré zboží přímo od výrobce

Odborný personál

Pomůžeme lajkům i odborníkům

Jednou za čas posíláme informace o speciální akcích, slevách a výprodejích. Nudné a zbytečné obchodní e-maily neposíláme.

×