HOT POINT ARISTON KIU 631 FLT F
Zeptejte se. Rádi poradíme.
Marek Proche

Marek Proche
Zákaznická podpora

227 191 733

Po–Čt 8:00—17:00
Pá 8:00—15:00

poradna@servis-whirlpool.cz

Položit dotaz

Komerční kód: KIU 631 FLT F
Kód 12NC: 869991014370
I.C. kód: 61014370000
Značka: HOT POINT ARISTON
Typ produktu:Vestavné trouby a varné desky
Další podobné modely:859991008590

Potřebujete servis? Jsme tady pro Vás

Nabídka náhradních dílů

Číslo Kód Název Cena    
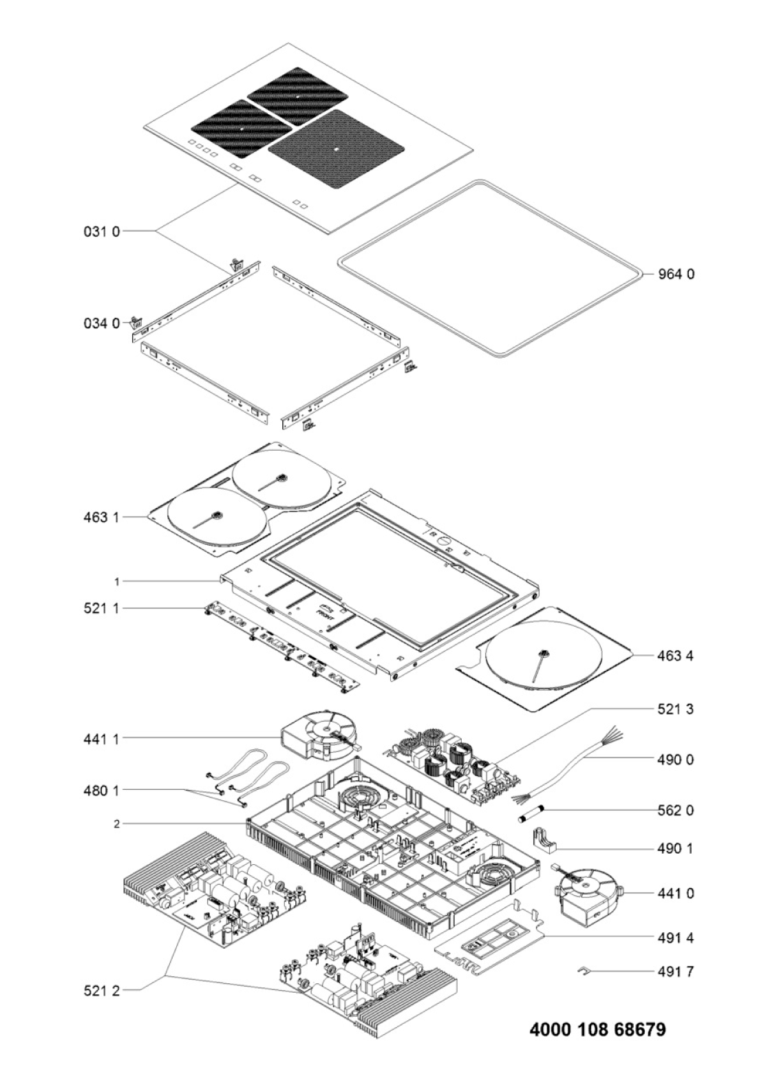
031 0
10868679
C00386626
481010868866
PRACOVNÍ PLOCHA KIU 631 FLT F Na dotaz Zadat poptávku
034 0
10868679
C00480455
488000480455
BALENÍ HÁČKY UPEVŇ. TOP VARNÉ DESKY60/90 Na dotaz Zadat poptávku
0340
10868679
C00520870
488000520870
ŠROUB SLCH3Z T4.2X9.5 Na dotaz Zadat poptávku
441 0
10868679
C00313329
480121100062
Chladící ventilátor pravý indukční desky Whirlpool 2 436 Kč
€ 100.00
441 1
10868679
C00312898
480121100063
Chladící ventilátor levý indukční desky Whirlpool 2 112 Kč
€ 86.70
463 1
10868679
C00326015
481010671434
Heating element 180-180mm Oval Na dotaz Zadat poptávku
463 4
10868679
C00385858
481010404919
Heating element 260mm 1.8/1.5-3.0/2.4kW Na dotaz Zadat poptávku
480 1
10868679
C00311462
480121100066
Kabelový svazek elektroniky indukční desky Whirlpool 772 Kč
€ 31.70
490 0
10868679
C00321451
480122101931
Síťový napájecí kabel indukční varné desky Whirlpool 1 013 Kč
€ 41.60
490 1
10868679
C00321795
480121100057
Cable holder - G7 induction Na dotaz Zadat poptávku
491 4
10868679
C00316550
480121100056
Kryt svorkovnice 882 Kč
€ 36.20
491 7
10868679
C00386617
481061517701
SHUNT IND G7 -PONTICELLI- Na dotaz Zadat poptávku
521 1
10868679
C00385859
481010676098
Control unit Ulysses 3B G7 Na dotaz Zadat poptávku
521 2
10868679
C00326032
481010672242
Power unit G8 Minus SS Na dotaz Zadat poptávku
521 3
10868679
C00313051
481061522183
Síťový filtr indukční varné desky Whirlpool 3 697 Kč
€ 151.70
562 0
10868679
C00313067
480121102363
pojistka F.25A/250V 343 Kč
€ 14.10
964 0
10868679
C00316995
481246688969
Těsnění varné desky Whirlpool , Whirlpool Ikea 61 Kč
€ 2.50
Autorizované servisní centrum

Veškerý servis rodiny Whirlpool

Kamenná prodejna a sklad

Otevřená 5 dní v týdnu

Originální díly a příslušenství

Veškeré zboží přímo od výrobce

Odborný personál

Pomůžeme lajkům i odborníkům

Jednou za čas posíláme informace o speciální akcích, slevách a výprodejích. Nudné a zbytečné obchodní e-maily neposíláme.

×