IKEA TÄCKNAN 607287 EU
Zeptejte se. Rádi poradíme.
Marek Proche

Marek Proche
Zákaznická podpora

227 191 733

Po–Čt 8:00—17:00
Pá 8:00—15:00

poradna@servis-whirlpool.cz

Položit dotaz

Komerční kód: TÄCKNAN 607287 EU
Kód 12NC/I.C. kód: 859698033910
Značka: IKEA
Typ produktu:Vestavné trouby a varné desky

Potřebujete servis? Jsme tady pro Vás

Nabídka náhradních dílů

Číslo Kód Název Cena    
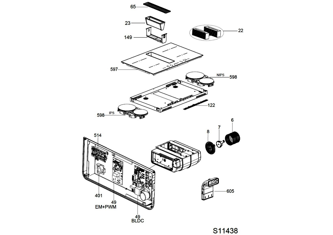
006
S11438
C00861162
488000861162
Vrtule ventilátoru odsavače par Whirlpool, Indesit 664 Kč
€ 27.20
007
S11438
C00974139
488000974139
COMPLETE MOTOR MOT BLDC 16P 230V 50 HZ Na dotaz Zadat poptávku
008
S11438
C00974140
488000974140
MOTOR SUPPORT SUP.MOT.CH700/800 A+ (MAT. Na dotaz Zadat poptávku
022
S11438
C00974141
488000974141
CARBON FILTER KIT FC PLI TESLA SING. 2P Na dotaz Zadat poptávku
023
S11438
C00974143
488000974143
GREASE FILTER GFA 3D NT FIT (2025) Na dotaz Zadat poptávku
049
S11438
C00923165
488000923165
BLDC ELECTRONIC VARIATOR KIT BLDC CTRL Na dotaz Zadat poptávku
049
S11438
C00974145
488000974145
EM+PWM 1410 CIRCUIT BOARD PW RL 4V SC 1 Na dotaz Zadat poptávku
065
S11438
C00974148
488000974148
EXHAUSTING CONNECTION KIT GRI. NT FIT IK Na dotaz Zadat poptávku
122
S11438
C00974150
488000974150
COMPLETE SLIDER TC FULL NT FIT IKEA B2 Na dotaz Zadat poptávku
149
S11438
C00974153
488000974153
SUPPORT GRID 3D SUP/VAS FILTRO 3D FIT ( Na dotaz Zadat poptávku
401
S11438
C00861247
488000861247
RFI NOISE FILTER 2X8MH 2x2.2NF 100NF 2MR Na dotaz Zadat poptávku
514
S11438
C00863397
488000863397
Connectionblock Na dotaz Zadat poptávku
597
S11438
C00974154
488000974154
COOKTOP ASSEMBLY KIT VTR. FIT 80 IKEA M Na dotaz Zadat poptávku
598
S11438
C00974155
488000974155
INDUCTION PLATE NIPS SLAVE MOD.IND B2 R Na dotaz Zadat poptávku
598
S11438
C00974156
488000974156
INDUCTION PLATE IPS MASTER MOD.IND B2 R Na dotaz Zadat poptávku
605
S11438
C00996058
488000996058
90 NABER/ITUBE NT FIT CONNECTOR ASSEMBLY Na dotaz Zadat poptávku
Autorizované servisní centrum

Veškerý servis rodiny Whirlpool

Kamenná prodejna a sklad

Otevřená 5 dní v týdnu

Originální díly a příslušenství

Veškeré zboží přímo od výrobce

Odborný personál

Pomůžeme lajkům i odborníkům

Jednou za čas posíláme informace o speciální akcích, slevách a výprodejích. Nudné a zbytečné obchodní e-maily neposíláme.

×