HOT POINT UE89X/1
 
             
                 
                 
                 
                 
                
    Zeptejte se. Rádi poradíme.
    
        
            
                
                     
              
        
        
            
    
    
             
            Marek Proche
                    
Zákaznická podpora
            
Po–Čt 8:00—17:00
                
Pá 8:00—15:00             
            
        
            
        poradna@servis-whirlpool.cz     
    
    
| Komerční kód: | UE89X/1 | 
| Kód 12NC: | 869990643760 | 
| I.C. kód: | 25643760000 | 
| Značka: | HOT POINT | 
| Typ produktu: | Vestavné trouby a varné desky | 
| Další podobné modely: | 25643760100 | 
Potřebujete servis? Jsme tady pro Vás
Nabídka náhradních dílů
| Číslo | Kód | Název | Cena | ||
|---|---|---|---|---|---|
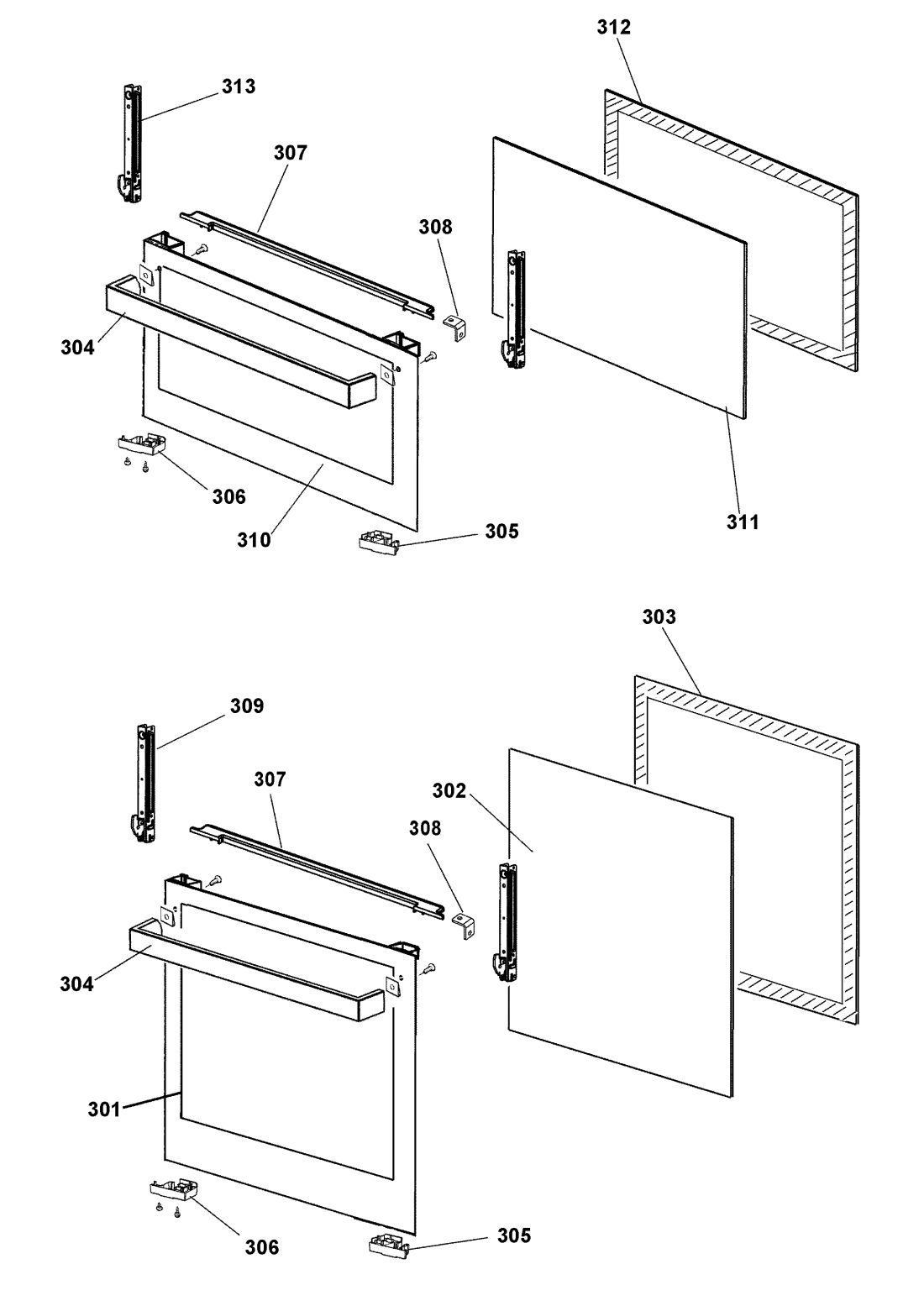
| 301 12947-11 | C00276720 482000055388 | DOOR GLASS MAIN | Na dotaz | Zadat poptávku | |
| 302 12947-11 | C00254616 488000254616 | MAIN DOOR CENTRE GLASS | Na dotaz | Zadat poptávku | |
| 303 12947-11 | C00254615 482000062244 | MAIN DOOR INNER GLASS | Na dotaz | Zadat poptávku | |
| 304 12947-11 | C00121939 482000022893 | WASHER FAN-SHAPED M5 | Na dotaz | Zadat poptávku | |
| 304 12947-11 | C00145356 482000082359 | DOOR HANDLE NEW H 10 IX | Na dotaz | Zadat poptávku | |
| 304 12947-11 | C00193654 488000193654 | DOOR BUSH BLACK | Na dotaz | Zadat poptávku | |
| 304 12947-11 | C00230387 482000084673 | SCREW (M5 X 16) | Na dotaz | Zadat poptávku | |
| 305 12947-11 | C00253957 488000253957 | RH END CAP LOW DOOR | Na dotaz | Zadat poptávku | |
| 306 12947-11 | C00253958 488000253958 | LH END CAP LOW DOOR | Na dotaz | Zadat poptávku | |
| 307 12947-11 | C00253960 488000253960 | DOOR TOP TRIM | Na dotaz | Zadat poptávku | |
| 308 12947-11 | C00253951 488000253951 | TOP TRIM FIXING BRACKET | Na dotaz | Zadat poptávku | |
| 309 12947-11 | C00254614 488000254614 | MAIN DOOR HINGE | Na dotaz | Zadat poptávku | |
| 309,313 12947-11 | C00017240 482000025977 | ŠROUB SAMOŘEZNÝ 8PX9,52 T1/2T ČERNÁ | Na dotaz | Zadat poptávku | |
| 309,313 12947-11 | C00082323 482000027533 | ŠROUB UPEVNĚNÍ RUKOJEŤ M5X18 BRN | Na dotaz | Zadat poptávku | |
| 310 12947-11 | C00276721 | DOOR GLASS TOP | Na dotaz | Zadat poptávku | |
| 311 12947-11 | C00254617 488000254617 | TOP DOOR CENTRE GLASS | Na dotaz | Zadat poptávku | |
| 312 12947-11 | C00254618 482000062245 | TOP DOOR INNER GLASS | Na dotaz | Zadat poptávku | |
| 313 12947-11 | C00196009 488000196009 | DOOR HINGE TOP DOOR | Na dotaz | Zadat poptávku | |
| 999 12947-11 | C00112453 482000028587 | VITE AUT.4.2X9.5 TPRP ZN. | Na dotaz | Zadat poptávku | |
| 099 12948-01 | C00194349 482000083131 | KABELÁŽ SÉRIOVÝ KLÍČ HARDWARE HOT2005 | Na dotaz | Zadat poptávku | |
| 201 12948-01 | C00272527 | OVLADAČ TEPELNÁ TROUBA TOP PUSCH NICKEL | Na dotaz | Zadat poptávku | |
| 201 12948-01 | C00272529 488000272529 | OVLADAČ TEPELNÁ GRILL TOP PUSCH NICKEL | Na dotaz | Zadat poptávku | |
| 201 12948-01 | C00272531 | OVLADAČ TROUBA PUSCH NICKEL | Na dotaz | Zadat poptávku | |
| 202 12948-01 | C00144057 482000029843 | KLÁVESA HŘÍBKOVÁ PROGR. ELEKTRON. | Na dotaz | Zadat poptávku | |
| 203 12948-01 | C00194518 482000030186 | PROGRAMMER KNOB IX E0 OVEN | Na dotaz | Zadat poptávku | |
| 204 12948-01 | C00094651 482000028035 | GASKET DASHBOARD DIAMOND/QUARTZ | Na dotaz | Zadat poptávku | |
| 204 12948-01 | C00274380 482000062815 | OVLÁDACÍ DESKA OVLADAČE | Na dotaz | Zadat poptávku | |
| 204 12948-01 | C00263665 488000263665 | PŘEDNÍ PANEL PUSH/PUSH | Na dotaz | Zadat poptávku | |
| 205 12948-01 | C00193594 482000062324 | KNOB DISC NEWTECH BLACK | Na dotaz | Zadat poptávku | |
| 206 12948-01 | C00193535 | TIMER DISPLAY MODULE EDT (CK) | Na dotaz | Zadat poptávku | |
| 206 12948-01 | C00276525 | DISPLAY E0 N/PYRO AUTOCK UK+STANDBY | Na dotaz | Zadat poptávku | |
| 207 12948-01 | C00193764 488000193764 | WIRING HARNESS | Na dotaz | Zadat poptávku | |
| 207 12948-01 | C00193532 482000030149 | Potenciometr (9 pozic) sporáku Whirlpool, Indesit | 394 Kč € 16.20 | ||
| 208 12948-01 | C00142022 482000029606 | POTENCIOMETR TEPLOTY (HOT2005) | Na dotaz | Zadat poptávku | |
| 208 12948-01 | C00193527 488000193527 | CONTROL HARNESS TOP OVEN | Na dotaz | Zadat poptávku | |
| 209 12948-01 | C00138844 482000081401 | TANGENTIAL FAN SEAL | Na dotaz | Zadat poptávku | |
| 209 12948-01 | C00193373 482000054694 | COOLING FAN 20MM STACK | Na dotaz | Zadat poptávku | |
| 210 12948-01 | C00229690 488000229690 | PCB STANDOFF LCBS | Na dotaz | Zadat poptávku | |
| 211 12948-01 | C00252696 482000062537 | SILOVÝ ROZVADĚČ V31 (CK) | Na dotaz | Zadat poptávku | |
| 211 12948-01 | C00276539 | KARTA SILOVÁ MAIN E0.D.F.UI MICRO +STAND | Na dotaz | Zadat poptávku | |
| 211 12948-01 | C00193357 488000193357 | HEAT DEFLECTOR HOB | Na dotaz | Zadat poptávku | |
| 212 12948-01 | C00193525 482000030148 | TEMPERATURE PROBE TOP OVEN | Na dotaz | Zadat poptávku | |
| 213 12948-01 | C00229691 488000229691 | SENSOR PROBE HOT2003 | Na dotaz | Zadat poptávku | |
| 214 12948-01 | C00261846 488000261846 | CARD 8KB HOT2005 SW 28400790002 | Na dotaz | Zadat poptávku | |
| 214 12948-01 | C00277756 | CARD 8KB HOT2005 SW 28400790003 | Na dotaz | Zadat poptávku | |
| 215 12948-01 | C00263927 482000085762 | SMART READER FOR CARD 8KB 32KB + HOOD | Na dotaz | Zadat poptávku | |
| 218 12948-01 | C00196569 482000030268 | KRYT | Na dotaz | Zadat poptávku | |
| 999 12948-01 | C00269589 482000086439 | HARDWARE KEY HARNESS | Na dotaz | Zadat poptávku | |
| 999 12948-01 | C00193529 | HARNESS DOOR SWITCH | Na dotaz | Zadat poptávku | |
| 999 12948-01 | C00194278 | RICHCO BOARD MOUNT CLIP | Na dotaz | Zadat poptávku | |
| 401 12948-10 | C00268579 482000030899 | DRŽADLO HL. PLECHU TROUBA | Na dotaz | Zadat poptávku | |
| 402 12948-10 | C00199643 482000030287 | OVEN SHELF | Na dotaz | Zadat poptávku | |
| 403 12948-10 | C00272630 482000031109 | HLUBOKÝ PLECH SMALTOVANÝ ČERNÁ DOUBLE OV | Na dotaz | Zadat poptávku | |
| 404 12948-10 | C00199618 482000062072 | ANTI SPLASH TRAY | Na dotaz | Zadat poptávku | |
| 405 12948-10 | C00117378 482000080679 | MŘÍŽKA PATROVÁ DO TROUBY 344X223 | Na dotaz | Zadat poptávku | |
| 406 12948-10 | C00196299 488000196299 | TOP OVEN SIDE LINER B/U CATALYTIC | Na dotaz | Zadat poptávku | |
| 407 12948-10 | C00196302 488000196302 | TOP DOOR SEAL BUILT UNDER | Na dotaz | Zadat poptávku | |
| 408 12948-10 | C00230285 482000055396 | HIGH SPEED GRILL ASSY 2400W | Na dotaz | Zadat poptávku | |
| 409 12948-10 | C00078426 482000022698 | Světlo trouby komplet | 1 571 Kč € 64.40 | ||
| 410 12948-10 | C00076978 482000022693 | Žárovka 25W 220V | 200 Kč € 8.20 | ||
| 411 12948-10 | C00230135 482000062497 | HEATING ELEMENT 1200W | Na dotaz | Zadat poptávku | |
| 414 12948-10 | C00199582 482000067635 | FRONT SUPP BKT GRILL | Na dotaz | Zadat poptávku | |
| 415 12948-10 | C00241172 488000241172 | SHELF SUPPORT LH | Na dotaz | Zadat poptávku | |
| 416 12948-10 | C00241173 488000241173 | SHELF SUPPORT RH 60CM | Na dotaz | Zadat poptávku | |
| 418 12948-10 | C00199689 482000067642 | VENT TUBE SEC WASHER | Na dotaz | Zadat poptávku | |
| 419 12948-10 | C00261626 | TOP OVEN VENT PIPE | Na dotaz | Zadat poptávku | |
| 501 12948-21 | C00194441 | TELESCOPIC SIDE RH | Na dotaz | Zadat poptávku | |
| 502 12948-21 | C00264201 | M.OVEN SHELF SUPPORT ASSY R/H | Na dotaz | Zadat poptávku | |
| 502 12948-21 | C00264232 | M.OVEN SHELF SUPPORT ASSY L/H | Na dotaz | Zadat poptávku | |
| 504 12948-21 | C00194442 488000194442 | TELESCOPIC SIDE LH | Na dotaz | Zadat poptávku | |
| 505 12948-21 | C00098172 482000028269 | HLUBOKÝ PLECH SMALT. ČERNÝ 446x364x56 | Na dotaz | Zadat poptávku | |
| 506 12948-21 | C00193359 | GRILL PAN GRID | Na dotaz | Zadat poptávku | |
| 507 12948-21 | C00196300 488000196300 | MAIN OVEN SIDE LINER B/U CATALYTIC | Na dotaz | Zadat poptávku | |
| 508 12948-21 | C00138834 482000022925 | Topné těleso trouby – kruhové, horkovzduch 1600W | 253 Kč € 10.40 | ||
| 511 12948-21 | C00196301 | MAIN DOOR SEAL | Na dotaz | Zadat poptávku | |
| 513 12948-21 | C00261627 482000061764 | MAIN OVEN VENT PIPE | Na dotaz | Zadat poptávku | |
| 514 12948-21 | C00199746 482000061784 | FAN MOTOR INSULATION | Na dotaz | Zadat poptávku | |
| 515 12948-21 | C00230134 482000062496 | VENTILÁTOR S MOTOREM KOMPLETNÍ | Na dotaz | Zadat poptávku | |
| 518 12948-21 | C00117389 482000062498 | MIKROSPÍNAČ NARÁŽECÍ CUT-OUT GRILL | Na dotaz | Zadat poptávku | |
| 519 12948-21 | C00255140 488000255140 | MULTI FUNCTION TOP ELEMENT 2400W B/U | Na dotaz | Zadat poptávku | |
| 520 12948-21 | C00081585 482000027500 | TAPTITE SCREW | Na dotaz | Zadat poptávku | |
| 520 12948-21 | C00195332 482000030217 | OVEN BACK PANEL SELF-CLEANING | Na dotaz | Zadat poptávku | |
| 522 12948-21 | C00255150 488000255150 | HINGE SWITCH SUPPORT | Na dotaz | Zadat poptávku | |
| 999 12948-21 | C00240046 | FIXING KIT-B/I | Na dotaz | Zadat poptávku | |
| 601 12948-35 | C00254550 | SERVICE MANUAL UE89X1 UQ89I | Na dotaz | Zadat poptávku | |
| 602 12948-35 | C00224218 488000224218 | CABINET FIXING BKT | Na dotaz | Zadat poptávku | |
| 603 12948-35 | C00225564 488000225564 | NOŽIČKA NASTAVITELNÁ | Na dotaz | Zadat poptávku | |
| 604 12948-35 | C00225565 488000225565 | FOOT CHANNEL | Na dotaz | Zadat poptávku | |
| 605 12948-35 | C00254078 488000254078 | FOOT SUPPORT BRACKET | Na dotaz | Zadat poptávku | |
| 606 12948-35 | C00264202 | ZADNÍ ČÁSTSPORÁKU | Na dotaz | Zadat poptávku | |
| 607 12948-35 | C00259775 488000259775 | MAINS TERMINAL BLOCK | Na dotaz | Zadat poptávku | |
| 607 12948-35 | C00916242 488000916242 | TERMINAL BLOCK TREE PHASES ELE NOVA ELEK | Na dotaz | Zadat poptávku | |
| 608 12948-35 | C00196570 488000196570 | SIDE PANEL FOR BUILT UNDER## | Na dotaz | Zadat poptávku | |
| 609 12948-35 | C00254079 488000254079 | REAR LAGGING MAT BUILT UNDER | Na dotaz | Zadat poptávku | |
| 610 12948-35 | C00265773 488000265773 | IZOLACE TROUBY | Na dotaz | Zadat poptávku | |
| 612 12948-35 | C00142028 482000029608 | ADAPTOR HOUSING HARDWARE HOT2005 | Na dotaz | Zadat poptávku | |
| 613 12948-35 | C00142027 482000081769 | SERIAL PORT COVER HOT2005 | Na dotaz | Zadat poptávku | |