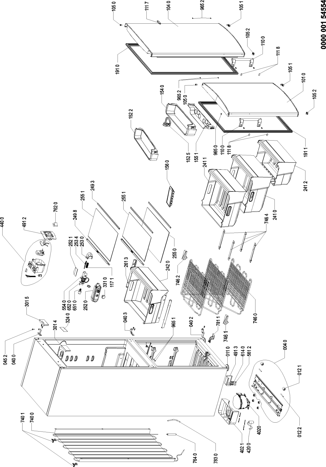
WHIRLPOOL WBE34132 A++X
Zeptejte se. Rádi poradíme.
Marek Proche
Zákaznická podpora
Po–Čt 8:00—17:00
Pá 8:00—15:00
poradna@servis-whirlpool.cz
| Komerční kód: | WBE34132 A++X |
| Kód 12NC/I.C. kód: | 850515210040 |
| Značka: | WHIRLPOOL |
| Typ produktu: | Volně stojící lednice s mrazákem |
| Další podobné modely: | 850515210041, 850515210042, 850515211040, 850515211041, 850515211042 |
Potřebujete servis? Jsme tady pro Vás
Nabídka náhradních dílů
| Číslo | Kód | Název | Cena | ||
|---|---|---|---|---|---|
| 004 0 WHR10449 |
C00330828
481246428054 |
drzak kompr.a kolec | 563 Kč
€ 23.20 |
||
| 011 0 WHR10449 |
C00330473
481246218321 |
noha nastavitelna | Na dotaz | Zadat poptávku | |
| 012 1 WHR10449 |
C00332373
481252878062 |
kolecko lednice | 311 Kč
€ 12.80 |
||
| 012 2 WHR10449 |
C00332726
481253578074 |
osa kolecka lednice | Na dotaz | Zadat poptávku | |
| 040 0 WHR10449 |
C00329779
481241719517 |
Závěs horní | 641 Kč
€ 26.40 |
||
| 040 2 WHR10449 |
C00329780
481241719518 |
Závěs spodní | 680 Kč
€ 28.10 |
||
| 040 3 WHR10449 |
C00319920
481241719519 |
Závěs dveří střední - chladničky Whirlpool, Ignis | 697 Kč
€ 28.80 |
||
| 045 2 WHR10449 |
C00316600
481222608025 |
cep | 227 Kč
€ 9.40 |
||
| 101 0 WHR10449 |
C00329620
481241610794 |
Door freezer IX | Na dotaz | Zadat poptávku | |
| 104 0 WHR10449 |
C00377649
481241610795 |
Door refriger. IX | Na dotaz | Zadat poptávku | |
| 105 0 WHR10449 |
C00314330
481253288056 |
Pouzdro závěsu - kulaté | Na dotaz | Zadat poptávku | |
| 105 1 WHR10449 |
C00317176
481253288104 |
Pouzdro - pravé závěsu dveří chladničky Whirlpool Náhrada 481010627601 |
Na dotaz | Zadat poptávku | |
| 105 2 WHR10449 |
C00320239
481253288105 |
SLEEVE LEFT GREY | Na dotaz | Zadat poptávku | |
| 110 0 WHR10449 |
C00323381
480132101116 |
Rukojeť | Na dotaz | Zadat poptávku | |
| 111 7 WHR10449 |
C00480209
481245918218 |
logo Whirlpool | Na dotaz | Zadat poptávku | |
| 111 8 WHR10449 |
C00323409
480132101176 |
Záslepka | Na dotaz | Zadat poptávku | |
| 117 1 WHR10449 |
C00312939
481249148014 |
pruzina | 208 Kč
€ 8.60 |
||
| 152 2 WHR10449 |
C00314112
480132102001 |
police Náhrada 481010467687 |
Na dotaz | Zadat poptávku | |
| 152 5 WHR10449 |
C00329894
481241820164 |
drzak lahvi | Na dotaz | Zadat poptávku | |
| 154 0 WHR10449 |
C00314426
480132102002 |
Police na dveře Náhrada 481010467690 |
Na dotaz | Zadat poptávku | |
| 155 1 WHR10449 |
C00387248
480132102003 |
Door dairy eggs,printed | Na dotaz | Zadat poptávku | |
| 156 0 WHR10449 |
C00327747
481241829902 |
miska na led | Na dotaz | Zadat poptávku | |
| 191 0 WHR10449 |
C00311563
481246668941 |
Těsnění magnetické do dveří lednice chladničky Indesit | 1 227 Kč
€ 50.60 |
||
| 191 1 WHR10449 |
C00311915
481246668942 |
Těsnění magnetické do dveří mrazáku chladničky Whirlpool | 1 502 Kč
€ 62.00 |
||
| 241 0 WHR10449 |
C00313708
480132101147 |
Koš mrazničky - střední | 2 278 Kč
€ 94.00 |
||
| 241 1 WHR10449 |
C00323394
480132101141 |
Horní koš mrazáku kombinované chladničky Whirlpool | 2 278 Kč
€ 94.00 |
||
| 241 2 WHR10449 |
C00315609
480132101144 |
Koš mrazničky-spodní | 2 396 Kč
€ 98.80 |
||
| 242 0 WHR10449 |
C00314712
480132101121 |
Crisper blue transparent | Na dotaz | Zadat poptávku | |
| 249 3 WHR10449 |
C00314484
480132101168 |
Krycí lišta - přední skleněné police chladničky Whirlpool | 558 Kč
€ 23.00 |
||
| 249 8 WHR10449 |
C00320108
480132101162 |
Trim Shelf rear GW | Na dotaz | Zadat poptávku | |
| 252 0 WHR10449 |
C00312480
481244079219 |
Casing | Na dotaz | Zadat poptávku | |
| 252 1 WHR10449 |
C00319193
481246048927 |
reflektor | 207 Kč
€ 8.50 |
||
| 253 0 WHR10449 |
C00311648
481246228545 |
Krytka termostatu chladničky Whirlpool | 524 Kč
€ 21.60 |
||
| 253 4 WHR10449 |
C00311795
481227618362 |
Táhlo, páčka osvětlení chladničky Whirlpool | 753 Kč
€ 31.10 |
||
| 255 0 WHR10449 |
C00318918
480132101129 |
Skleněná police nad zásuvku na zeleninu chladničky Whirlpool | 3 257 Kč
€ 134.40 |
||
| 255 1 WHR10449 |
C00323389
480132101134 |
Skleněná police (včetně ochranných lišt) chladničky Whirlpool WBE34132 A++W, WBE3411 S. | 748 Kč
€ 30.90 |
||
| 261 3 WHR10449 |
C00316805
480132101137 |
pojezd | Na dotaz | Zadat poptávku | |
| 301 4 WHR10449 |
C00328162
481244029582 |
zaslepka | Na dotaz | Zadat poptávku | |
| 301 5 WHR10449 |
C00328163
481244029583 |
zaslepka | 143 Kč
€ 5.90 |
||
| 324 0 WHR10449 |
C00432542
480132102075 |
Sticker | Na dotaz | Zadat poptávku | |
| 331 0 WHR10449 |
C00317427
480131100003 |
knoflik lednice | 319 Kč
€ 13.20 |
||
| 402 0 WHR10449 |
C00318190
480132101215 |
Kompresor HXK 95 AA | Na dotaz | Zadat poptávku | |
| 402 1 WHR10449 |
C00327837
481241848824 |
miska na kondenzat | Na dotaz | Zadat poptávku | |
| 420 0 WHR10449 |
C00278650
481212018029 |
Kondenzátor 4uF náhrada C00526514 | Na dotaz | Zadat poptávku | |
| 440 0 WHR10449 |
C00316811
480132101184 |
Fan box GW cpl. VELA with switch | Na dotaz | Zadat poptávku | |
| 491 2 WHR10449 |
C00318168
480132101212 |
Kryt filtru chladničky | 549 Kč
€ 22.60 |
||
| 491 3 WHR10449 |
C00267000
481229088084 |
KRYT PLAST | Na dotaz | Zadat poptávku | |
| 554 0 WHR10449 |
C00311858
481228238084 |
Termostat S16077-K59 chladničky Whirlpool | 355 Kč
€ 14.60 |
||
| 561 2 WHR10449 |
C00267004
481229088112 |
konektor | 85 Kč
€ 3.50 |
||
| 614 0 WHR10449 |
C00323421
480132101216 |
Monoblock ZXF5 | Na dotaz | Zadat poptávku | |
| 651 0 WHR10449 |
C00311277
481913488135 |
BULB LED E14 T25 - 15W - 220V | Na dotaz | Zadat poptávku | |
| 652 0 WHR10449 |
C00311531
481246698982 |
Držák termostatu | 484 Kč
€ 20.00 |
||
| 740 0 WHR10449 |
C00323624
480132102076 |
kondenzator | Na dotaz | Zadat poptávku | |
| 740 1 WHR10449 |
C00330558
481246228822 |
doraz | Na dotaz | Zadat poptávku | |
| 746 0 WHR10449 |
C00432541
480132102074 |
vyparnik | Na dotaz | Zadat poptávku | |
| 746 1 WHR10449 |
C00319388
480132102069 |
drzak vyparniku levy | 56 Kč
€ 2.30 |
||
| 746 2 WHR10449 |
C00320174
480132102068 |
drzak vyparniku pravy | 71 Kč
€ 2.90 |
||
| 746 4 WHR10449 |
C00319325
481246098055 |
Podpora koše mrazničky | 90 Kč
€ 3.70 |
||
| 762 0 WHR10449 |
C00312451
481248048172 |
ANTIBAKTERIÁLNÍ FILTR | Na dotaz | Zadat poptávku | |
| 764 0 WHR10449 |
C00266743
481948028144 |
Filtr chladničky - patrona Náhrada C00495431 |
Na dotaz | Zadat poptávku | |
| 781 1 WHR10449 |
C00319432
481217158005 |
Odtokový kanál - odmražení | 381 Kč
€ 15.70 |
||
| 783 0 WHR10449 |
C00313237
481281719208 |
VALVE, 1/4 BODY+TUBE 100MM | Na dotaz | Zadat poptávku | |
| 965 0 WHR10449 |
C00327084
481222608036 |
Plug Antracite | Na dotaz | Zadat poptávku | |
| 965 1 WHR10449 |
C00327077
481222608012 |
zaslepka | Na dotaz | Zadat poptávku | |
| 965 2 WHR10449 |
C00327083
481222608031 |
zaslepka | Na dotaz | Zadat poptávku | |